GM Service Manual Online
For 1990-2009 cars only
Makes
🢒
Chevrolet
🢒
2002
🢒
Corvette
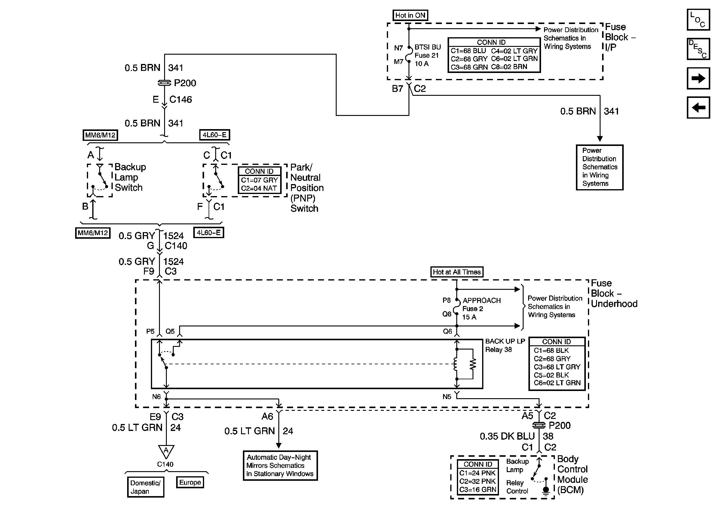
🢒 Backup Lamp Control
Backup Lamp Control
Backup Lamp Control
Master Electrical Component List
Exterior Lighting Systems Description and Operation
Backup Lamps (Domestic/Japan)
Rear Park Lamps (Export)
Backup Lamps (Domestic/Japan)
Backup Lamps (Europe)
Backup Lamp Signal
Instrument Panel Electrical Center Fuses 50, 14, 21, 22, 18, Relay 44, and the Ignition Switch (2 of 2)
Instrument Panel Electrical Center Fuses 50, 14, 21, 22, 18, Relay 44, and the Ignition Switch (2 of 2)
Underhood Electrical Center Bussing (1 of 2)