GM Service Manual Online
For 1990-2009 cars only
Makes
🢒
Chevrolet
🢒
2002
🢒
Corvette
🢒 Transmission Valve Controls
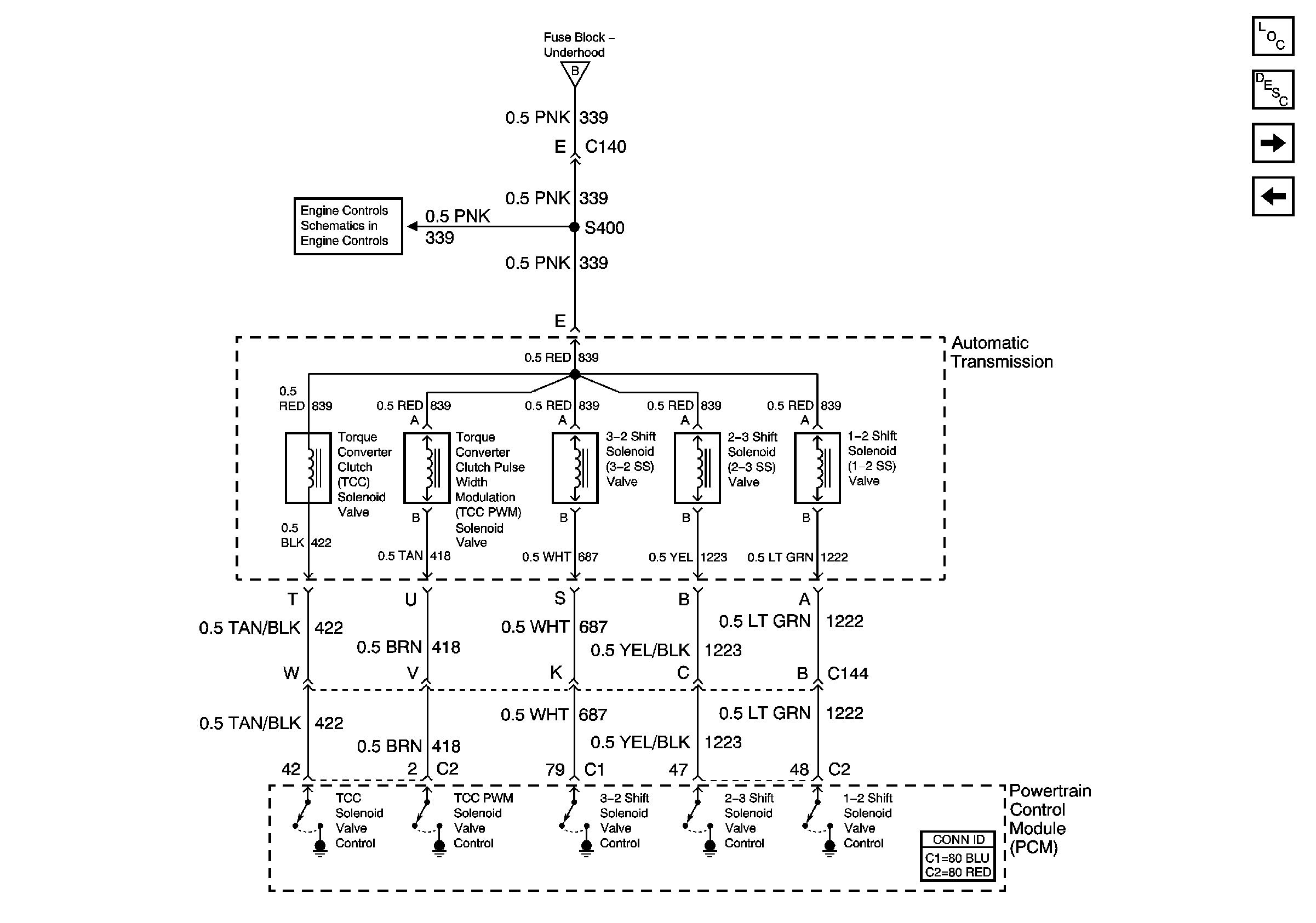
Transmission Valve Controls
Transmission Valve Controls
Master Electrical Component List
Transmission Component and System Description
Automatic Transmission Fluid Pressure (TFP) Manual Valve Position Switch and Pressure Control Solenoid (PC SOL) Valve
Torque Convertor Clutch (TCC) Control Switch
Fuel Controls - EVAP Controls
Torque Convertor Clutch (TCC) Control Switch