GM Service Manual Online
For 1990-2009 cars only
Figure 1:

Module Power, Ground, Serial Data and MIL


Object Number: 816047  Size: FS
Master Electrical Component List
Powertrain Control Module Description
Engine Data Senors - 5 Volt and Low Reference
Engine Controls Schematic Icons
Fuse Block-Underhood Bussing 1 of 2
G106 and G105
Star Connectors
Figure 2:

Engine Data Sensors -- 5 Volt and Low Reference


Object Number: 815637  Size: FS
Master Electrical Component List
Powertrain Control Module Description
Engine Data Sensors - Pressure, Temperature and VSS
Module Power, Ground, Serial Data and MIL
Engine Controls Schematic Icons
Figure 3:

Engine Data Sensors -- Pressure, Temperature and VSS


Object Number: 816077  Size: FS
Master Electrical Component List
Powertrain Control Module Description
Engine Data Sensors - MAF and Extended Brake Travel Switch
Engine Data Senors - 5 Volt and Low Reference
Engine Controls Schematic Icons
Power, Ground, Tachometer and Speedometer
Figure 4:

Engine Data Sensors -- MAF and Extended Brake Travel Switch


Object Number: 687902  Size: FS
Master Electrical Component List
Air Intake System Description
Engine Data Sensors - HO2S
Engine Data Sensors - Pressure, Temperature and VSS
Engine Controls Schematic Icons
Fuse Block-Underhood Fuses 14, 13, 16, 15, 5 and Relays 43, 44, 35 and 42
Fuse Block-Underhood Bussing (2 of 2)
Power, Ground and Stoplamp Switch
G106 and G105
Torque Converter Clutch (TCC) Control Switch
G106 and G105
Figure 5:

Engine Data Sensors -- HO2S


Object Number: 688019  Size: FS
Master Electrical Component List
Powertrain Control Module Description
Power, Ground, TAC Motor, Module and TP Sensor
Engine Data Sensors - MAF and Extended Brake Travel Switch
Engine Controls Schematic Icons
Fuse Block-Underhood Fuses 14, 13, 16, 15, 5 and Relays 43, 44, 35 and 42
G106 and G105
Figure 6:

Power, Ground TAC Motor, Module and TP Sensor


Object Number: 805973  Size: FS
Master Electrical Component List
Throttle Actuator Control (TAC) System Description
TAC Module, APP Sensor and Cruise Reference
Engine Data Sensors - HO2S
Engine Controls Schematic Icons
Fuse Block-Underhood Fuses 18, 17 and 22
G106 and G105
Figure 7:

TAC Module APP Sensor and Cruise Reference


Object Number: 805978  Size: FS
Master Electrical Component List
Throttle Actuator Control (TAC) System Description
Ignition Controls - Ignition System 1,3,5,7
Power, Ground, TAC Motor, Module and TP Sensor
Engine Controls Schematic Icons
Power, Ground and Stoplamp Switch
CruiseControl Switch,Throttle Actuator Control Motor and Cruise ControlRelease Switch
Figure 8:

Ignition Controls -- Ignition System 1,3,5,7


Object Number: 687872  Size: FS
Master Electrical Component List
Electronic Ignition (EI) System Description
Ignition Controls - Ignition System 2,4,6,8
TAC Module, APP Sensor and Cruise Reference
Engine Controls Schematic Icons
Fuse Block-Underhood Fuses 14, 13, 16, 15, 5 and Relays 43, 44, 35 and 42
G106 and G105
Fuse Block-Underhood Bussing (2 of 2)
Figure 9:

Ignition Controls -- Ignition System 2,4,6,8


Object Number: 687880  Size: FS
Master Electrical Component List
Electronic Ignition (EI) System Description
Ignition Controls - Ignition System Controls
Ignition Controls - Ignition System 1,3,5,7
Engine Controls Schematic Icons
Fuse Block-Underhood Fuses 14, 13, 16, 15, 5 and Relays 43, 44, 35 and 42
G106 and G105
Fuse Block-Underhood Bussing (2 of 2)
Figure 10:

Ignition Controls -- Ignition System Controls


Object Number: 687867  Size: FS
Master Electrical Component List
Electronic Ignition (EI) System Description
Ignition Controls - Sensors
Ignition Controls - Ignition System 2,4,6,8
Engine Controls Schematic Icons
Figure 11:

Ignition Controls -- Sensors


Object Number: 816051  Size: FS
Master Electrical Component List
Knock Sensor (KS) System Description
Fuel Controls - Fuel Pump Controls
Ignition Controls - Ignition System Controls
Engine Controls Schematic Icons
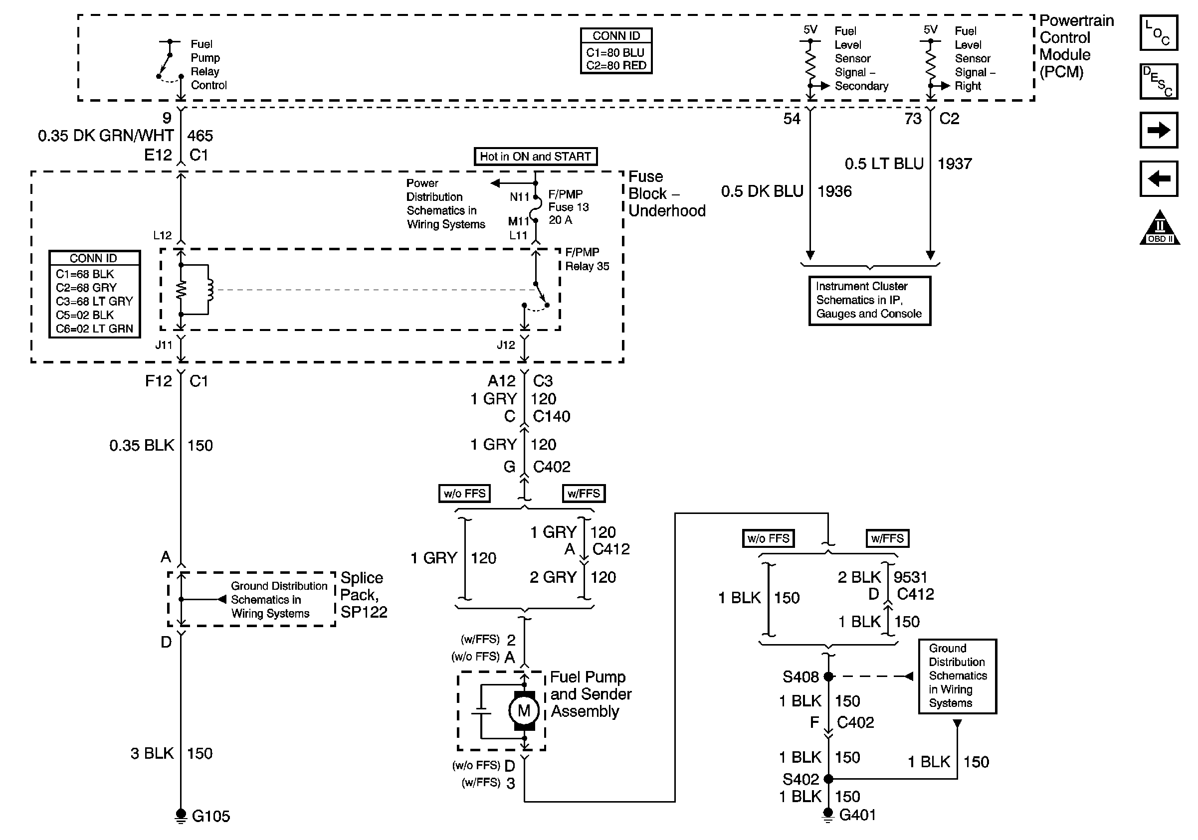
Figure 12:

Fuel Controls - Fuel Pump Controls


Object Number: 894435  Size: FS
Master Electrical Component List
Fuel System Description with FFS
Fuel Controls - Fuel Injectors 1,3,5,7
Ignition Controls - Sensors
Engine Controls Schematic Icons
Fuse Block-Underhood Fuses 14, 13, 16, 15, 5 and Relays 43, 44, 35 and 42
Temperature, Fuel and Oil Pressure Gauges
G106 and G105
G401
Figure 13:

Fuel Controls -- Fuel Injectors 1,3,5,7


Object Number: 687855  Size: FS
Master Electrical Component List
Fuel System Description with FFS
Fuel Controls - Fuel Injectors 2,4,6,8
Fuel Controls - Fuel Pump Controls
Engine Controls Schematic Icons
G106 and G105
Fuse Block-Underhood Fuses 14, 13, 16, 15, 5 and Relays 43, 44, 35 and 42
Fuse Block-Underhood Bussing (2 of 2)
Figure 14:

Fuel Controls -- Fuel Injectors 2,4,6,8


Object Number: 687853  Size: FS
Master Electrical Component List
Fuel System Description with FFS
Fuel Controls - Evap Controls
Fuel Controls - Fuel Injectors 1,3,5,7
Engine Controls Schematic Icons
G106 and G105
Fuse Block-Underhood Fuses 14, 13, 16, 15, 5 and Relays 43, 44, 35 and 42
Fuse Block-Underhood Bussing (2 of 2)
Figure 15:

Fuel Controls -- EVAP Controls


Object Number: 894434  Size: FS
Master Electrical Component List
Evaporative Emission Control System Description
Device Controls
Fuel Controls - Fuel Injectors 2,4,6,8
Engine Controls Schematic Icons
Fuse Block-Underhood Fuses 14, 13, 16, 15, 5 and Relays 43, 44, 35 and 42
Fuse Block-Underhood Bussing (2 of 2)
G106 and G105
Transmission Valve Controls
Solenoid Controls and TFT Sensor
Temperature, Fuel and Oil Pressure Gauges
Figure 16:

Device Controls


Object Number: 816074  Size: FS
Master Electrical Component List
Secondary Air Injection System Description
Controlled/Monitored Subsystem References
Fuel Controls - Evap Controls
Engine Controls Schematic Icons
Fuse Block-Underhood Bussing (2 of 2)
Fuse Block-Underhood Fuses 14, 13, 16, 15, 5 and Relays 43, 44, 35 and 42
Fuse Block-Underhood Bussing (2 of 2)
G101 and G102
G106 and G105
Figure 17:

Controled/Monitored Subsystem References


Object Number: 815683  Size: FS
Master Electrical Component List
Powertrain Control Module Description
Transmission Controls - PNP Switch
Device Controls
Engine Controls Schematic Icons
ESC and Traction/Suspension Control Switch
CruiseControl Switch,Throttle Actuator Control Motor and Cruise ControlRelease Switch
Temperature, Fuel and Oil Pressure Gauges
Traction Control Request, DLC, Torque and Steering Position Signals
Generator
Engine Cooling Schematic
Compressor Controls
CompressorControls
Compressor Controls
Figure 18:

Transmission Controls - PNP Switch


Object Number: 688025  Size: FS
Master Electrical Component List
Powertrain Control Module Description
Transmission Controls - M/T and A/T
Controlled/Monitored Subsystem References
Engine Controls Schematic Icons
G104
G104
Figure 19:

Transmission Controls -- M/T and A/T


Object Number: 688035  Size: FS
Master Electrical Component List
Powertrain Control Module Description
Transmission Controls - PNP Switch
Engine Controls Schematic Icons
Transmission Valve Controls
Torque Converter Clutch (TCC) Control Switch
Solenoid Controls and TFT Sensor
Automatic Transmission Fluid Pressure (TFP) Manual Valve Position Switch and Pressure Control Solenoid (PC Sol) Valve
Solenoid Controls and TFT Sensor