GM Service Manual Online
For 1990-2009 cars only
Makes
🢒
Chevrolet
🢒
2004
🢒
Corvette
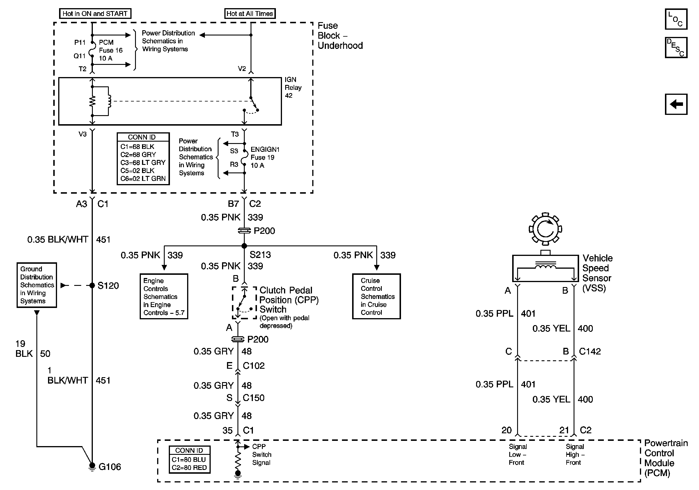
🢒 Clutch Pedal Position (CPP) Switch and Vehicle Speed Sensor (VSS)
Clutch Pedal Position (CPP) Switch and Vehicle Speed Sensor (VSS)
Clutch Pedal Positon (CPP) Switch and Vehicle Speed Sensor (VSS)
Master Electrical Component List
Manual Transmission Description and Operation
Solenoid Controls and TFT Sensor
Fuse Block-Underhood Bussing (2 of 2)
Fuse Block-Underhood Fuses 14, 13, 16, 15, 5 and Relays 43, 44, 35 and 42
G106 and G105
Engine Data Sensors - Pressure, Temperature and VSS
Power, Ground and Stoplamp Switch