GM Service Manual Online
For 1990-2009 cars only
Makes
🢒
Chevrolet
🢒
2005
🢒
Corvette
🢒
Suspension
🢒
Tire Pressure Monitoring
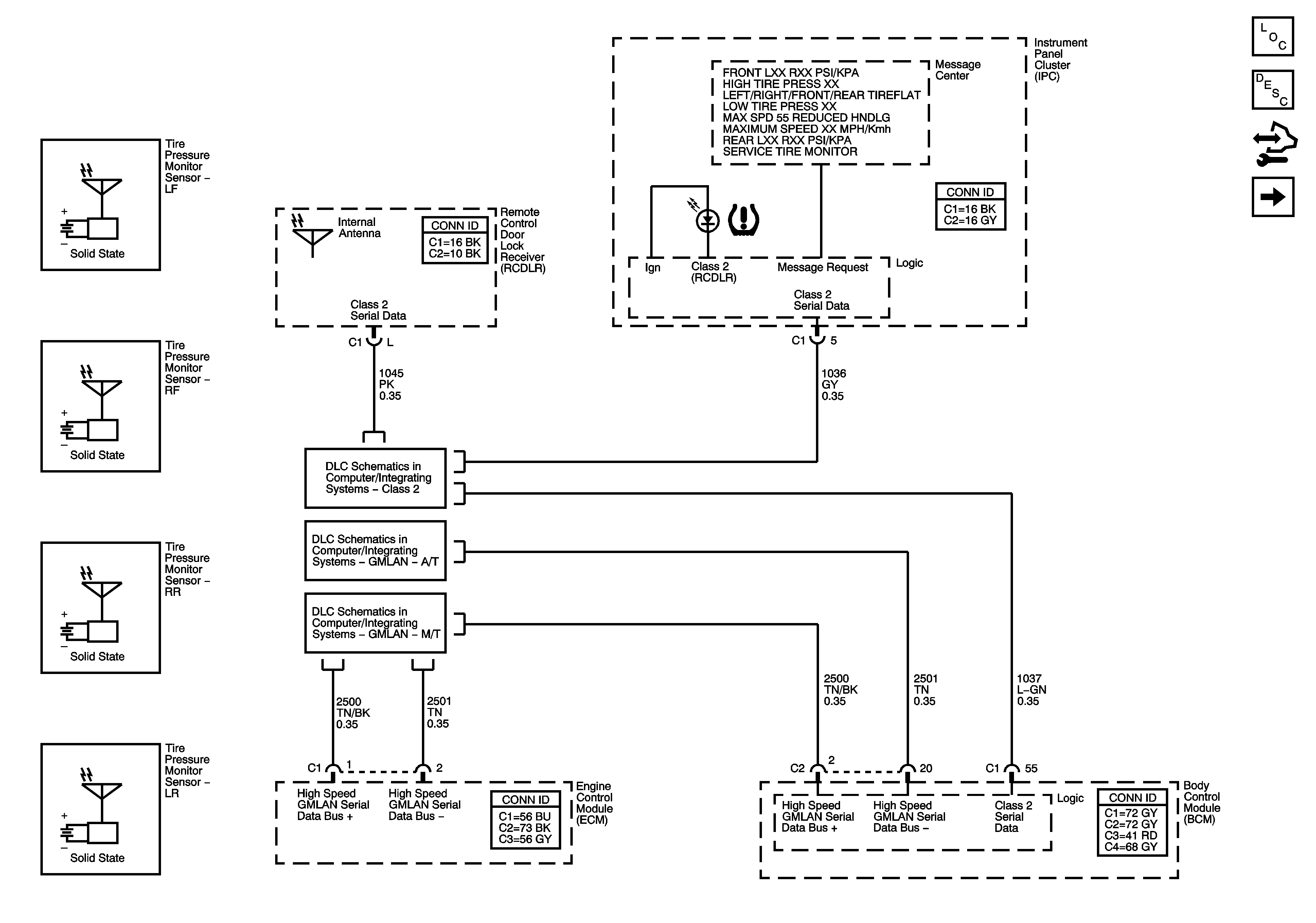
🢒 Tire Pressure Monitoring System Schematics
Figure
1:
Except Japan
Master Electrical Component List
Tire Pressure Monitor Description and Operation
Control Module References
Japan
Class 2
GMLAN - A/T
GMLAN - M/T
Figure
2:
Japan
Master Electrical Component List
Tire Pressure Monitor Description and Operation
Control Module References
Except Japan
Wheel Speed Sensors
GMLAN - A/T
GMLAN - M/T
Class 2