GM Service Manual Online
For 1990-2009 cars only

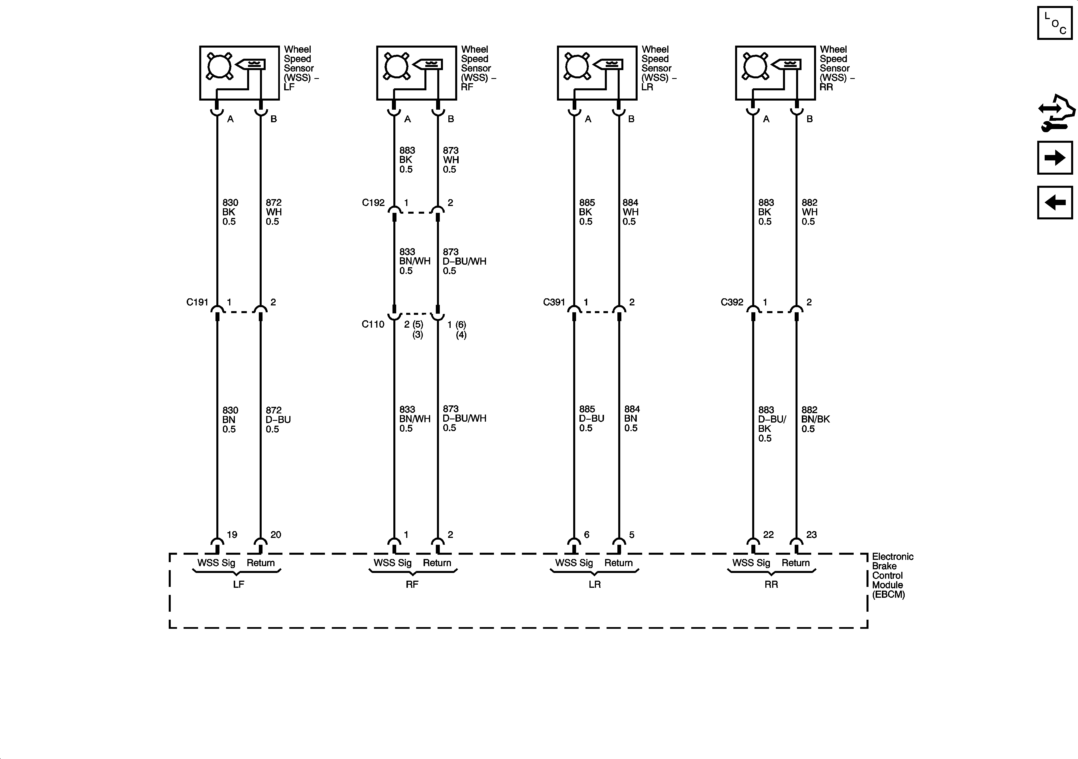
Wheel Speed Sensors

Wheel Speed Sensors


Object Number: 1672531  Size: FS
Master Electrical Component List
Serial Data, CAN Resistor, Oil Feeding Connector
EBCM, Power, Ground, Indicator Lamps, Stop Lamp Switch, Traction Control Switch