GM Service Manual Online
For 1990-2009 cars only
Makes
🢒
Chevrolet
🢒
1997
🢒
Express
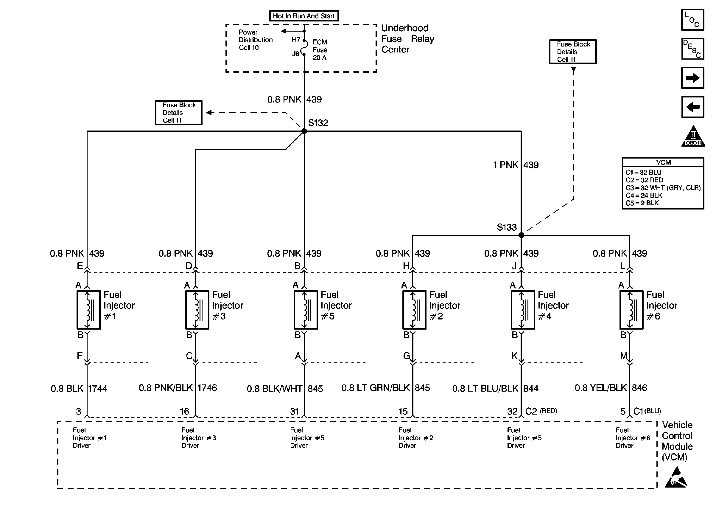
🢒 Fuel Injector Controls
Fuel Injector Controls
Fuel Injection Controls
Engine Controls Components
Information Sensors 4.3L, 5.0L
Sensor Controls
Fuel Pump Controls
OBD II Symbol Description Notice