GM Service Manual Online
For 1990-2009 cars only

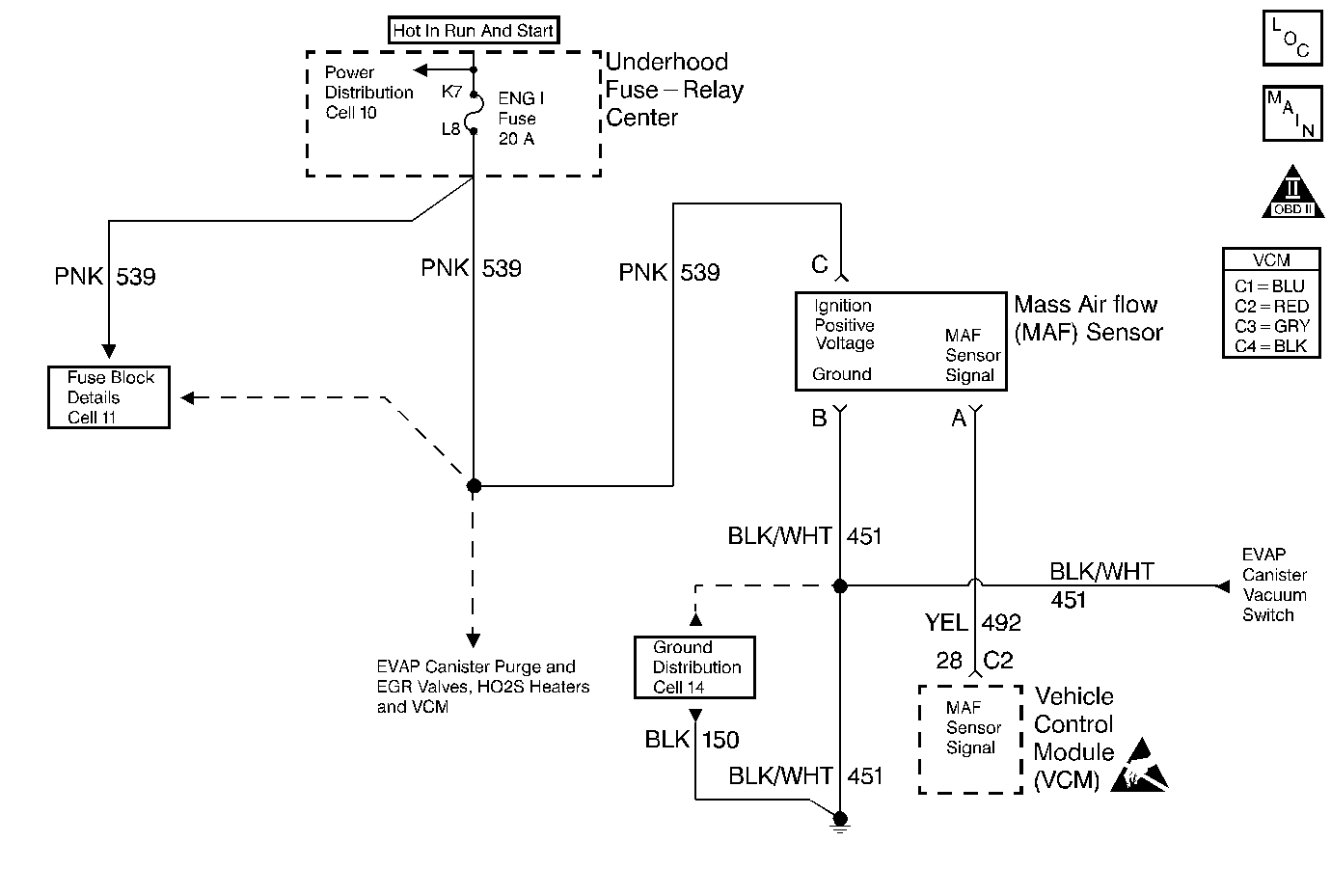
Object Number: 58176  Size: MF
Engine Controls Components
Engine Controls Schematics
OBD II Symbol Description Notice
Handling ESD Sensitive Parts Notice

Circuit Description

The Mass Air Flow (MAF) sensor measures the amount of air entering the engine during a given time. The VCM uses the Mass Air Flow information for fuel delivery calculations. A large quantity of air entering the engine indicates an acceleration or high load situation, while a small quantity of air indicates deceleration or idle.

The MAF sensor produces a frequency signal which can be monitored with a scan tool. The frequency varies within a range of around 5 to 7 g/s at idle to near 125 g/s at maximum engine load.This DTC is a type A DTC.

Conditions for Setting the DTC

Low Frequency Test

    • The engine is running
    • Engine run time is greater than 2 seconds
    • System voltage is at least 8 volts
    • Above conditions present for over 2 seconds
    • The signal from the MAF sensor measures below the possible range of a normally operating MAF sensor

Action Taken When the DTC Sets

    • The VCM illuminates the Malfunction Indicator Lamp (MIL) the first time the fault is detected.
    • The VCM calculates an airflow value based on the Idle Air Control (IAC) valve position, throttle position, engine speed and barometric pressure.
    • The VCM stores the conditions which were present when the DTC set as Freeze Frame and the Fail Records data.

Conditions for Clearing the MIL or DTC

    • The control module turns OFF the MIL after 3 consecutive drive trips when the test has run and passed.
    • A history DTC will clear if no fault conditions have been detected for 40 warm-up cycles. A warm-up cycle occurs when the coolant temperature has risen 22°C (40°F) from the startup coolant temperature and the engine coolant reaches a temperature that is more than 70°C (158°F) during the same ignition cycle.
    • Use a scan tool in order to clear the DTCs.

Diagnostic Aids

Check for the following conditions:

    • A poor connection at the VCM. Inspect harness connectors for the following conditions:
       - Backed out terminals
       - Improper mating
       - Broken locks
       - Improperly formed or damaged terminals
       - Poor terminal to wire connection
    • A misrouted harness. Inspect the MAF sensor harness in order to ensure that it is not routed too close to high voltage wires such as spark plug leads.
    • A damaged harness. Inspect the wiring harness for damage. If the harness appears to be OK, observe the scan tool while moving the connectors and the wiring harnesses related to the MAF sensor. A change in the display indicates the location of the fault.
    • A plugged intake air duct or filter element. A wide open throttle acceleration from a stop should cause the Mass Air Flow displayed on a scan tool to increase from about 4-7 g/s at idle to 100 g/s or greater at the time of the 1-2 shift. If not, check for a restriction.

Test Description

The numbers below refer to step numbers on the diagnostic table.

  1. This step verifies that the problem is present at idle.

  2. A voltage reading of less than 4 or over 6 volts at the MAF sensor signal circuit indicates a fault in the wiring or a poor connection

  3. This step verifies that the ignition feed voltage and a good ground are available at the MAF sensor.

  4. This step determines if the fuse is open. If the fuse is open, locate and repair the short to ground in the Ignition Positive Voltage circuit. Refer to

  5. This vehicle is equipped with a VCM. The VCM utilizes an Electricity Erasable Programmable Read Only Memory (EEPROM). When the VCM is being replaced, reprogram the VCM. Refer to Fuse Block Details in Section 8A.VCM Replacement/Programming (With KS Calibration PROM) .

Step

Action

Value(s)

Yes

No

1

Important: Before clearing the DTCs, use the scan tool in order to record the Freeze Frame and the Failure Records for reference. This data will be lost when the Clear DTC Information function is used.

Was the Powertrain On-Board Diagnostic (OBD) System Check performed?

--

Go to Step 2

Go to Powertrain On Board Diagnostic (OBD) System Check

2

  1. Start the engine.
  2. With the engine idling, monitor the MAF reading on the scan tool.

Is the MAF reading below the specified value?

2 g/s

Go to Step 4

Go to Step 3

3

  1. Turn ON the ignition leaving the engine OFF.
  2. Review the scan tool Failure Records data.
  3. Record the scan tool Failure Records data.
  4. Operate vehicle within the Failure Records conditions as noted.
  5. Using a scan tool, monitor the Specific DTC information for DTC P0102.

Does the scan tool indicate DTC P0102 Failed This Ignition?

--

Go to Step 4

Go to Diagnostic Aids

4

Inspect the MAF Ignition Positive Voltage Fuse.

Is the fuse open?

--

Go to Step 11

--

5

  1. Check for the following conditions:
  2. • Objects blocking the MAF sensor inlet screen
    • Vacuum leaks in the
       • Intake manifold
       • Throttle body
       • EGR valve flange and pipes
       • MAP sensor seal
       • EVAP canister purge valve seal
       • Fuel meter body seal
    • The crankcase ventilation valve for being faulty, missing or incorrectly installed.
  3. If a problem is found, repair as necessary.

Was a problem found?

--

Go to Step 16

Go to Step 6

6

  1. Turn OFF the ignition.
  2. Disconnect the MAF sensor connector.
  3. Turn ON the ignition leaving the engine OFF.
  4. Using a DVM, measure the voltage between the MAF signal circuit and battery ground.

Is the voltage near the specified value?

5.0 V

Go to Step 7

Go to Step 10

7

Connect a test lamp between the MAF sensor ignition feed and ground circuits at the MAF sensor harness connector.

Is the test lamp ON?

--

Go to Step 9

Go to Step 8

8

Connect a test lamp between the MAF sensor ignition feed circuit and the battery ground.

Is the test lamp ON?

--

Go to Step 12

Go to Step 13

9

Check for a poor connection at the MAF sensor.

If a poor connection is found, replace faulty terminals. Refer to wiring repairs in Engine Electrical.

Was a poor connection found?

--

Go to Step 16

Go to Step 14

10

  1. Check the MAF signal circuit between the VCM and the MAF sensor for an open, short to ground, short to the MAF ground circuit, or short to voltage.
  2. If the MAF signal circuit is open or shorted, repair it as necessary. Refer to Wiring Repairs in Engine Electrical.

Was the MAF signal circuit open or shorted?

--

Go to Step 16

Go to Step 15

11

  1. Check for a short to ground in the MAF Ignition Positive Voltage circuit. Repair as necessary.
  2. Replace the open fuse.

Is the action complete?

--

Go to Step 16

--

12

  1. Locate the open in the ground circuit to the MAF sensor.
  2. Repair the open in the ground circuit to the MAF sensor. Refer to Wiring Repairs in Engine Electrical.

Is the action complete?

--

Go to Step 16

--

13

  1. Locate the open in the ignition feed circuit to the MAF sensor.
  2. Repair the open in the ignition feed circuit to the MAF sensor. Refer to Wiring Repairs in Engine Electrical.

Is the action complete?

--

Go to Step 16

--

14

Replace the MAF sensor. Refer to MAF Sensor Replacement .

Is the action complete?

--

Go to Step 16

--

15

Replace the VCM.

Important:  When replacing the VCM, the new VCM will need to be programmed. Refer to VCM Replacement/Programming (With KS Calibration PROM) .

Is the action complete?

--

Go to Step 16

--

16

  1. Use the scan tool in order to select the DTC and the Clear DTC Information functions.
  2. Start the Engine.
  3. Allow the engine to Idle until the normal operating temperature is reached.
  4. Select the DTC and the Specific DTC functions.
  5. Enter the DTC number which was set.
  6. Operate the vehicle within the conditions for setting this DTC as specified in the supporting text.

Does the scan tool indicate that this diagnostic ran and passed?

--

Go to Step 17

Go to Step 2

17

Use the scan tool in order to display the Capture Info and the Review Capture Info functions.

Are there any DTCs displayed that have not been diagnosed?

--

Go to Applicable DTC Tables

System OK