GM Service Manual Online
For 1990-2009 cars only
Makes
🢒
Chevrolet
🢒
1998
🢒
Express
🢒 99 x130 Entertainment Cell 150
99 x130 Entertainment Cell 150
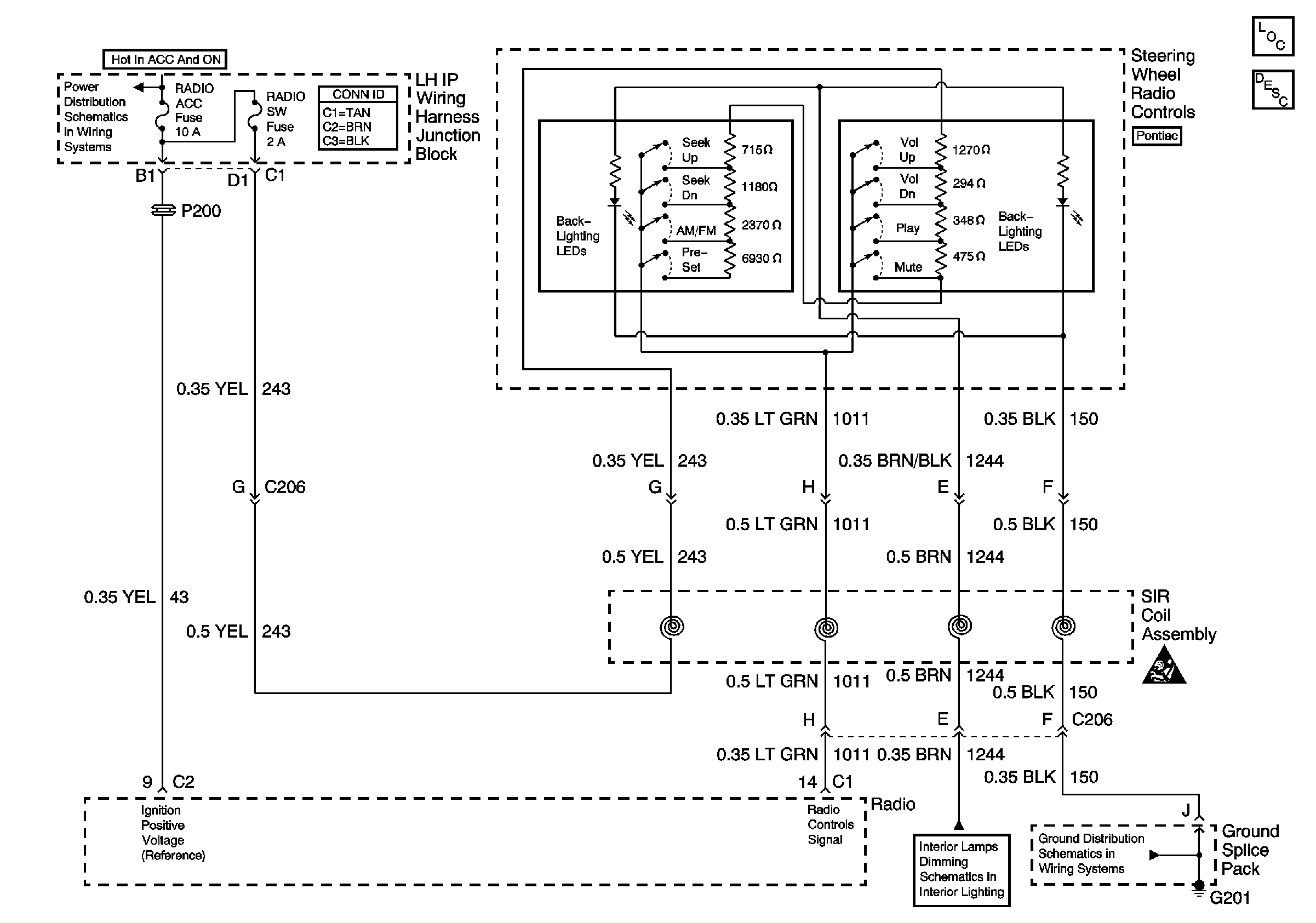
Cell 150: Radio Controls
Entertainment Components
Radio/Audio System Description
Cell 150: W/UQ3
Ground Distribution Schematics
Interior Lights Dimming Schematics
Power Distribution Schematics
SIR Handling Caution