GM Service Manual Online
For 1990-2009 cars only

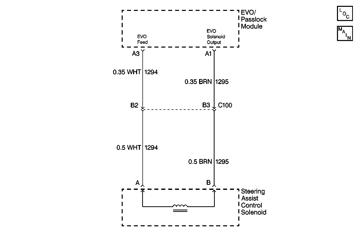
Object Number: 493256  Size: MF
Steering Controls Components
Variable Effort Steering

Circuit Description

The EVO/Passlock™ module supplies a 0-850 milliamperes pulse width modulation (PWM) (percent duty cycle) to the power steering solenoid actuator. This current is used in order to extend or retract the actuator valve inside the solenoid. This in turn will regulate an orifice on the power steering pump, causing a modulation of the fluid flow output. This results in an increase or a decrease in the steering wheel effort. With 0 milliampere supplied to the power steering solenoid actuator, the valve will be fully retracted, providing a maximum fluid flow and power steering assist. With 850 milliamperes supplied to the power steering solenoid actuator, the valve will extend, decreasing the fluid flow and minimizing the power steering assist. The EVO/Passlock™ module is constantly adjusting the current flow to the power steering solenoid actuator based on the vehicle speed and the rate of change of the steering wheel position. This provides the vehicle speed-related power steering assist.

Conditions for Setting the DTC

  1. CKT 1294 (WHT) has a short to voltage.
  2. The ignition is cycled to the OFF position and then to the ON position.
  3. The above conditions are present for one second or longer.

Action Taken When The DTC Sets

The EVO/Passlock™ module will not send any current to the power steering solenoid actuator. This will cause the retraction of the power steering solenoid actuator valve, providing maximum fluid flow and full power steering assist at all times.

Conditions For Clearing The DTC

    • A history DTC will clear after 100 consecutive ignition cycles have occurred without a fault.
    • The history and the current DTC can be cleared by using the scan tool.

Diagnostic Aids

    • The cause of an intermittent problem may be a poor connection, a break in the wire insulation exposing the internal wire, or a wire that is broken inside the insulation.
    • Thoroughly check the EVO/Passlock™ module and the vehicle control module (VCM) or the powertrain control module (PCM) for terminals that have backed out, broken locks, improperly formed or damaged terminals, weak terminal retaining tension, or improper routing.
    • The power steering solenoid actuator valve may be stuck. This provides incalculable power steering assist. For mechanical diagnosis, refer to Power Steering Gear and Pump.

Test Description

The number(s) below refer to the step number(s) on the diagnostic table.

  1. This step ensures that the Variable Effort Steering System Check is performed.

  2. This step checks for a short to the voltage in the WHT (1294) wire with the EVO/Passlock™ module disconnected.

  3. This steps checks the PS solenoid actuator harness for a short to the voltage with the actuator disconnected. If voltage is indicator, the WHT (1294) wire has a short to the voltage.

Step

Action

Value(s)

Yes

No

1

Was the Variable Effort Steering System Check performed?

--

Go to Step 2

Go to Variable Effort Steering System Check

2

  1. Turn the ignition switch to the OFF position.
  2. Disconnect the 16-way EVO/Passlock™ module connector.
  3. Turn the ignition switch to the ON position.
  4. Using a digital multimeter (DMM), measure the voltage between EVO/Passlock™ module connector (harness side) terminal A3 to ground.

Does the voltmeter display a voltage greater than the specified value?

1.0 V

Go to Step 3

Go to Step 7

3

  1. Turn the ignition switch to the OFF position.
  2. Disconnect the PS solenoid actuator connector.
  3. Turn the ignition switch to the ON position.
  4. At the PS solenoid actuator connector (harness side), measure the voltage between terminal A and the ground.

Does the DMM display a voltage greater than the specified value?

1.0 V

Go to Step 5

Go to Step 4

4

  1. Turn the ignition switch to the OFF position.
  2. Using a DMM, measure the resistance between terminal A and terminal B.

Does the DMM display resistance values within the specified range?

7-15 ohms

Go to Step 7

Go to Step 6

5

Locate and repair the short to the voltage in the WHT (1294) wire.

Is the repair complete?

--

Go to Step 9

--

6

Replace the PS solenoid actuator connector. Refer to Power Steering Solenoid Actuator and Discharge Fitting Replacement .

Is the repair complete?

--

Go to Step 9

--

7

  1. Check the PS solenoid actuator connector and harness for an intermittent short to the voltage.
  2. Check for an intermittent short to the voltage on the WHT (1294) wire.

Did you find a problem?

--

Go to Step 5

Go to Step 8

8

Replace the EVO/Passlock™ module. Refer to Theft Deterrent Module Replacement .

Is the repair complete?

--

Go to Variable Effort Steering System Check

--

9

  1. Turn the ignition switch to the OFF position.
  2. Install the removed connectors and components.
  3. Clear the DTCs.

Is the repair complete?

--

Go to Variable Effort Steering System Check

Go to Diagnostic Aids