GM Service Manual Online
For 1990-2009 cars only
Figure 1:

Cell 150: PWR and Front Speakers


Object Number: 344175  Size: FS
Entertainment Components
Radio/Audio System Circuit Description
Cell 150: Rear Speakers
Cell 10: Ignition Switch, RR BLOWER, RR HVAC, BRAKE, HTR AC, CRUISE, RADIO, WIPER, PWR WDO, TRANS, CRANK Fuses
Cell 10: HTD MIR, HAZARD, PWR ACCY, STOP, PWR AUX, CIG LTR, RADIO-B, CTSY, PARK LPS, DRL, SECURITY STRG, ILLUM Fuses
Cell 11: SECURITY STRG, PARK LPS, PWR WDO, WIPER, RADIO-I Fuses, R208
Cell 151
Cell 11: ILLUM Fuse
Handling ESD Sensitive Parts Notice
Figure 2:

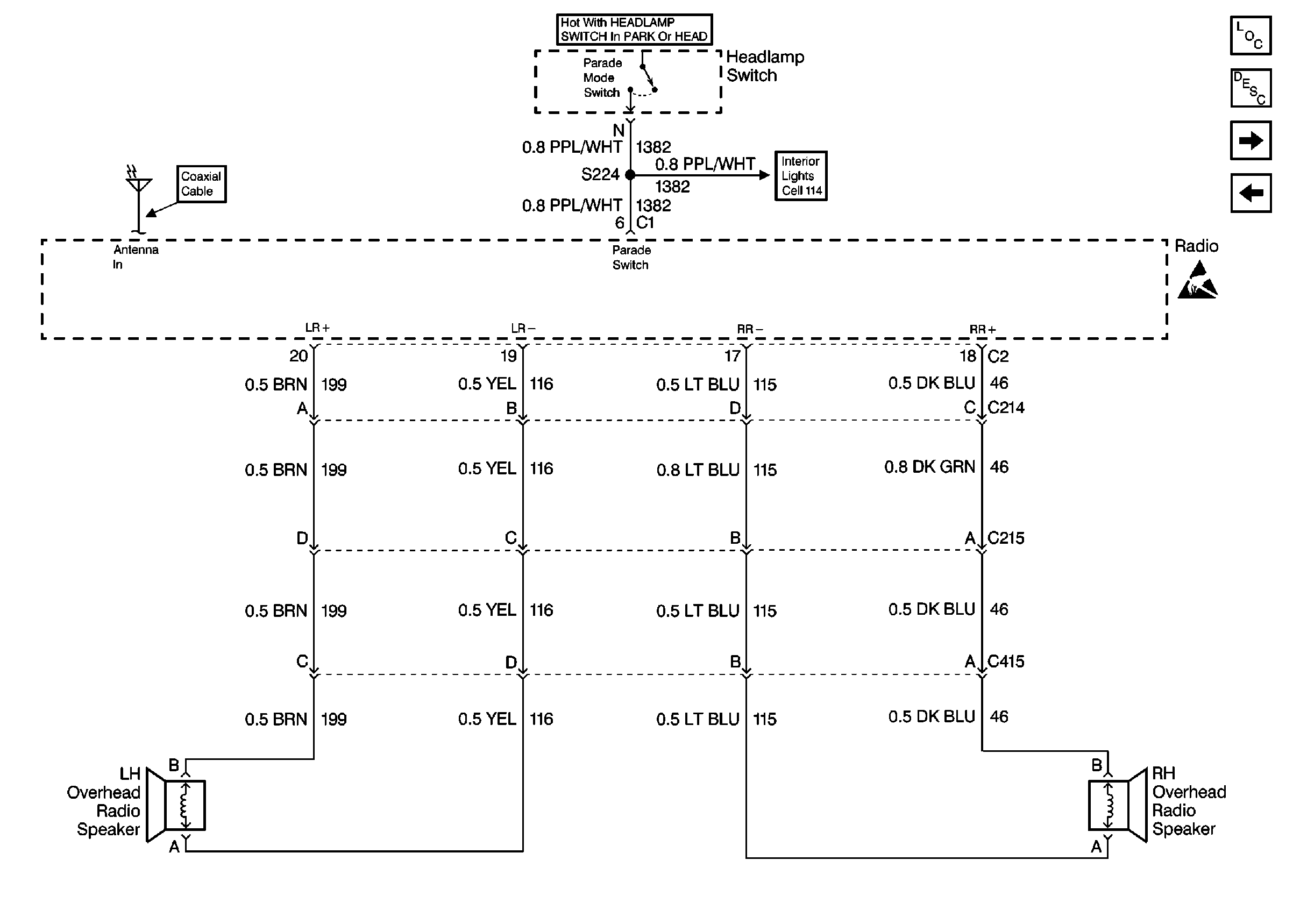
Cell 150: Rear Speakers


Object Number: 344178  Size: FS
Entertainment Components
Radio/Audio System Circuit Description
Cell 150: Rear Speakers with Upfitter Provisions
Cell 150: PWR and Front Speakers
Cell 114: IP Compartment Lamp, Ashtray Lamp, Sunshade Mirror Lamps,G101, G201
Handling ESD Sensitive Parts Notice
Figure 3:

Cell 150: Rear Speakers with Upfitter Provisions


Object Number: 344179  Size: FS
Entertainment Components
Radio/Audio System Circuit Description
Cell 150: Power Antenna, Remote Compact Disc Player, and Speed Compensated Volume
Cell 150: Rear Speakers
Cell 114: IP Compartment Lamp, Ashtray Lamp, Sunshade Mirror Lamps,G101, G201
Handling ESD Sensitive Parts Notice
Figure 4:

Cell 150: Power Antenna, Remote Compact Disc Player, and Speed Compensated Volume


Object Number: 344181  Size: FS
Entertainment Components
Radio/Audio System Circuit Description
Cell 150: Rear Speakers with Upfitter Provisions
Handling ESD Sensitive Parts Notice
Handling ESD Sensitive Parts Notice
Handling ESD Sensitive Parts Notice
Handling ESD Sensitive Parts Notice
Handling ESD Sensitive Parts Notice
Handling ESD Sensitive Parts Notice
Cell 14: G201