GM Service Manual Online
For 1990-2009 cars only
Makes
🢒
Chevrolet
🢒
1999
🢒
Express
🢒 EVAP, EGR and MAF Sensor Controls
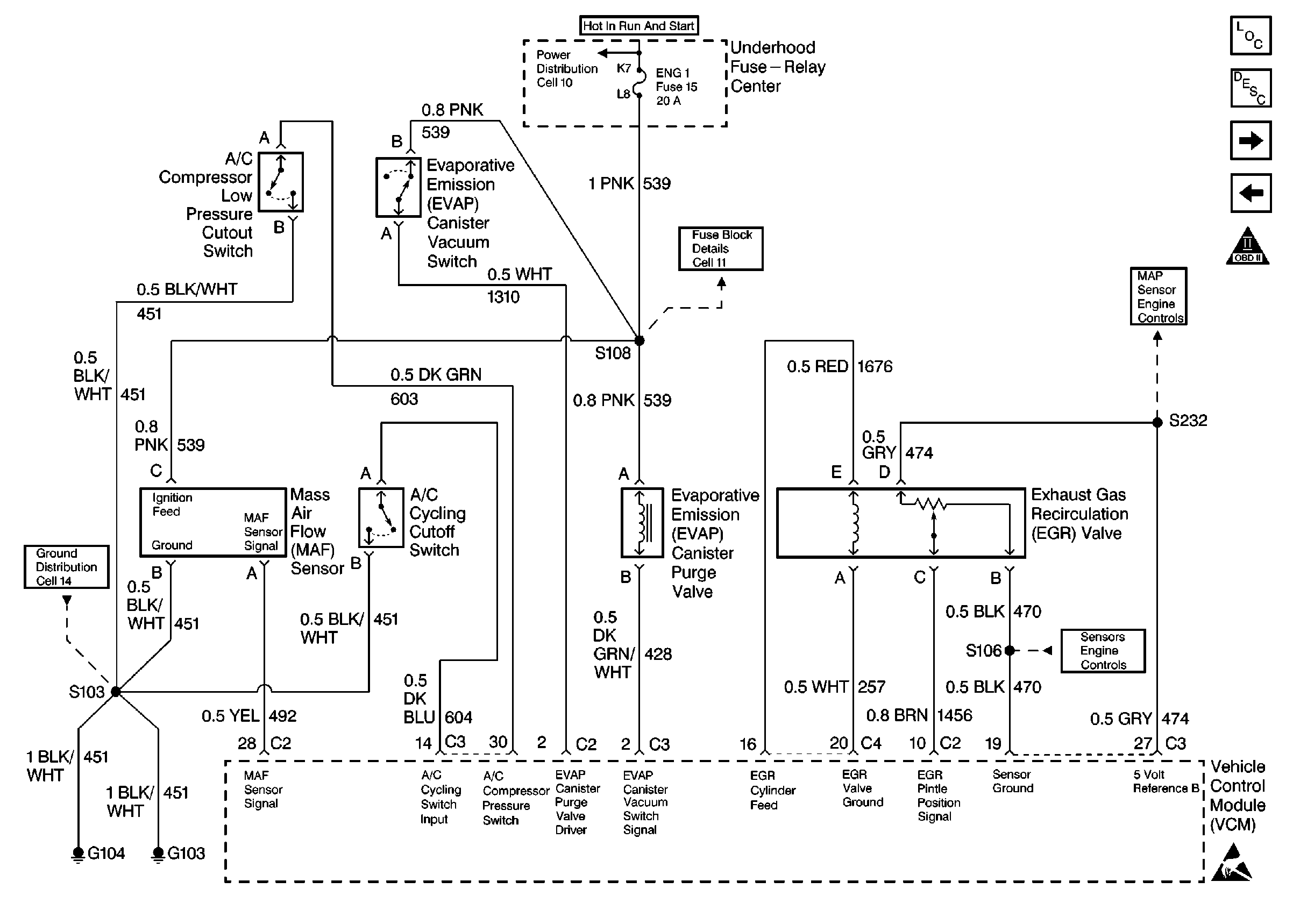
EVAP, EGR and MAF Sensor Controls
EVAP and EGR Controls
Engine Controls Components
Information Sensors/Switches Description
HO2S Controls
Fuel Injector Controls
OBDII Symbol Description Notice