GM Service Manual Online
For 1990-2009 cars only
Makes
🢒
Chevrolet
🢒
1999
🢒
Express
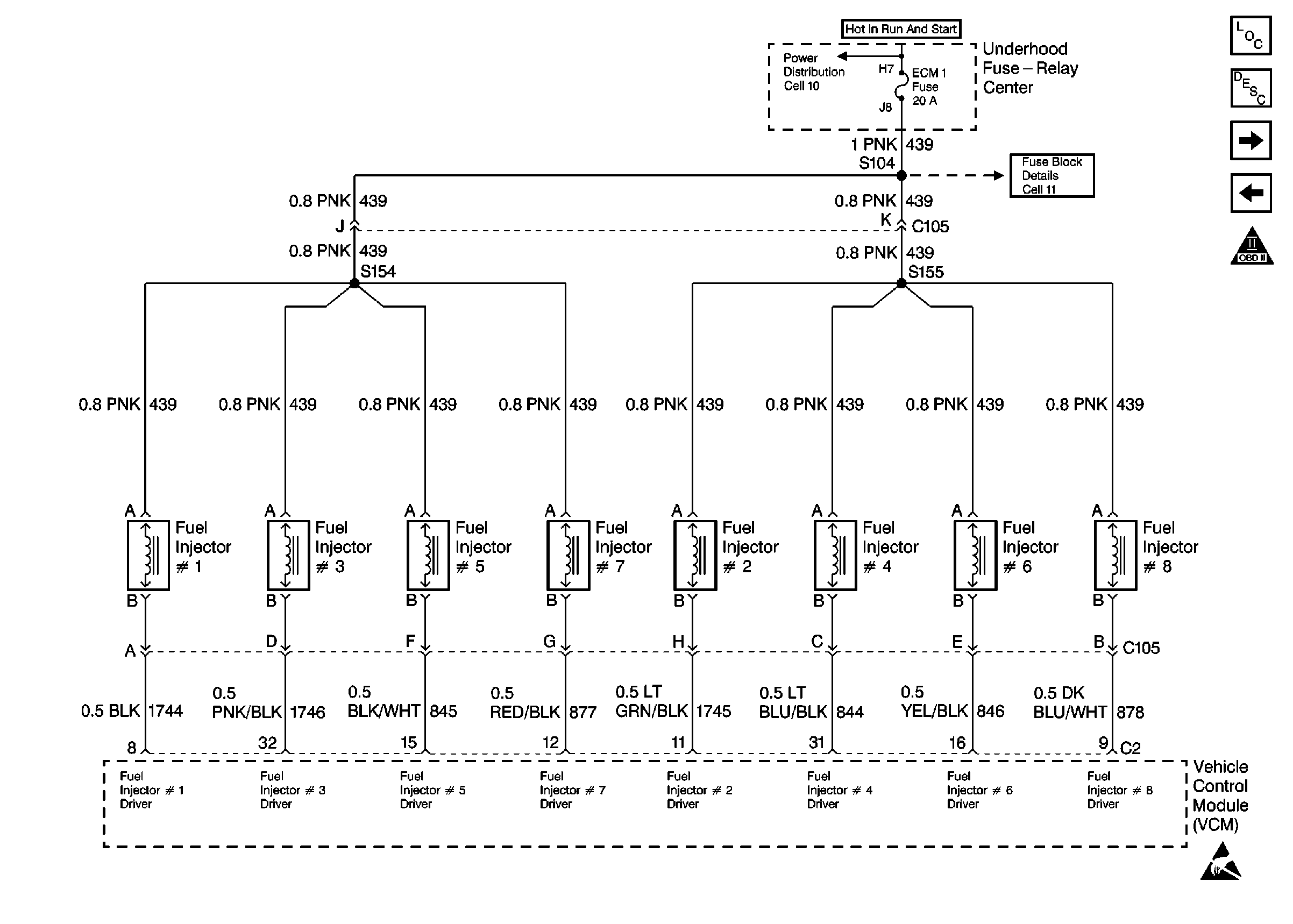
🢒 Fuel Injector Controls
Fuel Injector Controls
Fuel Injector Controls
Engine Controls Components
Information Sensors/Switches Description
EVAP, EGR and MAF Sensor Controls
Fuel Pump Controls
OBDII Symbol Description Notice