GM Service Manual Online
For 1990-2009 cars only
Makes
🢒
Chevrolet
🢒
1999
🢒
Express
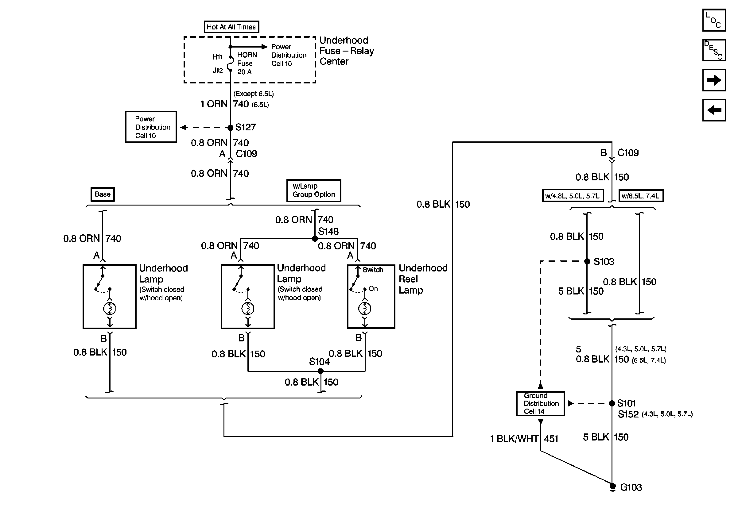
🢒 Cell 114: HORN Fuse, Underhood Lamp, Underhood Reel Lamp, G103
Cell 114: HORN Fuse, Underhood Lamp, Underhood Reel Lamp, G103
Cell 114: HORN Fuse, Underhood Lamp, Underhood Reel Lamp, G103
Lighting Systems Components Domestic
Cell 114: Stepwell Lamps
Power Distribution Schematics Domestic
Ground Distribution Schematics Domestic