GM Service Manual Online
For 1990-2009 cars only
Makes
🢒
Chevrolet
🢒
1999
🢒
Express
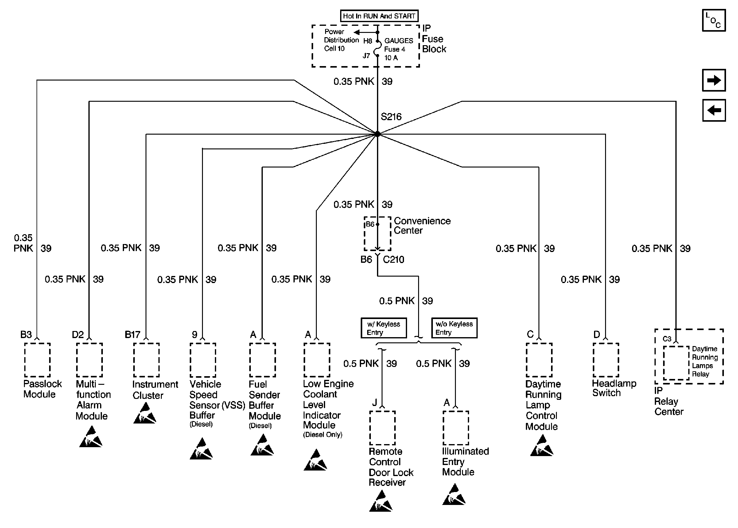
🢒 Cell 11: GAUGES Fuse
Cell 11: GAUGES Fuse
Cell 11: GAUGES Fuse
Power and Grounding Components
Cell 11: SECURITY STRG, PARK LPS, PWR WDO, WIPER, RADIO-I Fuses, R208
Cell 11: RR HVAC Fuse
Power Distribution Schematics Domestic
Handling ESD Sensitive Parts Notice
Handling ESD Sensitive Parts Notice
Handling ESD Sensitive Parts Notice
Handling ESD Sensitive Parts Notice
Handling ESD Sensitive Parts Notice
Handling ESD Sensitive Parts Notice
Handling ESD Sensitive Parts Notice
Handling ESD Sensitive Parts Notice