GM Service Manual Online
For 1990-2009 cars only
Makes
🢒
Chevrolet
🢒
1999
🢒
Express
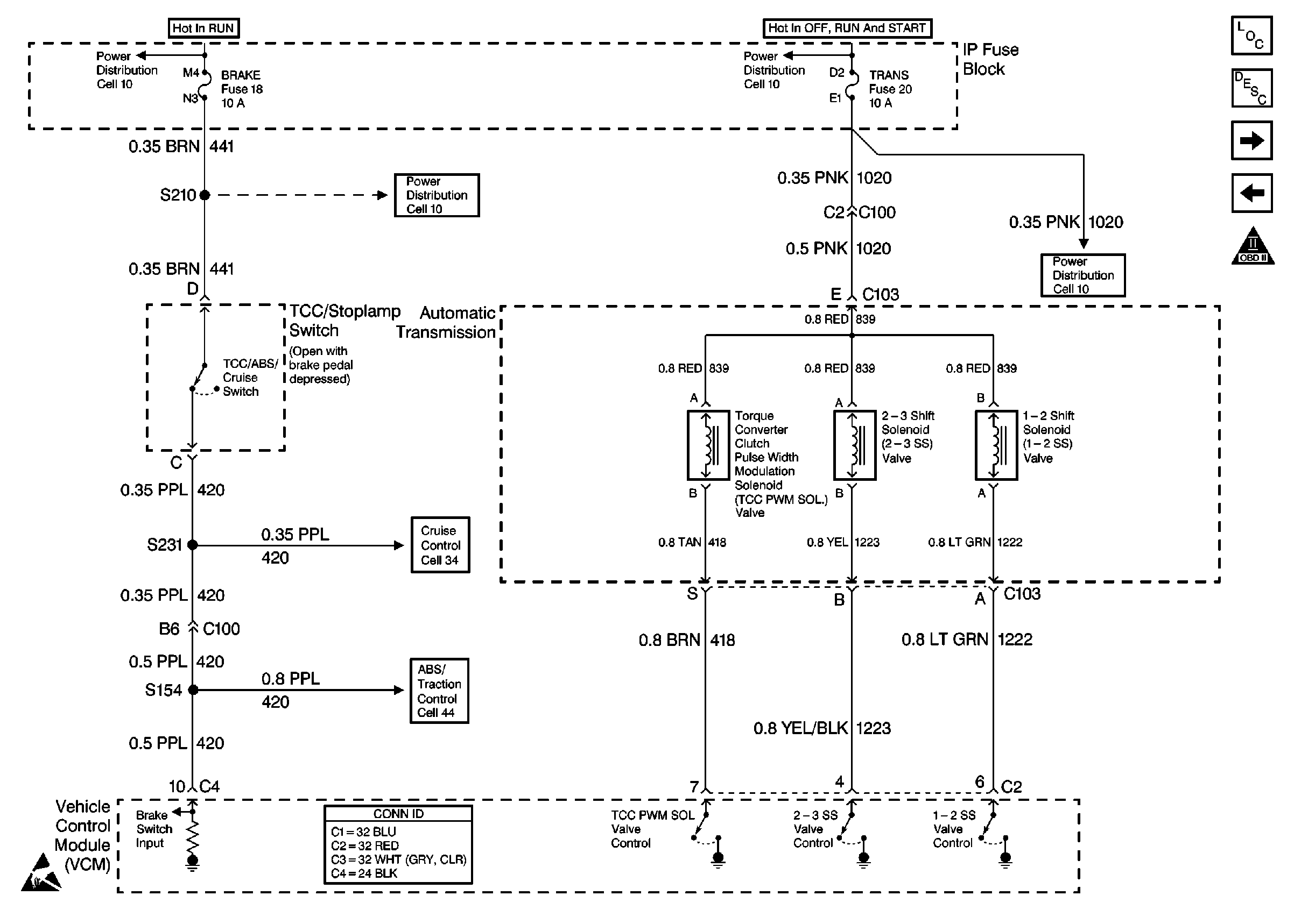
🢒 Cell 23: 4L80-E Transmission Solenoid Controls
Cell 23: 4L80-E Transmission Solenoid Controls
Cell 23: 4L80-E Transmission Solenoid Controls
Engine Controls Components
Information Sensors/Switches Description
Cell 23: 4L80-E Transmission Switch Controls
Cell 23: Secondary AIR Controls
OBD II Symbol Description Notice
Cell 10: Ignition Switch, RR BLOWER, RR HVAC, BRAKE, HTR AC, CRUISE, RADIO, WIPER, PWR WDO, TRANS, CRANK Fuses
Cell 10: Ignition Switch, RR BLOWER, RR HVAC, BRAKE, HTR AC, CRUISE, RADIO, WIPER, PWR WDO, TRANS, CRANK Fuses
Cell 11: CRANK, CRUISE, HTR-A/C, BRAKE Fuses
Cell 11: TURN B/U and TRANS Fuses
Cell 34: Gasoline Engine
Cell 44: IP, VCM, EBCM, and VSS
VCM Connector End Views
Handling ESD Sensitive Parts Notice