GM Service Manual Online
For 1990-2009 cars only

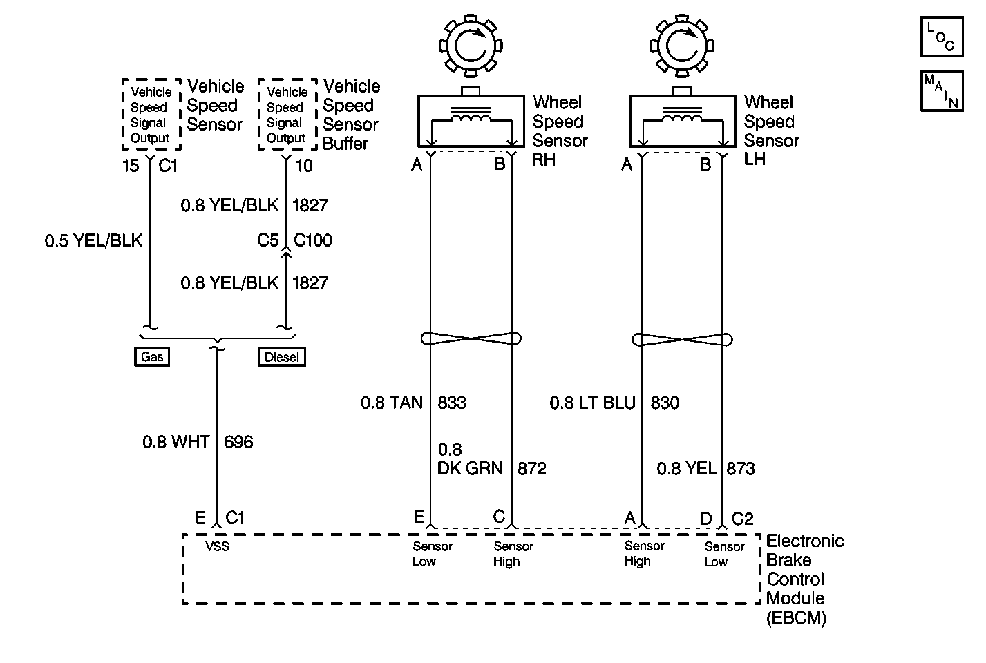
Object Number: 364682  Size: MF
ABS Components Domestic
Antilock Brake System Schematics Domestic

Circuit Description

As a toothed ring passes by the wheel speed sensor, changes in the electromagnetic field cause the wheel speed sensor to produce a sinusoidal (AC) voltage signal. The frequency and amplitude of the sinusoidal (AC) voltage signal are proportional to the wheel speed. The amplitude of the wheel speed signal is directly related to the distance between the wheel speed sensor coil and the toothed ring. This distance is referred to as the air gap. The EBCM can detect wheel speed signal malfunctions as they happen. An error in reported wheel speed can be compensated for by the EBCM up to a point. The error compensation will allow the EBCM to continue to function normally instead of setting a DTC. If the wheel speed mismatch increases beyond that point, the EBCM will set a DTC.

Conditions for Setting the DTC

    • Any wheel speed differing from the vehicle speed by greater than 10 %.
    • The vehicle speed is greater than 40 km/h (25 mph)
    • No unexpected wheel acceleration: anything that generates consistent differences between the wheel speed signals

Action Taken When the DTC Sets

    • The ABS indicator lamp turns on
    • The ABS disables

DTC C0238 is an Ignition Latched DTC, which indicates the above actions remain true until the ignition is turned to OFF (even if the cause of the DTC is intermittent).

Conditions for Clearing the DTC

    • Repair the conditions responsible for setting the DTC
    • Use the Scan Tool Clear DTCs function

Diagnostic Aids

Installing significantly different tires on the vehicle usually sets a DTC C0238.

Step

Action

Value(s)

Yes

No

1

Was the Diagnostic System Check performed?

--

Go to Step 2

Go to Diagnostic System Check - ABS

2

Inspect the vehicle tires for a variation in tire size

Are all four tire sizes the same?

--

Go to Step 3

Go to Diagnostic Aids

3

  1. Install the Scan Tool .
  2. Clear all DTCs.
  3. While driving the vehicle, monitor and compare all the wheel speeds using the Scan Tool .

Does the Scan Tool indicate a mismatch in wheel speeds?

--

Go to Step 4

Go to Diagnostic Aids

4

Does the scan tool indicate a mismatch with the right front wheel speed?

--

Go to DTC C0223 or C023 RF Wheel Speed Signal Erratic

Go to Step 5

5

Does the scan tool indicate a mismatch with the left front wheel speed?

--

Go to DTC C0227 or C027 LF Wheel Speed Signal Erratic

Go to Step 6

6

Does the scan tool indicate a mismatch with the rear wheel speed?

--

Go to DTC C0237 or C037 Rear Wheel Speed Signal Erratic

--