GM Service Manual Online
For 1990-2009 cars only

DTC C0286 or C086 ABS Indicator Lamp Circuit Shorted to B+ DOMESTIC


Object Number: 364690  Size: MF
ABS Components Domestic
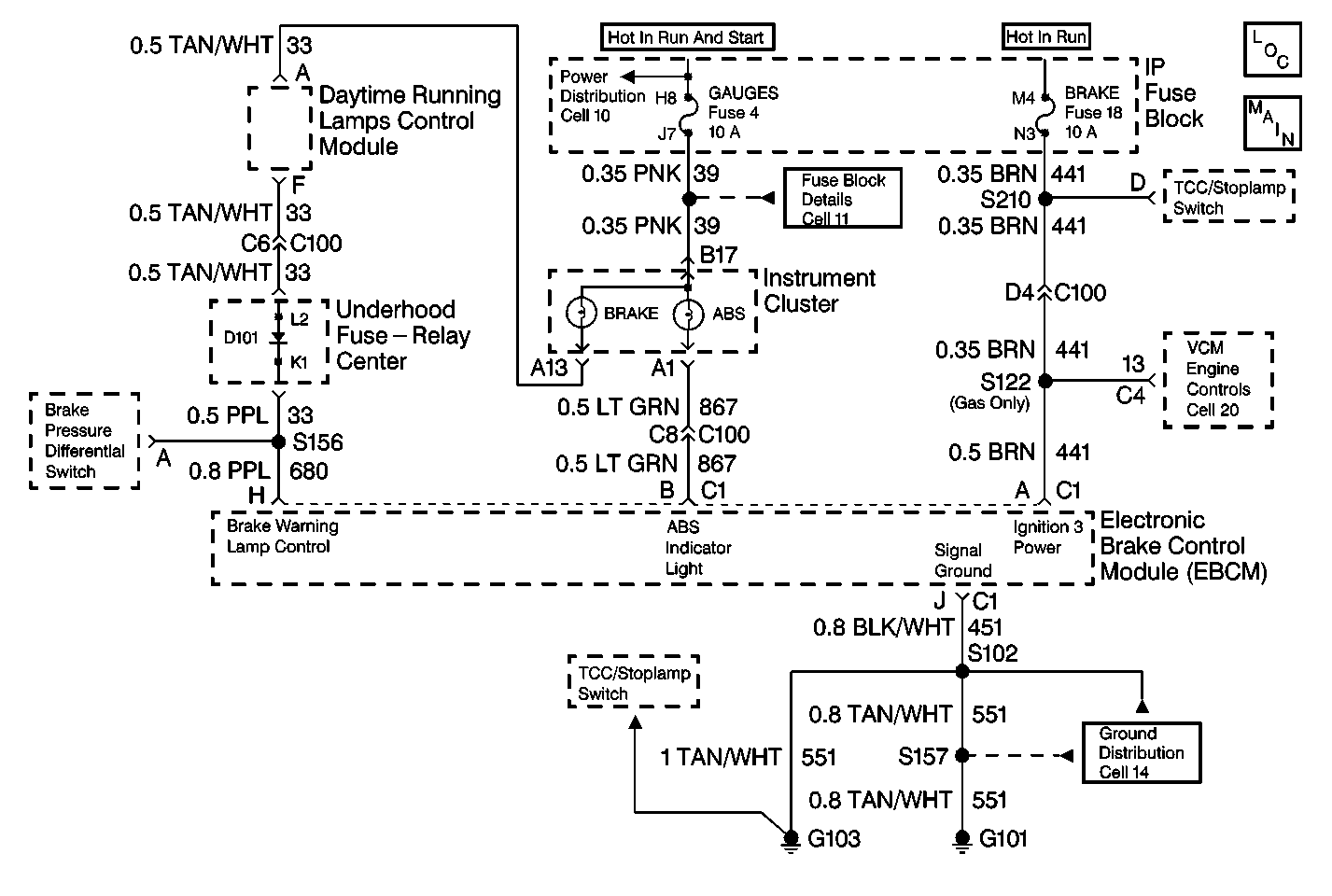
Antilock Brake System Schematics Domestic

Circuit Description

The amber ANTILOCK indicator lamp is supplied ignition voltage through the GAUGE fuse. The indicator is normally on unless the EBCM switches the indicator off (normal mode). This logic ensures that the indicator will be illuminated if there is an open in CKT 867 or a faulty EBCM.

Conditions for Setting the DTC

    • High voltage is present on the ABS indicator lamp control circuit when low voltage is expected (lamp is turned on)
    • Anything that keeps the ABS indicator lamp circuit high when the lamp is expected to be on

Action Taken When the DTC Sets

    • The ABS is not disabled.
    •  The EBCM will use the red BRAKE warning lamp to alert the driver of an ABS malfunction.

Conditions for Clearing the DTC

    • Repair the conditions responsible for setting the DTC
    • Use the Scan Tool Clear DTCs function

Diagnostic Aids

DTC C0286 typically sets because of a shorted ABS indicator lamp. Yet DTC C0286 can also set because of a short to voltage in the wiring between the ABS indicator lamp and the EBCM.

Test Description

The numbers below refer to the steps in the diagnostic table:

  1. This step checks for normal operation of the ABS indicator lamp.

  2. This step turns off the ABS indicator lamp with a J 36169-A .

Step

Action

Value(s)

Yes

No

1

Was the Diagnostic System Check performed?

--

Go to Step 2

Go to Diagnostic System Check - ABS

2

  1. Turn the ignition to RUN.
  2. Observe the amber ABS indicator lamp operation.

Did the ABS indicator lamp turn on and then turn off after 3 seconds?

--

Go to Step 5

Go to Step 3

3

  1. Turn the ignition to OFF.
  2. Disconnect the 10-way EBCM harness connector from the EBCM.
  3. Using a J 36169-A with a 3 amp fuse, connect terminal B of the 10-way EBCM harness connector to ground.
  4. Turn ignition to RUN.

Does the ABS indicator lamp turn on?

--

Go to Step 6

Go to Step 4

4

Inspect the jumper wire fuse.

Is the fuse open?

--

Go to Step 7

Go to Step 5

5

Malfunction is intermittent.

  1. Inspect all connectors and harnesses for damage which may result in high resistance when all components are connected.
  2. Perform all necessary repairs.

Is the repair complete?

--

Go to Diagnostic System Check - ABS

Go to Diagnostic Aids

6

Replace the EBCM. Refer to Electronic Brake Control Module Replacement .

Is the repair complete?

--

Go to Diagnostic System Check - ABS

--

7

Repair a short to voltage in CKT 867. Refer to Wiring Repairs .

Is the repair complete?

--

Go to Diagnostic System Check - ABS

--

DTC C0286 or C086 ABS Indicator Lamp Circuit Shorted to B+ EXPORT


Object Number: 262057  Size: MF
ABS Components Export
Antilock Brake System Schematics Export

Circuit Description

The amber ANTILOCK indicator lamp is supplied ignition voltage through the GAUGES fuse. The output of the EBCM will be high (battery voltage) when the lamp is off, and will be low (ground) when the lamp is on. If DTC C0286 sets, the EBCM will store the code in memory but will not disable the ABS. If DTC C0286 is in memory and a different fault occurs, the EBCM will turn on the red BRAKE indicator lamp to notify the driver of the problem.

Conditions for Setting the DTC

    • High voltage is present on the ABS indicator lamp control circuit when low voltage is expected (lamp is turned on)
    • Anything that keeps the ABS indicator lamp circuit high when the lamp is expected to be on

Action Taken When the DTC Sets

    • The ABS is not disabled
    •  The EBCM will use the red BRAKE warning lamp to alert the driver of an ABS malfunction

Conditions for Clearing the DTC

    • Repair the conditions responsible for setting the DTC
    • Use the Scan Tool Clear DTCs function

Diagnostic Aids

DTC C0286 typically sets because of a shorted ABS indicator lamp. A DTC C0286 can also set because of a short to voltage in the wiring between the ABS indicator lamp and the EBCM.

Test Description

The numbers below refer to the steps in the diagnostic table:

  1. This step checks for normal operation of the ABS indicator lamp.

  2. This step turns off the ABS indicator lamp with a J 36169-A .

Step

Action

Value(s)

Yes

No

1

Was the Diagnostic System Check performed?

--

Go to Step 2

Go to Diagnostic System Check - ABS

2

  1. Turn the ignition to RUN.
  2. Observe the amber ABS indicator lamp operation.

Did the ABS indicator lamp turn on and then turn off after 3 seconds?

--

Go to Step 5

Go to Step 3

3

  1. Turn the ignition to OFF.
  2. Disconnect the 10-way EBCM harness connector from the EBCM.
  3. Using a J 36169-A with a 3 amp fuse, connect terminal B of the 10-way EBCM harness connector to ground.
  4. Turn ignition to RUN.

Does the ABS indicator lamp turn on?

--

Go to Step 6

Go to Step 4

4

Inspect the jumper wire fuse.

Is the fuse open?

--

Go to Step 7

Go to Step 5

5

  1. Malfunction is intermittent.
  2. Inspect all connectors and harnesses for damage which may result in high resistance when all components are connected.
  3. Perform all necessary repairs.

Is Repair complete?

--

Go to Diagnostic System Check - ABS

Go to Diagnostic Aids

6

Replace the EBCM. Refer to Electronic Brake Control Module Replacement .

Is repair complete?

--

Go to Diagnostic System Check - ABS

--

7

Repair a short to voltage in CKT 867. Refer to Wiring Repairs .

Is the repair complete?

--

Go to Diagnostic System Check - ABS

--