GM Service Manual Online
For 1990-2009 cars only

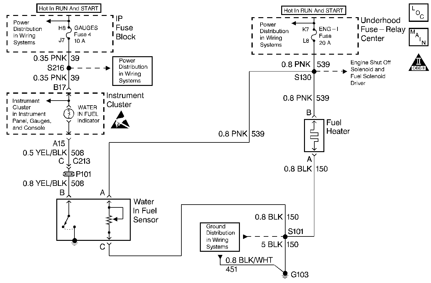
Object Number: 550964  Size: MF
Engine Controls Components
Fuel Solenoid Controls, Water-in-fuel Sensor
OBD II Symbol Description Notice
Handling ESD Sensitive Parts Notice

Circuit Description

The fuel manager/filter assembly consists of the fuel heater, the water-in-fuel sensor and a filter. The filter contains the coalescer (the device that combines small droplets of water into larger ones) and the filter/separator.

A fuel lift pump delivers diesel fuel from the tank to the fuel filter. As fuel enters the filter, the fuel passes first though the fuel heater. The heater contains a thermostatic switch, which opens or closes to turn the heater OFF or ON, depending on the temperature of the fuel.

The fuel then passes through the filter and the water coalescer, where the droplets of water in the fuel combine into larger drops, that fall into the water reservoir in the filter. When fuel flows from the fuel manager/filter assembly to the injection pump, the fuel is clean and free of water.

The solid state water-in-fuel sensor supplies voltage to a probe. When the probe touches water, the module closes a switch. This completes a circuit to ground and lights the water-In-fuel lamp.

A circuit in the water-in-fuel module grounds the lamp briefly to test the bulb each time the system is turned ON.

Test Description

The numbers below refer to step numbers on the diagnostic table:

  1. This step determines if the ignition feed circuit is open.

  2. This step determines if the ground circuit is OK.

  3. This step determines if the fuse, bulb, and wiring are OK.

Step

Action

Values

Yes

No

1

Turn ON the ignition leaving the engine OFF.

Does the water In fuel light come ON briefly?

--

Go to Step 5

Go to Step 2

2

  1. Disconnect the water In fuel sensor.
  2. With an unpowered test lamp connected to ground, probe terminal A.
  3. Verify the ignition is ON with the engine OFF.

Is the test light ON?

--

Go to Step 3

Go to Step 6

3

With an unpowered test lamp, jumper the harness terminals A and C with the ignition still ON.

Is the test light ON?

--

Go to Step 4

Go to Step 8

4

With an unpowered test lamp connected to ground, probe terminal B of the harness connector.

Is the test light ON?

--

Go to Step 7

Go to Step 9

5

Operate the vehicle under which the system was noted.

Does the system operate properly?

--

System OK

Go to Step 1

6

  1. Check the ignition feed circuit for an open.
  2. If a problem is found, repair the problem as necessary.

Did you perform a repair?

--

Go to Step 11

--

7

  1. Check for a poor feed connection at the sensor.
  2. If a problem is found, repair the problem as necessary.

Did you perform a repair?

--

Go to Step 11

Go to Step 10

8

  1. Check the ground circuit for an open.
  2. If a problem is found, repair the problem as necessary.

Did you perform a repair?

--

Go to Step 11

--

9

Repair the open in the lamp circuit.

Is the action complete?

--

Go to Step 11

--

10

Replace the water in fuel sensor. Refer to Water in Fuel Indicator Sensor Replacement .

Is the action complete?

--

Go to Step 11

--

11

Operate the vehicle under which the original problem was noted.

Does the system operate properly?

--

System OK

Go to Step 1