GM Service Manual Online
For 1990-2009 cars only

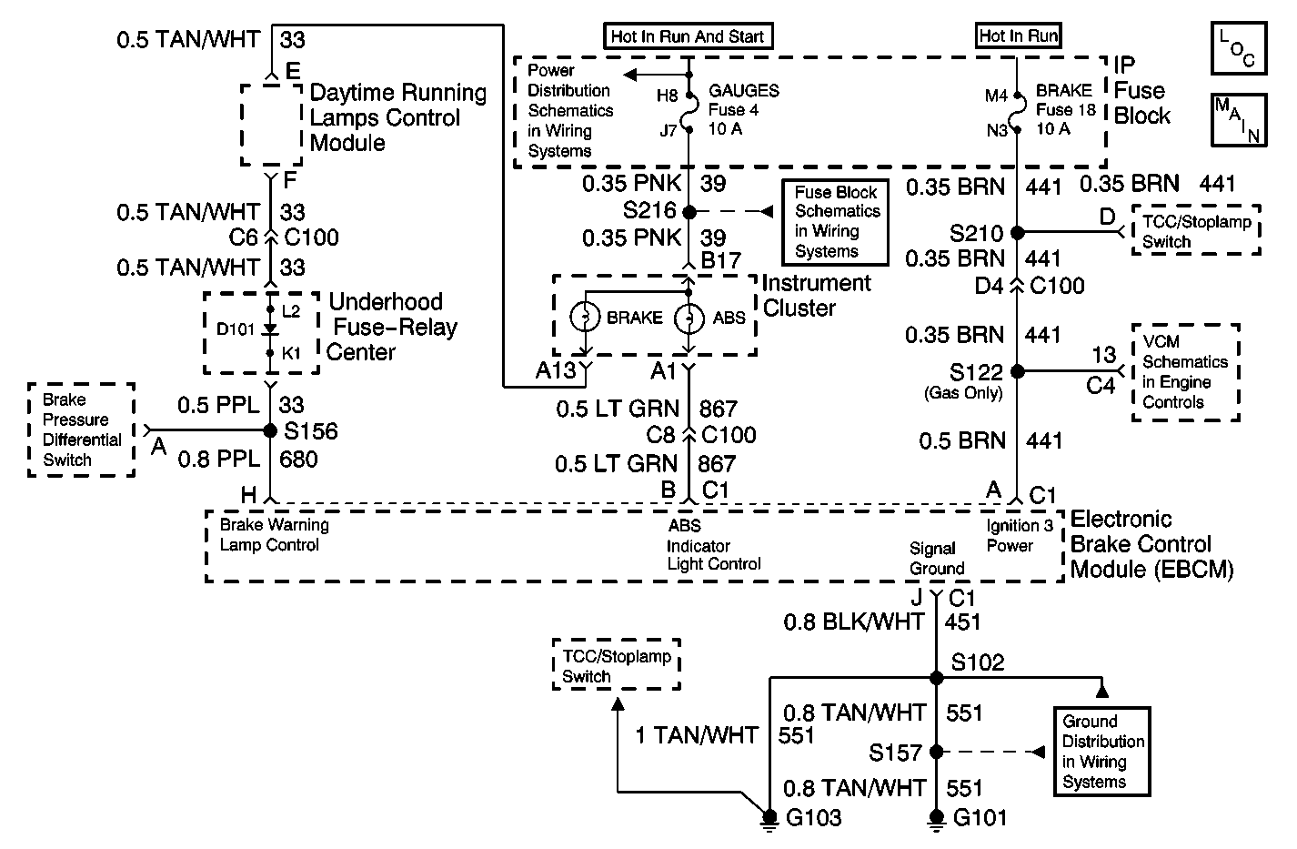
ABS Indicator Inoperative Domestic


Object Number: 544389  Size: MF
ABS Components Domestic
Antilock Brake System Schematics Domestic

Circuit Description

The EBCM controls the ABS indicator lamp illumination by supplying a ground to the EBCM 10-way terminal B. When the vehicle is started or the ignition is turned to the RUN position, the ABS indicator should illuminate for three seconds and turn off.

Diagnostic Aids

If the ABS indicator lamp is off constantly with no DTCs set, an open circuit is present between the instrument panel cluster and the EBCM, the GAUGES fuse is open or an open is present between the Fuse Block and the Instrument Panel Cluster.

Test Description

The numbers below refer to the steps in the diagnostic table:

  1. This step manually (with fused jumper) turns on the ABS indicator lamp.

  2. This step checks for a short to ground in CKT 39.

  3. This step checks for an open in CKT 867.

  4. This step checks for ignition voltage at the instrument cluster.

Step

Action

Value(s)

Yes

No

1

Was the Diagnostic System Check performed?

--

Go to Step 2

Go to Diagnostic System Check

2

  1. Turn the ignition to OFF.
  2. Disconnect the 10-way EBCM harness connector from the EBCM.
  3. Using the J 36169-A Fused Jumper Wire with a 3 amp fuse, connect terminal B of the 10-way EBCM harness connector to ground.
  4. Turn the ignition to RUN.

Does the ABS indicator lamp turn on?

--

Go to Step 9

Go to Step 3

3

Inspect the J 36169-A Fused Jumper Wire fuse. Is the fuse open?

--

Go to Step 11

Go to Step 4

4

Inspect the GAUGES Fuse.

Is the fuse open?

--

Go to Step 5

Go to Step 6

5

  1. Turn the ignition to OFF.
  2. Replace the GAUGES Fuse.
  3. Disconnect the Instrument Cluster harness connector from the instrument cluster.
  4. Turn the ignition to RUN.
  5. Remove and inspect the 10 amp GAUGES Fuse.

Is the GAUGES Fuse open?

--

Go to Step 15

Go to Step 6

6

Remove and inspect the ABS indicator lamp. Refer to Instrument Cluster.

Is the ABS indicator lamp open?

--

Go to Step 12

Go to Step 7

7

  1. Turn the ignition to OFF.
  2. Using the J 39200, measure the resistance between the 10-way EBCM connector terminal B and the Instrument Cluster Terminal A1

Is the resistance measurement within the specified range?

0-2 ohms

Go to Step 8

Go to Step 13

8

  1. Turn the ignition to RUN
  2. Using the J 39200, measure the voltage between the Instrument Cluster terminal B17 and ground

Is the voltage measurement equal to or greater than the specified value?

10 V

Go to Instrument Cluster Diagnosis

Go to Step 14

9

  1. Inspect the 10-way EBCM harness connector for poor terminal contact or corrosion. Inspect CKT 867 for damage which may result in an open circuit.
  2. Reconnect all the connectors.
  3. Test drive the vehicle above 16 km/h (10 mph).

Is the ABS indicator lamp off constantly?

--

Go to Step 10

Go to Diagnostic Aids

10

Replace the EBCM. Refer to Electronic Brake Control Module Replacement .

Is the repair complete?

--

Go to Diagnostic System Check

--

11

Repair the short to voltage in CKT 867. Refer to Wiring Repairs in Wiring Systems.

Is the repair complete?

--

Go to Diagnostic System Check

--

12

Replace the ABS indicator lamp.

Is the repair complete?

--

Go to Diagnostic System Check

--

13

Repair the open or the high resistance in CKT 867. Refer to Wiring Repairs in Wiring Systems.

Is the repair complete?

--

Go to Diagnostic System Check

--

14

Repair the open in CKT 39. Refer to Wiring Repairs in Wiring Systems.

Is the repair complete?

--

Go to Diagnostic System Check

--

15

Repair the short to ground in CKT 39. Refer to Wiring Repairs in Wiring Systems.

Is the repair complete?

--

Go to Diagnostic System Check

--

ABS Indicator Inoperative Export


Object Number: 544406  Size: MF
ABS Components Export
Antilock Brake System Schematics Export

Circuit Description

The EBCM controls the ABS indicator lamp illumination by supplying a ground to the EBCM 10-way terminal B. When the vehicle is started or the ignition is turned to the RUN position, the ABS indicator should illuminate for two seconds and then turn off. The EBCM controls the ABS indicator lamp in three modes of operation. Under normal conditions with the ignition switch set to the RUN position, 12 volts is supplied from connector C1, terminal B of the EBCM and the ABS indicator lamp is off. If conditions in the EBCM warrant turning the ABS indicator lamp on, ground is supplied from connector C1, terminal B of the EBCM to turn the lamp on. This would normally occur during the ABS bulb check, when the ignition is turned to the RUN position and the ABS indicator lamp flashes for 3 seconds. Otherwise, this condition would occur when a DTC which requires turning the ABS bulb on has set. If conditions warrant, and the EBCM or the brake pressure warning switch turns the BRAKE warning lamp on, the ABS indicator lamp will also be turned on through diode D103. If the EBCM 10-way connector is removed while the ignition is set to RUN, a ground normally supplied from the EBCM through connector C1, terminal K is removed from the antilock brake indicator relay, and the relay de-energizes. This causes relay contacts A9 and B8 to close, which switches a constant ground to the ABS indicator lamp circuit.

Diagnostic Aids

If the ABS indicator lamp is off constantly with no DTCs set, an open circuit is present between the instrument panel cluster and the EBCM, the GAUGES fuse is open or an open is present between the fuse block and the instrument panel cluster.

Test Description

The numbers below refer to the steps in the diagnostic table:

  1. This step manually (with fused jumper) turns on the ABS indicator lamp.

  2. This step checks for a short to ground in CKT 39.

  3. This step checks for an open in CKT 867.

  4. This step checks for ignition voltage at the instrument cluster.

Step

Action

Value(s)

Yes

No

1

Was the Diagnostic System Check performed?

--

Go to Step 2

Go to Diagnostic System Check

2

  1. Turn the ignition to OFF.
  2. Disconnect the 10-way EBCM harness connector from the EBCM.
  3. Using the J 36169-A Fused Jumper Wire with a 3 amp fuse, connect terminal B of the 10-way EBCM harness connector to ground.
  4. Turn the ignition to RUN.

Does the ABS indicator lamp turn on?

--

Go to Step 9

Go to Step 3

3

Inspect the J 36169-A Fused Jumper Wire fuse. Is the fuse open?

--

Go to Step 11

Go to Step 4

4

Inspect the GAUGES Fuse.

Is the fuse open?

--

Go to Step 5

Go to Step 6

5

  1. Turn the ignition to OFF.
  2. Replace the GAUGES Fuse.
  3. Disconnect the Instrument Cluster harness connector from the instrument cluster.
  4. Turn the ignition to RUN.
  5. Remove and inspect the 10 amp GAUGES Fuse.

Is the GAUGES Fuse open?

--

Go to Step 15

Go to Step 6

6

Remove and inspect the ABS indicator lamp. Refer to Instrument Cluster.

Is the ABS indicator lamp open?

--

Go to Step 12

Go to Step 7

7

  1. Turn the ignition to OFF.
  2. Using the J 39200, measure the resistance between the 10-way EBCM connector terminal B and the Instrument Cluster Terminal A1

Is the resistance measurement within the specified range?

0-2 ohms

Go to Step 8

Go to Step 13

8

  1. Turn the ignition to RUN
  2. Using the J 39200, measure the voltage between the Instrument Cluster terminal B17 and ground

Is the voltage measurement equal to or greater than the specified value?

10 V

Go to Instrument Cluster Diagnosis

Go to Step 14

9

  1. Inspect the 10-way EBCM harness connector for poor terminal contact or corrosion. Inspect CKT 867 for damage which may result in an open circuit.
  2. Reconnect all the connectors.
  3. Test drive the vehicle above 16 km/h (10 mph).

Is the ABS indicator lamp off constantly?

--

Go to Step 10

Go to Diagnostic Aids

10

Replace the EBCM. Refer to Electronic Brake Control Module Replacement .

Is the repair complete?

--

Go to Diagnostic System Check

--

11

Repair the short to voltage in CKT 867. Refer to Wiring Repairs in Wiring Systems.

Is the repair complete?

--

Go to Diagnostic System Check

--

12

Replace the ABS indicator lamp.

Is the repair complete?

--

Go to Diagnostic System Check

--

13

Repair the open or the high resistance in CKT 867. Refer to Wiring Repairs in Wiring Systems.

Is the repair complete?

--

Go to Diagnostic System Check

--

14

Repair the open in CKT 39. Refer to Wiring Repairs in Wiring Systems.

Is the repair complete?

--

Go to Diagnostic System Check

--

15

Repair the short to ground in CKT 39. Refer to Wiring Repairs in Wiring Systems.

Is the repair complete?

--

Go to Diagnostic System Check

--