GM Service Manual Online
For 1990-2009 cars only
Makes
🢒
Chevrolet
🢒
2000
🢒
Express
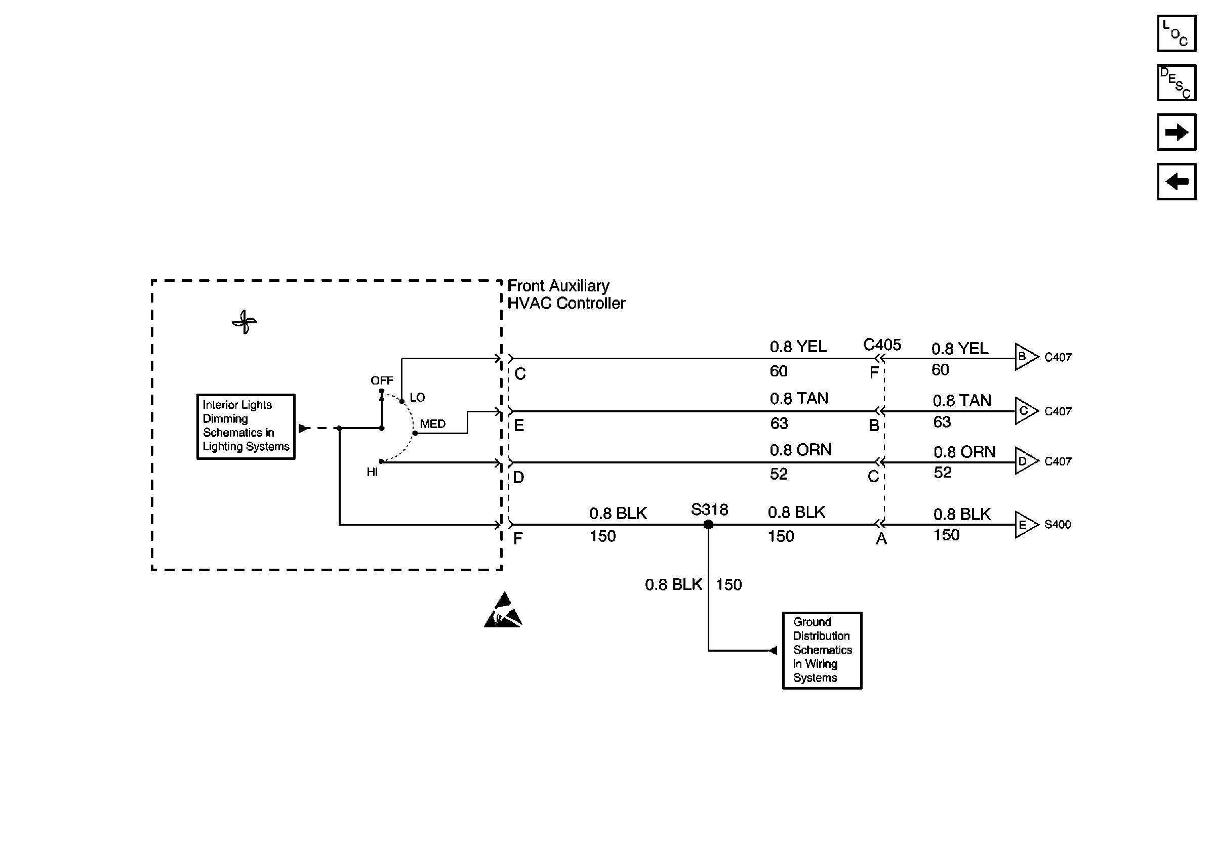
🢒 Front Auxiliary HVAC Control Module (Cargo)
Front Auxiliary HVAC Control Module (Cargo)
Front Auxiliary HVAC Control Module (Cargo)
HVAC Components
HVAC Blower Controls Circuit Description
RR BLOWER and RR HVAC Fuses, Auxiliary Blower Motor, G400
Front and Rear Auxiliary HVAC Control Modules (Passenger)
ILLUM and PARK LPS Fuses
Handling ESD Sensitive Parts Notice
G400
RR BLOWER and RR HVAC Fuses, Auxiliary Blower Motor, G400
RR BLOWER and RR HVAC Fuses, Auxiliary Blower Motor, G400
RR BLOWER and RR HVAC Fuses, Auxiliary Blower Motor, G400
RR BLOWER and RR HVAC Fuses, Auxiliary Blower Motor, G400