GM Service Manual Online
For 1990-2009 cars only

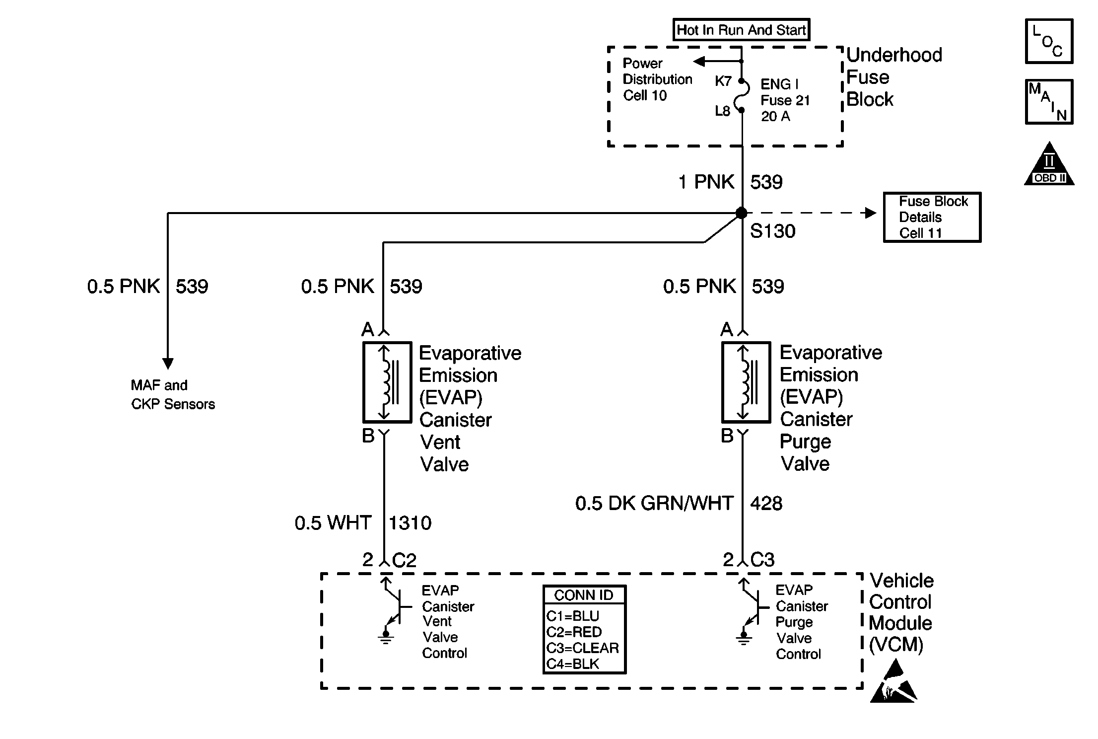
Object Number: 627631  Size: MF
Engine Controls Components
OBD II Symbol Description Notice
Cell 21: EGR and EVAP Controls
Handling ESD Sensitive Parts Notice

Circuit Description

The evaporative emissions (EVAP) system includes the following components:

    • The fuel tank
    • The EVAP vent valve
    • The fuel tank pressure sensor
    • The fuel pipes and hoses
    • The vapor lines
    • The fuel cap
    • The EVAP canister
    • The purge lines
    • The EVAP purge valve

The evaporative leak detection diagnostic strategy is based on applying a vacuum to the EVAP system and monitoring the vacuum decay rate. The VCM monitors vacuum level via the fuel tank pressure sensor input. At an appropriate time, the EVAP purge valveand the EVAP vent valve are turned ON, allowing the engine vacuum to draw a small vacuum on the entire evaporative emission system. After the desired vacuum level has been achieved, the EVAP purge valve turns OFF, sealing the system. A leak is detected by monitoring for a decrease in the vacuum level over a given time period. A small leak in the system will cause DTC P0442 to be set.

Conditions for Running the DTC

    • No active manifold absolute pressure (MAP) sensor DTCs
    • No active throttle position (TP) sensor DTCs
    • No active vehicle speed sensor (VSS) DTCs
    • No active heated oxygen sensor (HO2S) DTCs
    • No active engine coolant temperature (ECT) sensor DTCs
    • No active intake air temperature (IAT) sensor DTCs
    • DTC P0125 is not active
    • The fuel level is 12.5 - 87 percent
    • The ECT is 4°C - 30°C (39°F - 86°F)
    • The IAT is 4°C - 30°C (39°F - 86°F)
    • The cold start ECT minus IAT is less than the following:
        1.5°C when the IAT is more than the ECT
        8°C when the ECT is more than the IAT
    • The barometric pressure (BARO) is more than 72 kPa
    • The change in the fuel tank vacuum is less than 0.6 inches of H2O, or the change in the fuel level is less than 8 percent.
    • The throttle position is less than 75 percent
    • The vehicle speed is less than 65 mph
    • The fuel tank vacuum level remains more than a calibrated value for a specified number of seconds

Conditions for Setting the DTC

The EVAP system is unable to hold a specified vacuum level for a calibrated number of seconds.

Action Taken When the DTC Sets

    • This is a type A DTC that behaves like a B type, in which the VCM illuminates the MIL during the second key cycle.
    • The VCM stores the conditions that were present when the DTC sets as Freeze Frame and FailureRecords data.

Conditions for Clearing the MIL or DTC

    • The control module turns OFF the MIL after 3 consecutive drive trips when the test has run and passed.
    • A history DTC will clear if no fault conditions have been detected for 40 warm-up cycles. A warm-up cycle occurs when the coolant temperature has risen 22°C (40°F) from the startup coolant temperature and the engine coolant reaches a temperature that is more than 70°C (158°F) during the same ignition cycle.
    • Use a scan tool in order to clear the DTCs.

Diagnostic Aids

Important: An accurate indication of fuel level is required for the VCM to properly Pass or Fail this DTC. Always diagnose fuel level sensor DTCs before performing this DTCs diagnostic table. Always check for fuel level sensor DTCs stored in History.

Physically check for the following conditions:

    • A missing, damaged, incorrect, or improperly installed fuel cap
    • Any missing or damaged O-rings at the EVAP canister fuel vapor and purge line fittings
    • A cracked or punctured EVAP canister
    • Any damaged or disconnected EVAP purge line, vent hose, or fuel tank vapor line
    • Any incorrectly routed or damaged EVAP system purge and vapor lines
    • A poor connection at the VCM. Inspect the harness connectors for the following conditions:
       - Any backed-out terminals
       - Any improper mating
       - Any broken locks
       - Any improperly formed or damaged terminals
       - Any poor terminal-to-wire connections
    • A damaged harness. Inspect the wiring harness to the EVAP vent valve, the EVAP purge valve, and the fuel tank pressure sensor for an intermittent, an open, or a short circuit
    • A kinked, pinched, or plugged vacuum source, EVAP purge, or fuel tank vapor line. Verify that the lines are not restricted

Refer to Evaporative Emission System Cleaning before starting repairs.

Reviewing the Failure Records vehicle mileage since the diagnostic test last failed may help determine how often the condition that caused the DTC to be set occurs. This may assist in diagnosing the condition.

Test Description

The numbers below refer to the step numbers on the diagnostic table.

  1. Inspect the service port. Make sure that the valve core is not damaged. If the service port is suspect of leakage use the following procedure:

    Disconnect the purge line from the EVAP purge valve.

    Connect a hand vacuum pump to the service port by placing the hose/adaptor over the unthreaded end portion of the service port.

    Apply vacuum to 5 inches Hg. If the vacuum does not hold, replace the entire purge line which contains the service port.

  2. If the vehicle passes the Service Bay Test then an intermittent leak had occurred. Check the fuel tank cap for a possible loose or leaking condition that may have caused this DTC to set.

    If the Service Bay Test can not be run, proceed to Step 5. If a fault is not currently present the diagnostic table steps will return you to Step 3.

  3. Refer to the information supplied with the EVAP pressure/purge diagnostic cart on proper setup and adjustment procedures.

  4. An EVAP pressure sensor that does not correctly respond to pressure or vacuum will cause this DTC to set.

    The EVAP pressure sensor monitors a range from 7.5 inches H2O of pressure to -17.5 inches H2O of pressure.

Step

Action

Value(s)

Yes

No

1

Important: : Before clearing the DTCs, use the scan tool Capture Info to save the Freeze Frame and Failure Records for reference. The control module data is deleted once the Clear Info function is used.

Did you perform the Powertrain On-Board Diagnostic (OBD) System Check?

--

Go to Step 2

Go to Powertrain On Board Diagnostic (OBD) System Check

2

Check for DTC's P0440, P0446, P0452, P0453, P0461, P0462, P0463, and P1441.

Are any other EVAP system DTCs stored in History?

--

Go to the applicable DTC tables

Go to Step 3

3

Inspect the EVAP system for the following conditions:

    • A loose, incorrect, defective, or missing fuel tank cap.
    • Any improperly routed, kinked, or damaged EVAP system purge lines.
    • A damaged EVAP system component.
    • A loose, missing, or damaged service port dust cap and/or Schrader valve. Refer to Test Descriptions.

Repair the EVAP system if needed.

Was a repair made to the EVAP system?

--

Go to Step 15

Go to Step 4

4

Important: Before proceeding with the Service Bay Test the vehicle must meet the following operating criteria:

   • Clear the DTC Information.
   • Ensure the battery voltage is between 10.5 and 17.5 volts.
   • The fuel level is between 15 percent and 85 percent.
   • The key-on engine temperature is less than 80°C (176°F).

If any of the above conditions are not met the scan tool will display Test Aborted upon activating the Service Bay Test.

  1. Record the data stored when the DTC set and clear codes.
  2. Using the scan tool, perform the Service Bay Test for the EVAP system.

Does the vehicle pass the Service Bay Test?

--

Fault not present. Refer to Test Description

Go to Step 5

5

  1. Turn the ignition OFF.
  2. Remove the EVAP purge line from the EVAP purge valve.
  3. Connect a hand vacuum pump to the purge connection of the EVAP purge valve.
  4. Using the hand vacuum pump, apply vacuum up to the specified value.

Can the specified value of vacuum be obtained and held?

12 in. Hg

Go to Step 6

Go to Step 10

6

  1. Reconnect the EVAP purge valve line.
  2. Disconnect the fuel tank vapor line and the EVAP purge line from the EVAP canister.
  3. Plug the canister fitting for the fuel tank vapor line.
  4. Connect a hand vacuum pump to the canister fitting of the EVAP purge line .
  5. Turn the key ON.
  6. Using a scan tool, command the EVAP vent valve ON.
  7. Using the hand vacuum pump, apply vacuum up to the specified value.

Can the specified value of vacuum be obtained and held?

5 in Hg

Go to Step 9

Go to Step 7

7

  1. Leave system connected as in Step 6.
  2. Disconnect the vent line at the EVAP vent valve.
  3. Plug the vent line.
  4. Using the hand vacuum pump apply vacuum up to the specified value.

Can the specified value of vacuum be obtained and held?

5 in. Hg

Go to Step 11

Go to Step 8

8

  1. Inspect the EVAP vent line from the canister to the EVAP vent valve for leaks.
  2. Replace if needed.

Was the EVAP vent line replaced?

--

Go to Step 15

Go to Step 12

9

Important: The following steps require the J 41413 EVAP pressure/purge diagnostic station and the J 41416 ultrasonic leak detector .

Always zero the EVAP pressure and vacuum gauges on the EVAP pressure/purge diagnostic station before proceeding with diagnosis.

  1. Turn the ignition OFF.
  2. Remove the plug and the hand vacuum pump.
  3. Connect the EVAP vapor canister purge lines and the EVAP tank vent lines.
  4. Connect the J 41413 EVAP pressure/purge diagnostic station to the EVAP system service port.
  5. Using a scan tool command the EVAP vent valve Closed.
  6. Important: DO NOT apply more than 15 inches H2O of pressure to the EVAP system.

  7. Continuously attempt to pressurize the EVAP system by leaving the EVAP pressure/purge diagnostic station control knob in the pressurize position.
  8. Using the J 41416 ultrasonic leak detector locate and repair the EVAP system leak.

Was a leak found and repaired?

--

Go to Step 15

Go to Step 13

10

Important: Inspect the EVAP purge valve and the purge line for carbon contamination. Refer to Diagnostic Aids.

Replace the EVAP purge valve. Refer to Evaporative Emission Canister Purge Solenoid Valve Replacement .

Is the replacement complete?

--

Go to Step 15

--

11

Replace the EVAP vent valve. Refer to Evaporative Emission Vent Valve Replacement .

Is the replacement complete?

--

Go to Step 15

--

12

Replace the EVAP vapor canister. Refer to Evaporative Emission Canister Replacement .

Is the replacement complete?

--

Go to Step 15

--

13

  1. Relieve all system pressure.
  2. Using the scan tool, use the Purge/Seal function to turn the EVAP purge valve ON to varying vacuum levels with the engine running and quickly SEAL the system with the scan tool. Leaving the EVAP purge valve ON for higher percents or longer times will allow a higher amount of vacuum to develop. A maximum of 8.5 inches H2O of vacuum can be applied to the EVAP system using the scan tool.
  3. While the system is sealed compare the EVAP pressure/purge diagnostic stations vacuum gauge to the vacuum shown on the scan tool from the EVAP fuel tank pressure sensor. Allow a few seconds for the system to stabilize.

Do both values indicate the same amount of vacuum in the EVAP system to within the specified range?

+/ - 2 in. H2O

Go to Step 3

Go to Step 14

14

Replace the EVAP fuel tank pressure sensor. Refer to Fuel Tank Pressure Sensor Replacement .

Is the replacement complete?

--

Go to Step 15

--

15

  1. Using the scan tool, clear the DTCs.
  2. Start the engine.
  3. Allow the engine to idle until the engine reaches a normal operating temperature.
  4. Select the DTC and the Specific DTC functions on the scan tool.
  5. Enter the DTC number which was set.
  6. Operate the vehicle within the Conditions for Setting the DTC until the scan tool indicates the diagnostic Ran.

Does the scan tool indicate the diagnostic Passed?

--

Go to Step 16

--

16

Does the Scan Tool display any additional undiagnosed DTCs?

--

Go to the applicable DTC table

System OK