GM Service Manual Online
For 1990-2009 cars only

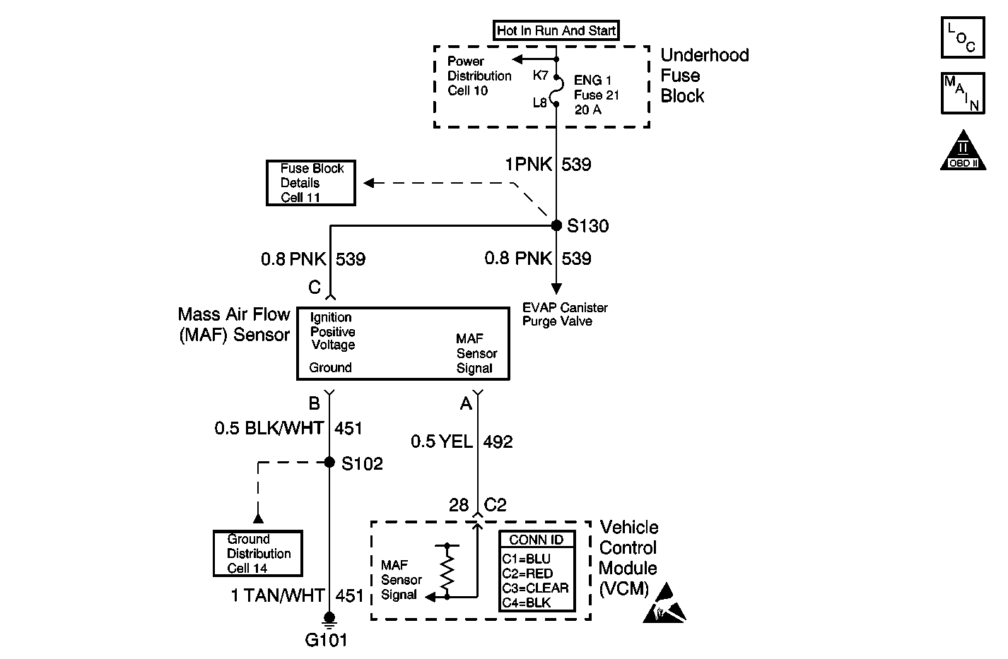
Object Number: 683342  Size: MF
Engine Controls Components
Sensor Controls: MAF, EGR, and EVAP
OBD II Symbol Description Notice
Handling ESD Sensitive Parts Notice
VCM Connector End Views
Ground Distribution Schematics
Power Distribution Schematics

Circuit Description

The mass air flow (MAF) sensor is an air flow meter. The control module supplies the MAF sensor a signal circuit. An ignition positive voltage circuit and a ground circuit are supplied to the MAF sensor by independent circuits. The MAF sensor heats a wire element, or grid, within the MAF sensor in order to maintain a calculated temperature. As inlet air flows across and cools the grid, the MAF sensor increases current flow to the grid in order to maintain the constant grid temperature. The MAF sensor converts the grid current flow into a frequency signal. The control module converts the MAF signal frequency into a grams per second value. During low air flow rates, such as at engine idle, the MAF sensor produces a low frequency signal. During high air flow rates, such as at wide open throttle-road load, the MAF sensor increases the frequency signal. The control module monitors the MAF sensor signal frequency in order to calculate the flow and mass of the air entering the engine.

The VCM monitors the MAF sensor air flow rate and compares this signal to a VCM calculated air flow rate. The calculated air flow is based on engine speed and barometric pressure. The VCM uses the MAP sensor in order to determine the barometric pressure when the ignition key is turned ON but before the engine is cranking or running. This DTC will be set if the MAF sensor signal airflow rate does not match the air flow rate calculated by the VCM.

Conditions for Running the DTC

    • The engine is running
    • No active throttle position (TP) sensor DTCs
    • No active manifold absolute pressure (MAP) sensor DTCs
    • No active evaporative emissions (EVAP) system DTCs
    • No active crankshaft position (CKP) sensor DTCs
    • No active intake air temperature (IAT) sensor DTCs
    • DTC P0401 is not active
    • DTCs P0102 and P0103 are not active
    • The system voltage is between 11-16 volts
    • The EVAP canister purge duty cycle is 99.6 percent or less
    • The TP sensor voltage is steady
    • The EGR duty cycle is less than 90 percent
    • The EGR pintle position is less than 90 percent
    • The throttle position is less than 90 percent
    • The above conditions are present for more than 2 seconds

Conditions for Setting the DTC

    • The actual MAF value is not equal to the calculated MAF value
    • The above condition exists for more than 5 seconds

Action Taken When the DTC Sets

    • The control module illuminates the malfunction indicator lamp (MIL) if a failure is detected during 2 consecutive key cycles.
    • The control module sets the DTC and records the operating conditions at the time the diagnostic failed. The failure information is stored in the scan tool Freeze Frame/Failure Records.

Conditions for Clearing the MIL or DTC

    • The control module turns OFF the MIL after 3 consecutive drive trips when the test has run and passed.
    • A history DTC will clear if no fault conditions have been detected for 40 warm-up cycles. A warm-up cycle occurs when the coolant temperature has risen 22°C (40°F) from the startup coolant temperature and the engine coolant reaches a temperature that is more than 70°C (158°F) during the same ignition cycle.
    • Use a scan tool in order to clear the DTCs.

Diagnostic Aids

Check for the following conditions:

    • A misrouted harness. Inspect the MAF sensor harness in order to ensure that it is not routed too close to high voltage wires such as spark plug leads.
    • A damaged harness. Inspect the wiring harness for damage. If the harness appears to be OK, observe the scan tool while moving the connectors and the wiring harnesses related to the MAF sensor. A change in the display indicates the location of the fault.
    • A plugged intake air duct or dirty air filter element. A wide open throttle acceleration from a stop should cause the mass air flow displayed on a scan tool to increase from about 4-7 gm/s at idle to 100 gm/s or more at the time of the 1-2 shift. If not, check for a restriction.

An intermittent may be caused by any of the following conditions:

    • A poor connection
    • Rubbed through wire insulation
    • A broken wire inside the insulation

Thoroughly inspect any circuitry that is suspected of causing the intermittent complaint. Refer to Testing for Intermittent Conditions and Poor Connections in Wiring Systems.

If a repair is necessary, refer to Wiring Repairs or Connector Repairs in Wiring Systems.

Test Description

The numbers below refer to the step numbers on the diagnostic table.

  1. Correct any MAP sensor DTCs first. The value shown for the MAP sensor varies with altitude. The value decreases by approximately 3.0 kPa for every 1000 feet of altitude. 105 kPa is the approximate value displayed at or near sea level.

  2. This step verifies that the problem is present at idle.

  3. A voltage reading of less than 4.0 volts or over 6.0 volts at the MAF sensor signal circuit indicates a fault in the wiring or a poor connection.

  4. This step verifies that the ignition positive voltage circuit and a good ground are available at the MAF sensor.

Step

Action

Values

Yes

No

1

Important: Before clearing the DTCs, use the scan tool Capture Info to save the Freeze Frame and Failure Records for reference. The control modules data is deleted once the Clear Info function is used.

Did you perform the Powertrain On-Board Diagnostic (OBD) System Check?

--

Go to Step 2

Go to Powertrain On Board Diagnostic (OBD) System Check

2

If any MAP or TP sensor DTCs are set, refer to the applicable DTC before proceeding.

  1. Turn ON the ignition, with the engine OFF.
  2. Monitor the MAP sensor display using the scan tool.

Is the displayed value more than the value shown?

105 kPa

Go to Step 20

Go to Step 3

3

  1. Turn OFF the ignition.
  2. Important: After removing the MAP sensor from the intake manifold, replace the MAP sensor to intake manifold seal.

  3. Remove the MAP sensor from the intake manifold, leaving the MAP sensor harness connected and plug the MAP sensor port in the intake manifold. Refer to Manifold Absolute Pressure Sensor Replacement .
  4. Connect a J 23738-A hand vacuum pump to the MAP sensor.
  5. Important: The engine must remain operating during all steps that observe the MAP sensor display. Slightly raise the idle during testing in order to prevent engine stalling.

  6. Start and idle the engine.
  7. Observe the MAP sensor kPa as you SLOWLY apply vacuum 1 inches Hg at a time.
  8. Each one inch of vacuum should result in a 3 to 4 kPa drop in the MAP sensor display.
  9. Observe the MAP sensor display for a skip or jump while increasing vacuum up to 20 inches Hg.

Did you observe a skip or jump?

--

Go to Step 20

Go to Step 4

4

With the engine running apply 20 inches Hg vacuum to the MAP sensor.

Is the MAP sensor scan tool reading equal to or less than the specified value?

34 kPa

Go to Step 5

Go to Step 20

5

With the engine running disconnect the vacuum source from the MAP sensor.

Does the MAP sensor reading match the baro reading?

--

Go to Step 6

Go to Step 20

6

  1. Check for the following conditions:
  2. • Objects blocking the MAF sensor inlet screen
    • Vacuum leaks in the following components:
       - The intake manifold
       - The throttle body
       - The EGR valve flange and pipes
       - The MAP sensor seal
       - The EVAP canister purge valve seal
       - The Fuel meter body seal
    • A malfunctioning, missing, or incorrectly installed crankcase ventilation valve.
  3. Repair any problem as necessary.

Did you find a problem?

--

Go to Step 23

Go to Step 7

7

  1. Turn ON the ignition, with the engine OFF.
  2. Observe the TP Angle on the scan tool.

Does the scan tool display the specified value?

0%

Go to Step 8

Go to DTC P0121 Throttle Position (TP) Sensor Performance

8

  1. Turn ON the ignition, with the engine OFF.
  2. Review the scan tool Failure Records data.
  3. Record the scan tool Failure Records data.
  4. Operate the vehicle within the Failure Records conditions.
  5. Monitor the Specific DTC Information for DTC P0101 with the scan tool.

Does the scan tool indicate DTC P0101 failed this ignition?

--

Go to Step 9

Go to Diagnostic Aids

9

  1. Turn OFF the ignition.
  2. Disconnect the MAF sensor connector.
  3. Turn ON the ignition, with the engine OFF.
  4. Measure the voltage between the MAF signal circuit and chassis ground with a DMM.

Is the voltage near the specified value?

5.0 V

Go to Step 10

Go to Step 11

10

Connect a test lamp between the MAF sensor ignition positive voltage and ground circuits at the MAF sensor harness connector.

Is the test lamp ON?

--

Go to Step 14

Go to Step 13

11

Is the voltage less than the specified value?

4.5 V

Go to Step 15

Go to Step 12

12

  1. Turn OFF the ignition.
  2. Disconnect the VCM connector.
  3. Turn ON the ignition, with the engine OFF.
  4. Measure the voltage between the MAF signal circuit and ground.

Is the voltage near the specified value?

0 V

Go to Step 22

Go to Step 18

13

Connect a test lamp between the MAF sensor ignition positive voltage circuit and the chassis ground.

Is the test lamp ON?

--

Go to Step 16

Go to Step 17

14

  1. Check for a poor connection at the MAF sensor.
  2. Repair the circuit as necessary. Refer to Wiring Repairs or Connector Repairs in Wiring Systems.

Did you find a problem?

--

Go to Step 23

Go to Step 19

15

  1. Check the MAF signal circuit between the VCM and the MAF sensor for an open, for a short to ground, or for a short to the MAF sensor ground circuit.
  2. Repair as necessary. Refer to Wiring Repairs in Wiring Systems.

Did you find a problem?

--

Go to Step 23

Go to Step 21

16

Repair the open in the ground circuit to the MAF sensor. Refer to Wiring Repairs in Wiring Systems.

Is the action complete?

--

Go to Step 23

--

17

Repair the open in the ignition positive voltage circuit to the MAF sensor. Refer to Wiring Repairs in Wiring Systems.

Is the action complete?

--

Go to Step 23

--

18

Repair the short to voltage in the MAF sensor signal circuit. Refer to Wiring Repairs in Wiring Systems.

Is the action complete?

--

Go to Step 23

--

19

Replace the MAF sensor. Refer to Mass Airflow Sensor Replacement .

Is the action complete?

--

Go to Step 23

--

20

Replace the MAP sensor. Refer to Manifold Absolute Pressure Sensor Replacement .

Is the action complete?

--

Go to Step 23

--

21

Check for a poor connection at the VCM. Repair as necessary. Refer to Connector Repairs in Wiring Systems.

Did you find a problem?

--

Go to Step 23

Go to Step 22

22

  1. Replace the VCM.
  2. Program the new VCM. Refer to VCM Replacement/Programming .
  3. Perform the Passlock Reprogramming Procedure. Refer to PASSLOCK Reprogramming Seed and Key in Theft Deterrent.
  4. Perform the CKP System Variation Learn Procedure. Refer to Crankshaft Position System Variation Learn .

Is the action complete?

--

Go to Step 23

--

23

  1. Using the scan tool, clear the DTCs.
  2. Start the engine.
  3. Allow the engine to idle until the engine reaches normal operating temperature.
  4. Select DTC and the Specific DTC function.
  5. Enter the DTC number which was set.
  6. Operate the vehicle, with the Conditions for Setting this DTC, until the scan tool indicates the diagnostic Ran.

Does the scan tool indicate the diagnostic Passed?

--

Go to Step 24

Go to Step 2

24

Does the scan tool display any additional undiagnosed DTCs?

--

Go to the applicable DTC table

System OK