GM Service Manual Online
For 1990-2009 cars only

DTC P0719 Brake Switch Circuit Low Input Gas


Object Number: 589922  Size: MF
Automatic Transmission Components Gas
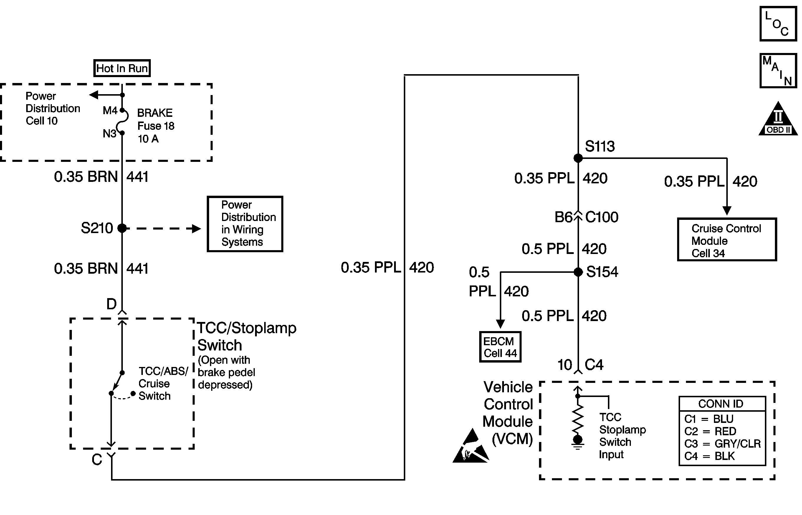
Automatic Transmission Controls Schematics Gas
OBD II Symbol Description Notice
Handling ESD Sensitive Parts Notice

Circuit Description

The TCC/Stoplamp switch indicates the brake pedal status. The normally-closed TCC/Stoplamp switch supplies a B+ signal to the vehicle control module (VCM). The signal voltage circuit opens when the brakes are applied.

If the VCM detects an open TCC/Stoplamp switch circuit during accelerations, then DTC P0719 sets. DTC P0719 is a type C DTC.

Conditions for Running the DTC

    • No OSS DTC P0502 or P0503.
    • The following sequence of events occurs:
        1. The vehicle speed is less than 8 km/h (5 mph).
        2. Then the vehicle speed is 8-40 km/h (5-25 mph) for 3.5 seconds.
        3. Then the vehicle speed is greater than 40 km/h (25 mph) for 6 seconds.

Conditions for Setting the DTC

    • All conditions are met for 8 occurrence.
    • The VCM detects an open TCC/Stoplamp switch/circuit (0 volts) for 15 minutes.

Action Taken When the DTC Sets

    • The VCM does not illuminate the malfunction indicator lamp (MIL).
    • For TCC scheduling, the VCM disregards the brake switch state if the TP sensor is greater than 1% and the vehicle speed is greater than 20 MPH.
    • The VCM records the operating conditions when the Conditions for Setting the DTC are met. The VCM stores this information as Failure Records.
    • The VCM stores DTC P0719 in VCM history.

Conditions for Clearing the DTC

    • A scan tool clears the DTC from VCM history.
    •  The VCM clears the DTC from VCM history if the vehicle completes 40 warm-up cycles without a non-emission-related diagnostic fault occurring.
    • The VCM cancels the DTC default actions when the fault no longer exists and the ignition switch is OFF long enough in order to power down the VCM.

Diagnostic Aids

    • First diagnose and clear any engine DTCs or TP sensor codes that are present. Then inspect for any transmission DTCs that may have reset.
    • Ask about the customer's driving habits and any unusual driving conditions he or she might have, such as stop and go traffic or expressway driving.
    • Inspect the brake switch for proper mounting and adjustment.
    • Inspect for the most current calibration ID and the latest bulletins.
    • Inspect the connectors at the VCM, the TCC/Stoplamp switch and all other circuit connecting points for an intermittent condition. Refer to Testing for Intermittent Conditions and Poor Connections in Wiring Systems.
    • Inspect the circuit wiring for an intermittent condition. Refer to Testing for Electrical Intermittents in Wiring Systems.

Test Description

The numbers below refer to the step numbers on the diagnostic table.

  1. This step tests for TCC/Stoplamp switch voltage to the VCM connector.

  2. This step isolates the TCC/Stoplamp switch as a source for setting the DTC.

  3. This step tests for a short to ground in circuit 441 (ignition voltage) to the TCC/Stoplamp switch.

  4. This step tests for a short to ground in circuit 420, from the TCC/Stoplamp switch to the VCM.

  5. This step isolates the VCM as a source for causing the fuse to open.

P0719

Step

Action

Value(s)

Yes

No

1

Did you perform the Powertrain Diagnostic System Check?

--

Go to Step 2

Go to Powertrain On Board Diagnostic (OBD) System Check (4.3L) or Powertrain On Board Diagnostic (OBD) System Check (5.0/5.7L) or Powertrain On Board Diagnostic (OBD) System Check (7.4L)

2

  1. Install a Scan Tool .
  2. Turn ON the ignition, with the engine OFF.
  3. Important: Before clearing the DTC, use the scan tool in order to record the Failure Records. Using the Clear Info function erases the Failure Records from the VCM.

  4. Record the DTC Failure Records.
  5. Clear the DTC.
  6. Select the TCC Brake Switch on the Scan Tool .
  7. Do not apply the brake pedal.

Does the Scan Tool TCC Brake Switch indicate CLOSED, when the brake pedal is not applied?

--

Go to Diagnostic Aids

Go to Step 3

3

  1. Remove the brake fuse.
  2. Inspect the brake fuse for an open.

Is the fuse open?

--

Go to Step 10

Go to Step 4

4

  1. Turn OFF the ignition.
  2. Disconnect the VCM connector C4 from the VCM.
  3. Connect a 12-volt test lamp to a good ground.
  4. Using the J 35616-A connector test adapter kit and the 12-volt test lamp, probe terminal C4-10.
  5. Re-install the fuse.
  6. Turn ON the ignition, with the engine OFF.
  7. Do not apply the brake pedal.

Does the test lamp illuminate?

--

Go to Step 15

Go to Step 5

5

  1. Turn OFF the ignition.
  2. Remove the connector from the TCC/Stoplamp switch.
  3. Use the J 39200 digital multimeter (DMM) to measure B+ voltage at terminal D of the brake switch connector.
  4. Turn ON the ignition, with the engine OFF.

Does the voltage measure as indicated?

10-13 volts

Go to Step 7

Go to Step 6

6

Important: The condition that affects this circuit may exist in other connecting branches of the circuit. Refer to Power Distribution Schematics in Wiring Systems, for complete circuit distribution.

Test the power feed circuit (CKT 441) of the TCC/Stoplamp switch for an open circuit between the power distribution block and the TCC/Stoplamp switch connector.

Did you find and correct the condition?

--

Go to Step 16

--

7

  1. Turn OFF the ignition.
  2. Install a fused jumper wire from terminal C to terminal D of the TCC/Stoplamp switch connector.
  3. Turn ON the ignition, with the engine OFF.
  4. Probe the VCM connector terminal C4-10 with the test lamp.

Does the test lamp illuminate?

--

Go to Step 9

Go to Step 8

8

Important: The condition that affects this circuit may exist in other connecting branches of the circuit. Refer to Power Distribution Schematics in Wiring Systems for complete circuit distribution.

Test the input circuit (CKT 420) of the TCC/Stoplamp switch for an open circuit between the VCM connector C4-10 and the TCC/Stoplamp switch connector.

Did you find and correct the condition?

--

Go to Step 16

--

9

Replace the TCC/Stoplamp switch.

Refer to Stop Lamp Switch Replacement in Hydraulic Brakes.

Did you complete the replacement?

--

Go to Step 16

--

10

  1. Turn ON the ignition, with the engine OFF.
  2. Apply and hold the brake pedal.
  3. Install a new fuse while keeping the brake pedal applied.

Does the fuse open with the brake pedal applied?

--

Go to Step 11

Go to Step 12

11

Important: The condition that affects this circuit may exist in other connecting branches of the circuit. Refer to Power Distribution Schematics in Wiring Systems for complete circuit distribution.

Test the power feed circuit (CKT 441) of the TCC/Stoplamp switch for short to ground between the power distribution block and the TCC/Stoplamp switch connector.

Did you find and correct the condition?

--

Go to Step 16

--

12

  1. Turn ON the ignition, with the engine OFF.
  2. Release the brake pedal.

Does the fuse open when the brake pedal is released?

--

Go to Step 13

Go to Diagnostic Aids

13

  1. Disconnect the VCM connector C4 from the VCM (additional DTCs may set).
  2. Turn ON the ignition, with the engine OFF.
  3. Install a new fuse.
  4. Do not apply the brake pedal.

Does the fuse open?

--

Go to Step 14

Go to Step 15

14

Important: The condition that affects this circuit may exist in other connecting branches of the circuit. Refer to Power Distribution Schematics in Wiring Systems for complete circuit distribution.

Test the input circuit (CKT 420) of the TCC/Stoplamp switch for a short to ground between the VCM connector C4-10 and the TCC/Stoplamp switch connector.

Did you find and correct the condition?

--

Go to Step 16

--

15

Replace the VCM.

Refer to VCM Replacement/Programming (4.3L) or VCM Replacement/Programming (5.0/5.7L) or VCM Replacement/Programming (7.4L) in Engine Controls.

Did you complete the replacement?

--

Go to Step 16

--

16

Perform the following procedure in order to verify the repair:

  1. Select DTC.
  2. Select Clear Info.
  3. Operate the vehicle under the following conditions:
    • Turn ON the ignition, with the engine OFF.
    • The brake pedal is not applied.
    • Select TCC Brake Switch on the Scan Tool .

Does the TCC Brake Switch indicate CLOSED when the brake pedal is not applied, then indicate OPEN when the brake pedal is applied?

--

System OK

Go to Step 1

DTC P0719 Brake Switch Circuit Low Input Diesel


Object Number: 525791  Size: MF
Automatic Transmission Components Diesel
Automatic Transmission Controls Schematics Diesel
OBD II Symbol Description Notice
Handling ESD Sensitive Parts Notice

Circuit Description

The normally open TCC/Stoplamp switch indicates brake pedal status to the powertrain control module (PCM). Applying the brake pedal closes the switch, supplying voltage to the PCM. Releasing the brake pedal interrupts voltage to the PCM.

If the PCM detects an open TCC/Stoplamp switch (stuck OFF) during decelerations, then DTC P0719 sets. DTC P0719 is a type C DTC.

Conditions for Running the DTC

    • No OSS sensor DTC P0722 or P0723.
    • The following sequence of events occur:
        1. the vehicle speed is greater than 32 km/h (20 mph) for 6 seconds.
        2. Then the vehicle speed is 8-32 km/h (5-20 mph) for 3 seconds.
        3. Then the vehicle speed is less than 8 km/h (5 mph).
        4. DTC P0719 has not passed.

Conditions for Setting the DTC

    • All conditions are met for ten occurrences.
    • The PCM detects a closed TCC/Stoplamp switch/circuit (0 volts).

Action Taken When the DTC Sets

    • The PCM does not illuminate the malfunction indicator lamp (MIL).
    • The PCM records the operating conditions when the Conditions for Setting the DTC are met. The PCM stores this information as Failure Records.
    • The PCM stores DTC P0719 in PCM history.

Conditions for Clearing the DTC

    • A scan tool clears the DTC from PCM history.
    • The PCM clears the DTC from PCM history if the vehicle completes 40 consecutive warm-up cycles without a non-emission-related diagnostic fault occurring.
    • The PCM cancels the DTC default actions when the fault no longer exists and the ignition switch is OFF long enough in order to power down the PCM.

Diagnostic Aids

    • First diagnose and clear any engine DTCs codes that are present. Then inspect for any transmission DTCs that may have reset.
    • Ask about the customer's driving habits and any unusual driving conditions he or she might have, such as stop and go traffic or expressway driving.
    • A short in the stoplamp circuit will cause the fuse to open.
    • Inspect the TCC/Stoplamp switch for proper mounting and adjustment.
    • Inspect the connectors at the PCM, the TCC/Stoplamp switch and all other circuit connecting points for an intermittent condition. Refer to Testing for Intermittent Conditions and Poor Connections in Wiring Systems.
    • Inspect the circuit wiring for an intermittent condition. Refer to Testing for Electrical Intermittents in Wiring Systems.

Test Description

The numbers below refer to the step numbers on the diagnostic table.

  1. This step isolates the TCC/Stoplamp switch as a source for setting the DTC.

  2. This step tests for a short to ground between the fuse and the TCC/Stoplamp switch.

  3. This step tests for a short to ground in circuit 17.

  4. This step removes the PCM from circuit 17 as the source of a short to ground.

P0719

Step

Action

Value(s)

Yes

No

1

Did you perform the Powertrain Diagnostic System Check?

--

Go to Step 2

Go to Powertrain On Board Diagnostic (OBD) System Check

2

  1. Install a Scan Tool .
  2. Turn ON the ignition, with the engine OFF.
  3. Important: Before clearing the DTC, use the scan tool in order to record the Freeze Frame and Failure Records. Using the Clear Info function erases the Failure Records from the PCM.

  4. Record the DTC Failure Records.
  5. Clear the DTC.
  6. Select the TCC/Brake switch on the scan tool.
  7. Disconnect the TCC/Stoplamp switch connector from the TCC/Stoplamp switch.
  8. Connect a test lamp from cavity E (CKT 140) of the TCC/Stoplamp switch connector to a known good ground.

Does the test lamp illuminate?

--

Go to Step 3

Go to Step 4

3

Install a fused jumper wire from terminal E (CKT 140) to terminal F (CKT 17) of the TCC/Stoplamp switch connector.

Did the scan tool TCC/Brake switch status change from Open to Closed?

--

Go to Step 10

Go to Step 12

4

  1. Remove the Stop/Hazard fuse.
  2. Inspect the Stop/Hazard fuse for an open.
  3. Refer to Circuit Testing and Wiring Repairs in Wiring Systems.

Is the fuse open?

--

Go to Step 5

Go to Step 11

5

Replace the Stop/Hazard fuse.

Does the replacement fuse open immediately?

--

Go to Step 6

Go to Step 7

6

Test the power feed circuit (CKT 140) of the TCC/Stoplamp switch for a short to ground between the power distribution block and the TCC/Stoplamp switch connector.

Refer to Circuit Testing and Wiring Repairs in Wiring Systems.

Did you find and correct the condition?

--

Go to Step 14

--

7

  1. Reconnect the TCC/Stoplamp switch connector.
  2. Apply the brake pedal.

Does the fuse open immediately?

--

Go to Step 8

Go to Diagnostic Aids

8

  1. Disconnect the PCM  connector C2.
  2. Replace the Stop/Hazard fuse.
  3. Apply the brake pedal.

Does the fuse open immediately?

--

Go to Step 9

Go to Step 13

9

Test the input circuit (CKT 17) of the TCC/Stoplamp switch for a short to ground between the PCM connector C2-B10 and the TCC/Stoplamp switch connector.

Refer to Circuit Testing and Wiring Repairs in Wiring Systems.

Did you find and correct the condition?

--

Go to Step 14

--

10

Replace the stoplamp switch.

Refer to Stop Lamp Switch Replacement in Hydraulic Brakes.

Did you complete the replacement?

--

Go to Step 14

--

11

Test the power feed circuit (CKT 140) of the TCC/Stoplamp switch for an open between the power distribution block and the TCC/Stoplamp switch connector.

Refer to Circuit Testing and Wiring Repairs in Wiring Systems.

Did you find and correct the condition?

--

Go to Step 14

--

12

Test the input circuit (CKT 17) of the TCC/Stoplamp switch for an open between the PCM connector C2-B10 and the TCC/Stoplamp switch connector.

Refer to Circuit Testing and Wiring Repairs in Wiring Systems.

Did you find and correct the condition?

--

Go to Step 14

Go to Step 13

13

Replace the PCM.

Refer to Powertrain Control Module Replacement/Programming in Engine Controls.

Did you complete the replacement?

--

Go to Step 14

--

14

Perform the following procedure in order to verify your repair:

  1. Select DTC.
  2. Select Clear Info.
  3. Operate the vehicle under the following conditions:
  4. • With the engine OFF, the ignition switch is in the RUN position.
    • Depress the brake pedal.
    • The scan tool TCC Brake Switch status must indicate Closed (12 volts) for 2 seconds.
  5. Select Specific DTC.
  6. Enter DTC P0719.

Has the test run and passed?

--

System OK

Go to Step 1