GM Service Manual Online
For 1990-2009 cars only

DTC P0716 Gas


Object Number: 657410  Size: MF
Master Electrical Component List
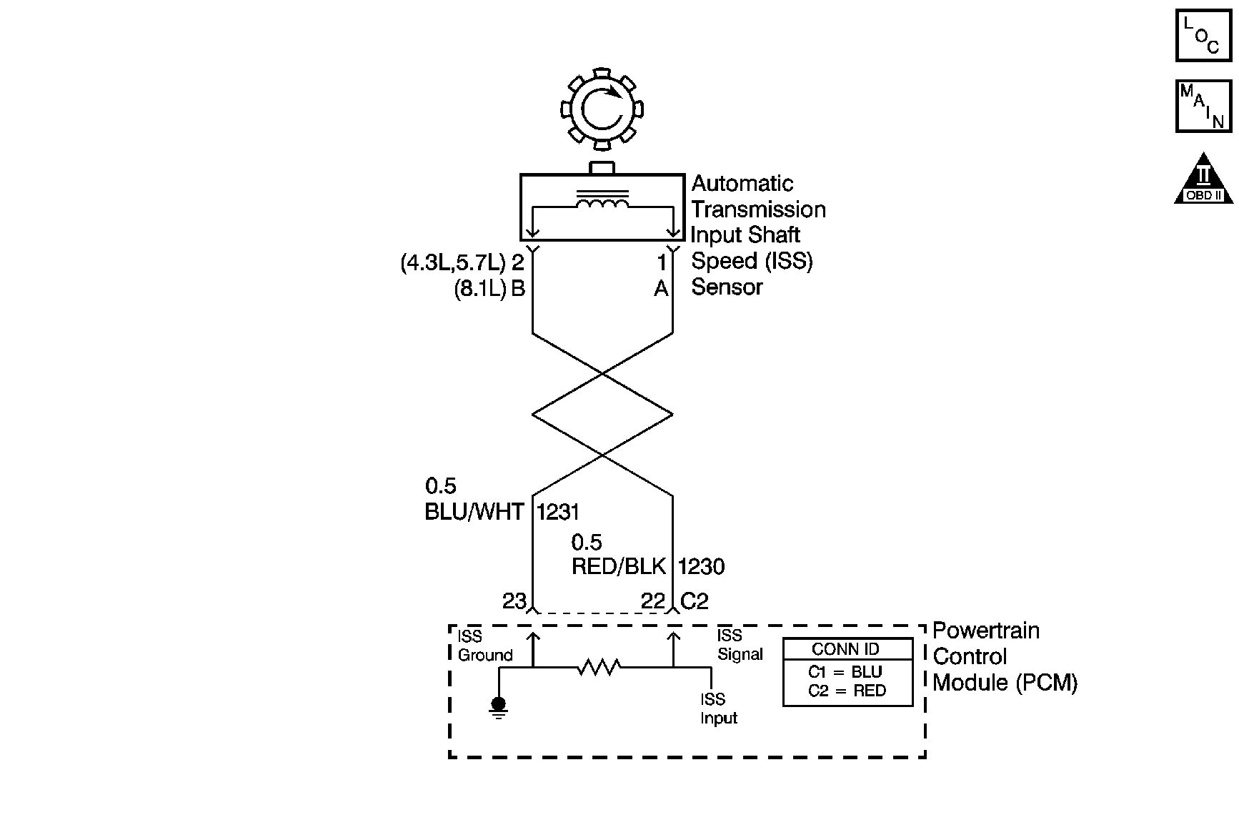
Automatic Transmission Controls Schematics 4L80E Gas
OBD II Symbol Description Notice

Circuit Description

The automatic transmission input shaft speed (AT ISS) sensor provides transmission input speed to the powertrain control module (PCM). The AT ISS sensor is a permanent magnet generator. The sensor mounts into the transmission case and maintains a slight air gap between the sensor and the forward clutch housing. The PM generator produces an AC voltage as the forward clutch housing rotor teeth pass through the sensor's magnetic field. The AC voltage level increases as the turbine shaft speed increases. The PCM converts the AC voltage into a digital signal. The PCM determines actual turbine speed using the digital signal. The PCM uses the input speed to calculate torque converter slip speed, and gear ratios.

When the PCM detects an unreasonably large change in the input speed, in a very short period of time, then DTC P0716 sets. DTC P0716 is a type C DTC. For California emissions vehicles, DTC P0716 is a type B DTC.

Conditions for Running the DTC

    • No TP sensor DTCs P0121, P0122 or P0123.
    • No AT OSS DTC P0502 or P0503.
    • No AT ISS DTC P0717.
    • No 1-2 shift solenoid DTCs P0751, P0752 or P0753.
    • The system voltage is 8-18 volts.
    • The TP angle is greater than 10 percent.
    • The vehicle speed is greater than 12 km/h (7 mph).
    • The engine is running greater than 400 RPM for more than 7 seconds.

Conditions for Setting the DTC

    • The transmission is not in PARK or NEUTRAL.
    • The input speed varies by 1,300 RPM for greater than 5 seconds.

Action Taken When the DTC Sets

    • The PCM illuminates the malfunction indicator lamp (MIL) during the second consecutive trip for all California emission equipped vehicles in which the Conditions for Setting the DTC are met.
    • The PCM commands maximum line pressure.
    • The PCM freezes shift adapts.
    • The PCM records the operating conditions when the Conditions for Setting the DTC are met. The PCM stores this information as Freeze Frame (Calif. only) and Failure Records (Calif. and Federal).
    • The PCM stores the DTC P0716 in PCM history during the second consecutive trip (Calif.) or the first trip (Federal) in which the Conditions for Setting the DTC are met.

Conditions for Clearing the MIL/DTC

    • For California emissions, the PCM turns OFF the MIL during the third consecutive trip in which the diagnostic test runs and passes.
    • A scan tool can clear the MIL/DTC.
    • For California emissions, the PCM clears the DTC from PCM history if the vehicle completes 40 warm-up cycles without an emission related diagnostic fault occurring.
    • For Federal emissions, the PCM clears the DTC from PCM history if the vehicle completes 40 warm-up cycles without a non-emission related diagnostic fault occurring.
    • The PCM cancels the DTC default actions when the fault no longer exists and the ignition switch is OFF long enough in order to power down the PCM.

Diagnostic Aids

DTC P0716 defaults to an elevated line pressure condition which may result in TCC partial apply. This may induce idle surge and engine stall.

Test Description

The numbers below refer to the step numbers on the diagnostic table.

  1. This step tests for proper operation of the AT ISS sensor.

DTC P0716

Step

Action

Value(s)

Yes

No

1

Did you perform the Powertrain Diagnostic System Check?

--

Go to Step 2

Go to Diagnostic System Check - Engine Controls (4.3 L) or Diagnostic System Check - Engine Controls (5.0/5.7 L) or Diagnostic System Check - Engine Controls (8.1 L) in Engine Controls

2

  1. Install a Scan Tool .
  2. Turn ON the ignition, with the engine OFF.
  3. Important: Before clearing the DTC, use the Scan Tool in order to record the Freeze Frame and Failure Records for reference. Using the Clear Info function erases the Freeze Frame and Failure Records from the PCM.

  4. Record the DTC Freeze Frame and Failure Records.
  5. Clear the DTC.
  6. Raise and support the rear axle assembly.
  7. Start the engine.
  8. Place the transmission in any drive range.

With the drive wheels rotating, does the Scan Tool Transmission ISS increase with the drive wheel speed?

--

Go to Intermittent Conditions (4.3 L) or Intermittent Conditions (5.0/5.7 L) or Intermittent Conditions (8.1 L) in Engine Controls

Go to Step 3

3

  1. Turn OFF the ignition.
  2. Disconnect the PCM connector C2.
  3. Using the J 39200 digital multimeter (DMM) and J 35616-A connector test adapter kit, measure the resistance between harness connector terminals C2-22 and C2-23.

Does the resistance measure within the specified range?

1,377-3,355 ohms

Go to Step 4

Go to Step 7

4

Measure the resistance from terminal C2-22 to ground.

Does the resistance measure greater than the specified value?

50 K ohms

Go to Step 5

Go to Step 8

5

  1. Reconnect the PCM connector C2.
  2. Disconnect the engine wiring harness from the ISS assembly.
  3. Turn ON the ignition, with the engine OFF.
  4. Test the high circuit (CKT 1230) of the ISS assembly for a short to power.
  5. Test the low circuit (CKT 1231) of the ISS assembly for short to power.
  6. Refer to Circuit Testing and Wiring Repairs in Wiring Systems.

Did you find and correct the condition?

--

Go to Step 13

Go to Step 12

6

  1. Disconnect the engine wiring harness from the ISS assembly.
  2. Measure the resistance of the ISS assembly.

Does the resistance measure within the specified range?

1,377-3,355 ohms

Go to Step 7

Go to Step 11

7

Was the resistance measured in Step 3 greater than the specified value?

3,355 ohms

Go to Step 9

Go to Step 10

8

  1. Test the high circuit (CKT 1230) of the ISS assembly for a short to ground.
  2. Test the low circuit (CKT 1231) of the ISS assembly for a short to ground.
  3. Refer to Circuit Testing and Wiring Repairs in Wiring Systems.

Did you find and correct the condition?

--

Go to Step 13

--

9

  1. Test the high circuit (CKT 1230) of the ISS assembly for an open.
  2. Test the low circuit (CKT 1231) of the ISS assembly for an open.
  3. Refer to Circuit Testing and Wiring Repairs in Wiring Systems.

Did you find and correct the condition?

--

Go to Step 13

--

10

Test the high circuit (CKT 1230) and the low circuit (CKT 1231) of the ISS assembly for a short together.

Refer to Circuit Testing and Wiring Repairs in Wiring Systems.

Did you find and correct the condition?

--

Go to Step 13

--

11

Replace the ISS assembly.

Refer to Vehicle Speed Sensor Replacement .

Did you complete the replacement?

--

Go to Step 13

--

12

Replace the PCM.

Refer to Powertrain Control Module Replacement (4.3 L) or Powertrain Control Module Replacement (5.0/5.7 L) or Powertrain Control Module Replacement (8.1 L) in Engine Controls.

Did you complete the replacement?

--

Go to Step 13

--

13

Perform the following procedure in order to verify the repair:

  1. Select DTC.
  2. Select Clear Info.
  3. Operate the vehicle under the following conditions:
  4. • The transmission output speed is greater than 450 RPM.
    • No RPM change greater than 300 RPM.
    • All conditions are met for 2 seconds.
  5. Select Specific DTC.
  6. Enter DTC P0716.

Has the test run and passed?

--

System OK

Go to Step 1

DTC P0716 Diesel


Object Number: 700771  Size: MF
Master Electrical Component List
Automatic Transmission Controls Schematics 4L80E Diesel
OBD II Symbol Description Notice

Circuit Description

The automatic transmission input shaft speed (AT ISS) sensor provides transmission input speed to the powertrain control module (PCM). The AT ISS sensor is a permanent magnet (PM) generator. The sensor mounts into the transmission case and maintains a slight air gap between the sensor and the forward clutch housing. The PM generator produces an AC voltage as the forward clutch housing rotor teeth pass through the sensor's magnetic field. The AC voltage level increases as the turbine shaft speed increases. The PCM converts the AC voltage into a digital signal. The PCM determines actual turbine speed using the digital signal. The PCM uses the input speed to calculate torque converter slip speed, and gear ratios.

When the PCM detects an unrealistically large change in input speed, then DTC P0716 sets. DTC P0716 is a type B DTC.

Conditions for Running the DTC

    • No AT ISS sensor DTC P0717.
    • No AT OSS sensor DTCs P0722 or P0723.
    • No shift solenoid DTCs P0751 or P0753.
    • System voltage is 8-18 volts.
    • Engine speed is greater than 475 RPM for greater than 7 seconds.
    • The APP angle is greater than 15 percent.
    • Transmission fluid pressure manual valve position switch is not indicating PARK or NEUTRAL.
    • The vehicle speed is greater than 32 km/h (20 mph).

Conditions for Setting the DTC

The AT ISS varies by more than 1,200 RPM within 4 seconds.

Action Taken When the DTC Sets

    • The PCM illuminates the malfunction indicator lamp (MIL) during the second consecutive trip in which the Conditions for Setting the DTC are met.
    • The PCM commands maximum line pressure.
    • The PCM freezes shift adapts.
    • The PCM records the operating conditions when the Conditions for Setting the DTC are met. The PCM stores this information as Freeze Frame and Failure Records.
    • The PCM stores the DTC P0716 in PCM history during the second consecutive trip in which the Conditions for Setting the DTC are met.

Conditions for Clearing the MIL/DTC

    • For Federal and California emissions, the PCM turns OFF the MIL during the third consecutive trip in which the diagnostic test runs and passes.
    • A scan tool can clear the MIL/DTC.
    • For Federal and California emissions, the PCM clears the DTC from PCM history if the vehicle completes 40 warm-up cycles without an emission related diagnostic fault occurring.
    • For vehicles equal to or greater than 15,000 lbs GVW, the PCM clears the DTC from PCM history if the vehicle completes 40 warm-up cycles without a non-emission related diagnostic fault occurring.
    • The PCM cancels the DTC default actions when the fault no longer exists and the ignition switch is OFF long enough in order to power down the PCM.

Diagnostic Aids

    • You may have to drive the vehicle in order to experience a fault.
    • DTC P0716 defaults to an elevated line pressure condition which may result in TCC partial apply. This may induce idle surge and engine stall.

Test Description

The numbers below refer to the step numbers on the diagnostic table.

  1. This step tests for proper operation of the AT ISS sensor.

  2. This step tests for proper AT ISS sensor circuit operation up to the PCM connections. You remove the fuel solenoid fuse in order to eliminate a flooding condition during this step.

  3. This step tests for a short to ground in the AT ISS sensor circuit.

DTC P0716

Step

Action

Value(s)

Yes

No

1

Did you perform the Powertrain Diagnostic System Check?

--

Go to Step 2

Go to Diagnostic System Check - Engine Controls in Engine Controls

2

  1. Install a Scan Tool .
  2. Turn ON the ignition, with the engine OFF.
  3. Important: Before clearing the DTC, use the Scan Tool in order to record the Freeze Frame and Failure Records. Using the Clear Info function erases Freeze Frame and Failure Records from the PCM.

  4. Record the DTC Freeze Frame and Failure Records.
  5. Clear the DTC
  6. With the transmission in PARK, start the engine.
  7. Observe the Scan Tool Transmission ISS.
  8. Run the engine to 2,000 RPM and hold the engine speed steady.

Does the Transmission ISS RPM change by more than 1,200 RPM at steady engine speed?

--

Go to Step 3

Go to Intermittent Conditions in Engine Controls

3

  1. Turn OFF the ignition.
  2. Disconnect the ISS sensor harness connector from the ISS sensor.
  3. Using the J 35616 connector test adapter kit, select the OHMS scale. Connect the J 39200 digital multimeter (DMM) to the ISS sensor terminals.

Does the ISS sensor resistance measure within the specified value?

1,042-2,088 ohms

Go to Step 4

Go to Step 14

4

  1. With the J 39200 DMM connected to the ISS sensor, select AC Volts.
  2. With the transmission in PARK, start the engine.
  3. Run the engine to 2,000 RPM and hold the engine speed steady.

Is the DMM voltage steady?

Greater than 10.0 V AC

Go to Step 5

Go to Step 14

5

  1. Turn OFF the ignition.
  2. Select DC Volts on the J 39200 DMM.
  3. Turn ON the ignition, with the engine OFF.
  4. Measure the voltage at both ISS sensor harness connector terminals 1 and 2 to a good ground.

Does either voltage reading measure greater than the specified value?

10.5 V DC

Go to Step 6

Go to Step 7

6

  1. Test the AT ISS high signal circuit (CKT 1230) for a short to power.
  2. Test the AT ISS low signal circuit (CKT 1231) for a short to power.

Refer to Circuit Testing and Wiring Repairs in Wiring Systems.

Did you find and correct the condition?

--

Go to Step 16

Go to Step 15

7

  1. Reconnect the ISS harness connector to the ISS sensor.
  2. Turn OFF the ignition.
  3. Disconnect the PCM connector C1.
  4. Connect the J 39200 DMM on AC Volts to the C1 connector terminals D1 and D11.
  5. Remove the fuel solenoid fuse in the Fuse/Relay Center.
  6. Turn the ignition to the RUN position and crank the engine while observing the J 39200 DMM.

Does the voltage measure greater than the specified value and steady?

0.4 V AC

Go to Step 15

Go to Step 8

8

With the J 39200 DMM measure the resistance between terminals D1 and D11 of the PCM connector C1.

Does the circuit resistance measure within the specified value?

1,042-2,088 ohms

Go to Step 9

Go to Step 11

9

  1. Measure the resistance from PCM connector C1-D1 to a good ground.
  2. Measure the resistance from PCM connector C1-D11 to a good ground.

Does either resistance measure less than the specified value?

50K ohms

Go to Step 10

Go to Intermittent Conditions in Engine Controls

10

Test the AT ISS high signal circuit (CKT 1230) and the AT ISS low signal circuit (CKT 1231) for a short to ground.

Refer to Circuit Testing and Wiring Repairs in Wiring Systems.

Did you find and correct the condition?

--

Go to Step 16

--

11

Does the resistance reading from Step 8 measure less than the specified value?

1,042-2,088 ohms

Go to Step 12

Go to Step 13

12

Test the AT ISS high signal circuit (CKT 1230) and the AT ISS low signal circuit (CKT 1231) for a short together.

Refer to Circuit Testing and Wiring Repairs in Wiring Systems.

Did you find and correct the condition?

--

Go to Step 16

--

13

Test the AT ISS high signal circuit (CKT 1230) and the AT ISS low signal circuit (CKT 1231) for high resistance or an open.

Refer to Circuit Testing and Wiring Repairs in Wiring Systems.

Did you find and correct the condition?

--

Go to Step 16

--

14

Replace the ISS sensor.

Refer to Vehicle Speed Sensor Replacement .

Did you complete the replacement?

--

Go to Step 16

--

15

Replace the PCM.

Refer to Powertrain Control Module Replacement in Engine Controls.

Did you complete the replacement?

--

Go to Step 16

--

16

Perform the following procedure in order to verify the repair:

  1. Select DTC.
  2. Important: Failure to clear codes first may cause poor engine performance and high idle at start up.

  3. Select Clear Info.
  4. Operate the vehicle under the following conditions:
  5. • Start and run the engine greater than 475 RPM.
    •  The PCM must see an ISS change of less than 500 RPM for 1 second.
  6. Select Specific DTC.
  7. Enter DTC P0716.

Has the test run and passed?

--

System OK

Go to Step 1