GM Service Manual Online
For 1990-2009 cars only

Range Selector Displays Incorrect Range Gas


Object Number: 739927  Size: LF
Master Electrical Component List
Automatic Transmission Controls Schematics 4L80E Gas
OBD II Symbol Description Notice

Circuit Description

The transmission range (TR) switch is part of the park/neutral position (PNP) and back-up lamp switch assembly, which is externally mounted on the transmission manual shaft. The TR switch contains four internal switches that indicate the transmission gear range selector lever position. The PCM supplies ignition voltage to each switch circuit. As the gear range selector lever is moved, the state of each switch may change, causing the circuit to open or close. An open circuit or switch indicates a high voltage signal. A closed circuit or switch indicates a low voltage signal. The PCM detects the selected gear range by deciphering the combination of the voltage signals. The PCM compares the actual voltage combination of the switch signals to a TR switch combination chart stored in memory.

Diagnostic Aids

Refer to the Transmission Range Switch Logic table for valid combinations of switch signal circuits A, B, C and Parity. On the table, HI indicates an ignition voltage signal. LOW indicates a zero voltage signal.

Test Description

The numbers below refer to the step numbers on the diagnostic table.

  1. By disconnecting the TR switch, the ground path of all TR switch circuits would be removed and the PCM should recognize all circuits as open. The Scan Tool should display HI for all range signal states.

  2. This step tests the TR switch wiring for an open or the lack of the signal voltage from the PCM.

  3. This step tests the TR switch wiring and the PCM by providing a ground path through a fused jumper wire. When grounded, the Scan Tool range signal states should change to LOW.

  4. This step tests the TR switch wiring and the PCM by providing a ground path through a fused jumper wire. When grounded, the Scan Tool range signal states should change to LOW.

  5. This step tests the TR switch wiring and the PCM by providing a ground path through a fused jumper wire. When grounded, the Scan Tool range signal states should change to LOW.

  6. This step tests the TR switch wiring and the PCM by providing a ground path through a fused jumper wire. When grounded, the Scan Tool range signal states should change to LOW.

Range Selector Display Inoperative or Displays Incorrect Range

Step

Action

Value(s)

Yes

No

1

  1. Install a Scan Tool .
  2. Turn ON the ignition, with the engine OFF.
  3. Select the TR Sw. on the Scan Tool .
  4. With the Scan Tool , observe the TR Sw. display while selecting each transmission range: P, R, N, D4, D3, D2 and D1.

Does each selected transmission range match the Scan Tool TR Sw. display?

--

Go to Step 2

Go to Step 3

2

Observe the IPC gear range display while selecting each transmission range: P, R, N, D4, D3, D2, D1.

Does each selected transmission range match the IPC display?

--

Go to Intermittent Conditions (4.3 L) or Intermittent Conditions (5.0/5.7 L) or Intermittent Conditions (8.1 L) in Engine Controls

Go to Step 13

3

With the Scan Tool , observe the TR Sw. A/B/C/P display.

Does the Scan Tool TR Sw. A/B/C/P parameter indicate HI for all range signal states?

--

Go to Step 15

Go to Step 4

4

  1. Turn OFF the ignition.
  2. Disconnect the TR switch 4-way connector.
  3. Turn ON the ignition, with the engine OFF.

Does the Scan Tool TR Sw. A/B/C/P parameter indicate HI for all range signal states?

--

Go to Step 6

Go to Step 5

5

Disconnect the IPC connector.

Refer to Instrument Cluster Replacement in Instrument Panel, Gauges and Console.

Did the affected circuit display HI?

--

Go to Step 18

Go to Step 6

6

  1. Using the J 39200 digital multimeter (DMM) and the J 35616 connector test adapter kit, measure the voltage from terminal A of the TR switch 4-way connector to ground.
  2. Measure the voltage from terminal B of the TR switch 4-way connector to ground.
  3. Measure the voltage from terminal C of the TR switch 4-way connector to ground.
  4. Measure the voltage from terminal D of the TR switch 4-way connector to ground.

Does the voltage measure within the specified value at all four terminals?

10-12 V

Go to Step 7

Go to Step 12

7

Connect a fused jumper wire from terminal A of the TR switch 4-way connector (signal circuit A) to ground while monitoring the Scan Tool TR Sw. A/B/C/P parameter.

When signal circuit A (CKT 771) is grounded, do any other signal circuits indicate LOW?

--

Go to Step 14

Go to Step 8

8

Connect a fused jumper wire from terminal D of the TR switch 4-way connector (signal circuit B) to ground while monitoring the Scan Tool TR Sw. A/B/C/P parameter.

When signal circuit B (CKT 772) is grounded, do any other signal circuits indicate LOW?

--

Go to Step 14

Go to Step 9

9

Connect a fused jumper wire from terminal B of the TR switch 4-way connector (signal circuit C) to ground while monitoring the Scan Tool TR Sw. A/B/C/P parameter.

When signal circuit C (CKT 773) is grounded, do any other signal circuits indicate LOW?

--

Go to Step 14

Go to Step 10

10

Connect a fused jumper wire from terminal C of the TR switch 4-way connector (signal circuit P) to ground while monitoring the Scan Tool TR Sw. A/B/C/P parameter.

When signal circuit P (CKT 776) is grounded, do any other signal circuits indicate LOW?

--

Go to Step 14

Go to Step 13

11

Test the signal circuits (CKTs 771, 772, 773 and 776) of the TR switch that did not indicate HI for a short to ground.

Refer to Circuit Testing and Wiring Repairs in Wiring Systems.

Did you find and correct the condition?

--

Go to Step 19

Go to Step 17

12

Test the signal circuits (CKTs 771, 772, 773 and 776) of the TR switch and the PCM that did not indicate proper voltage for an open.

Refer to Circuit Testing and Wiring Repairs in Wiring Systems.

Did you find and correct the condition?

--

Go to Step 19

Go to Step 17

13

Test the signal circuits (CKTs 771, 772, 773 and 776) of the TR switch between the PCM and the IPC for an open.

Refer to Circuit Testing and Wiring Repairs in Wiring Systems.

Did you find and correct the condition?

--

Go to Step 19

Go to Step 18

14

Test the affected signal circuits of the TR switch for a shorted together condition.

Refer to Circuit Testing and Wiring Repairs in Wiring Systems.

Did you find and correct the condition?

--

Go to Step 19

Go to Step 16

15

Test the ground circuit (CKT 451) of the TR switch for an open.

Refer to Circuit Testing and Wiring Repairs in Wiring Systems.

Did you find and correct the condition?

--

Go to Step 19

Go to Step 16

16

Replace the TR switch (this switch is part of the park/neutral position switch).

Refer to Park/Neutral Position Switch Replacement .

Did you complete the replacement?

--

Go to Step 19

--

17

Replace the PCM.

Refer to Powertrain Control Module Replacement (4.3 L) or Powertrain Control Module Replacement (5.0/ 5.7 L) or Powertrain Control Module Replacement (8.1 L).

Did you complete the replacement?

--

Go to Step 19

--

18

Replace the IPC.

Refer to Instrument Cluster Replacement in Instrument Panel, Gauges and Console.

Did you complete the replacement?

--

Go to Step 19

--

19

  1. Turn ON the ignition, with the engine OFF.
  2. With the Scan Tool , observe the TR Sw. display while selecting each transmission range: P, R, N, D4, D3, D2 and D1.

Does each selected transmission range match the Scan Tool TR Sw. display?

--

System OK

Go to Step 2

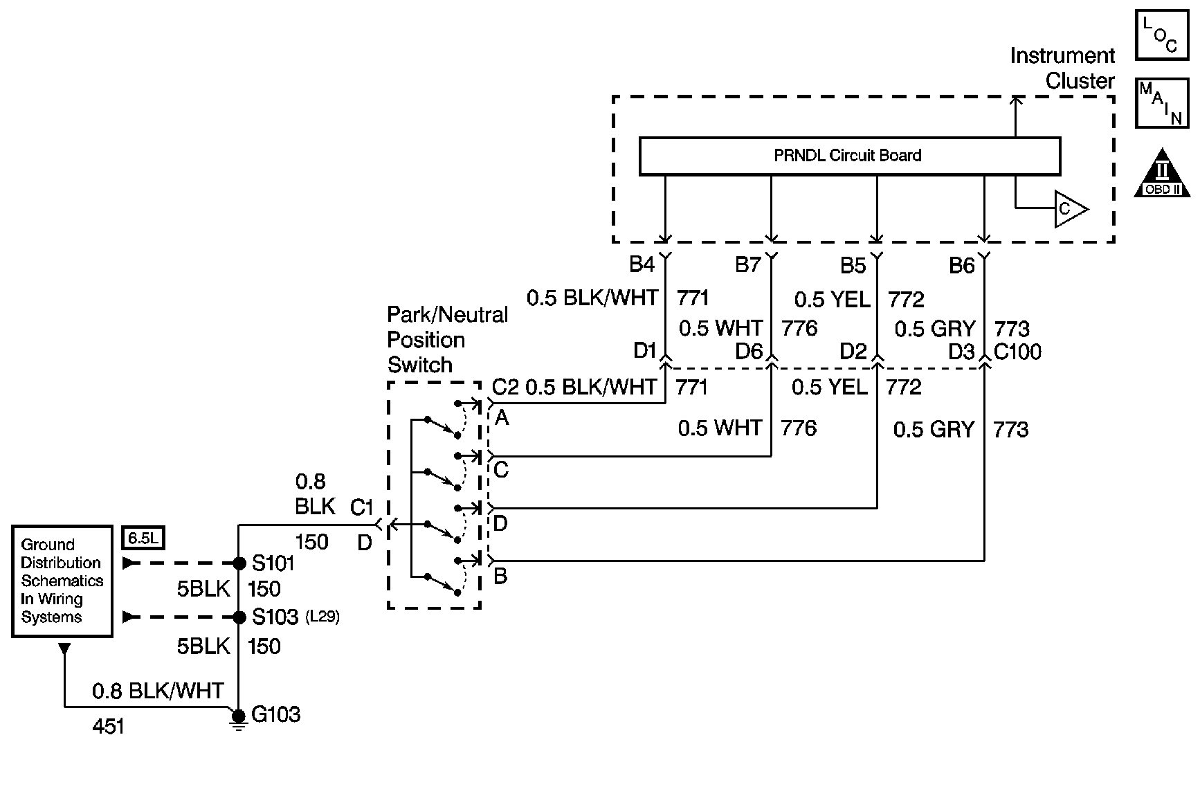
Range Selector Displays Incorrect Range Diesel


Object Number: 728452  Size: MF

Circuit Description

The transmission range (TR) switch is part of the park/neutral position (PNP) and back-up lamp switch assembly, which is externally mounted on the transmission manual shaft. The TR switch contains four internal switches that indicate the transmission gear range selector lever position. The IPC supplies ignition voltage to each switch circuit. As the gear range selector lever is moved, the state of each switch may change, causing the circuit to open or close. An open circuit or switch indicates a high voltage signal in the IPC. A closed circuit or switch indicates a low voltage signal in the IPC. The IPC detects the selected gear range by deciphering the combination of voltage signals.

Diagnostic Aids

If all of the PRNDL indicators are inaccurate, ensure that the park neutral position switch is properly adjusted. Refer to Park/Neutral Position Switch Adjustment .

Step

Action

Value(s)

Yes

No

Schematic Reference: Instrument Cluster Schematics

DEFINITION: The transmission range selector display is inoperative or displays the incorrect gear selection.

1

Did you review the Transmission Electronic Component Description and perform the necessary inspections?

--

Go to Step 2

Go to Electronic Component Description

2

  1. Place the transmission in PARK.
  2. Turn the ignition switch to RUN.
  3. Shift the transmission selector into each gear position.
  4. Observe and record the transmission range indication displayed in each gear position.

Does the PRNDL indicate the correct gear in each position?

--

Go to Testing for Intermittent Conditions and Poor Connections

Go to Step 3

3

Are all of the PRNDL indicators inoperative?

--

Go to Step 4

Go to Step 6

4

Test the off/run/crank voltage circuit for an open, high resistance or a short to ground. Refer to Circuit Testing and Wiring Repairs in Wiring Systems

Did you find and correct the condition?

--

Go to Step 17

Go to Step 5

5

Test the park/neutral position switch ground circuit for an open or high resistance. Refer to Circuit Testing and Wiring Repairs in Wiring Systems.

Did you find and correct the condition?

--

Go to Step 17

Go to Step 6

6

  1. Disconnect park/neutral position switch connector.
  2. Turn the ignition switch to RUN.
  3. Measure the voltage of the transmission range switch A signal circuit. Refer to Circuit Testing in Wiring Systems.

Does the voltage measure near the specified value?

B+

Go to Step 7

Go to Step 11

7

Measure the voltage of the transmission range switch P signal circuit. Refer to Circuit Testing in Wiring Systems.

Does the voltage measure near the specified value?

B+

Go to Step 8

Go to Step 12

8

Measure the voltage of the transmission range switch B signal circuit. Refer to Circuit Testing in Wiring Systems.

Does the voltage measure near the specified value?

B+

Go to Step 9

Go to Step 13

9

Measure the voltage of the transmission range switch C signal circuit. Refer to Circuit Testing in Wiring Systems.

Does the voltage measure near the specified value?

B+

Go to Step 10

Go to Step 14

10

  1. Disconnect the park/neutral position switch connector.
  2. Turn the ignition ON.
  3. Using fused jumper wires, ground the appropriate transmission range switch circuits. Refer to Transmission Range Switch Logic .

Do the inoperative PRNDL indicators illuminate?

--

Go to Step 16

Go to Step 15

11

Repair the open, high resistance or short to ground in the transmission range switch A signal circuit. Refer to Wiring Repairs in Wiring Systems.

Is the repair complete?

--

Go to Step 17

Go to Step 2

12

Repair the open, high resistance or short to ground in the transmission range switch P signal circuit. Refer to Wiring Repairs in Wiring Systems.

Is the repair complete?

--

Go to Step 17

Go to Step 2

13

Repair the open, high resistance or short to ground in the transmission range switch B signal circuit. Refer to Wiring Repairs in Wiring Systems.

Is the repair complete?

--

Go to Step 17

Go to Step 2

14

Repair the open, high resistance or short to ground in the transmission range switch C signal circuit. Refer to Wiring Repairs in Wiring Systems.

Is the repair complete?

--

Go to Step 17

Go to Step 2

15

Replace the instrument cluster. Refer to Instrument Cluster Replacement in Instrument Panel, Gauges and Console.

Is the repair complete?

--

Go to Step 17

Go to Step 2

16

Adjust or replace the park/neutral position switch. Refer to Park/Neutral Position Switch Adjustment or Park/Neutral Position Switch Replacement .

Is the repair complete?

--

Go to Step 17

Go to Step 2

17

Operate the system in order to verify the repair.

Did you correct the condition?

--

System OK

Go to Step 2