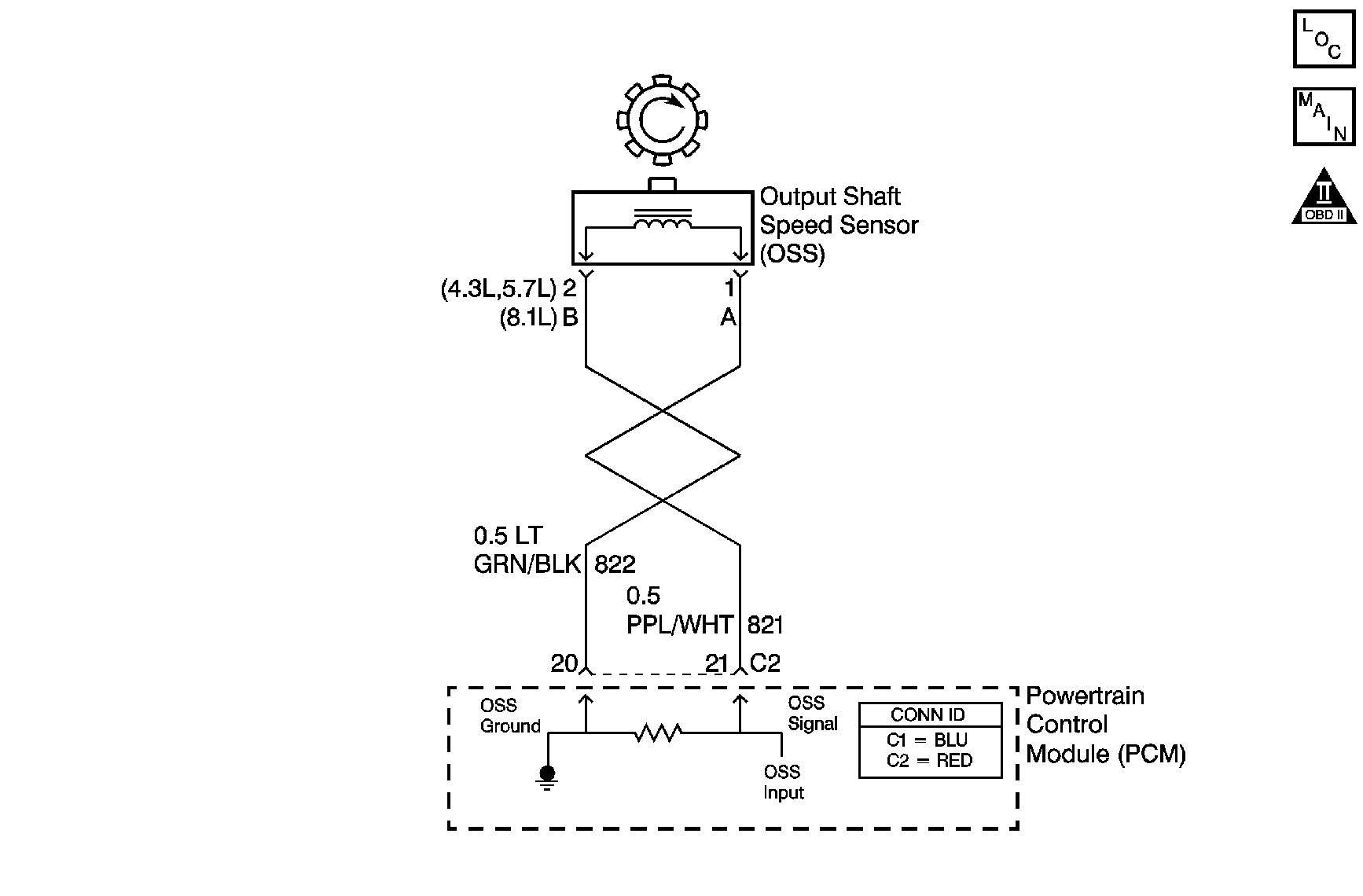
The output shaft speed (OSS) sensor , which is a permanent magnet generator, provides the vehicle speed information to the powertrain control module (PCM). The PM generator produces a pulsing AC voltage as the transmission speed sensors rotor teeth pass through the sensor's magnetic field. The AC voltage level and the number of pulses increase as the speed of the vehicle increases. The PCM then converts the pulsing voltage to a digital signal for vehicle speed. The vehicle speed is used for engine and transmission calculations.
If the PCM detects a low vehicle speed and there is a high engine speed in a drive gear range, DTC P0502 sets. DTC P0502 is a type C DTC. For California emissions, DTC P0502 is a type B DTC.
| • | No MAF sensor DTCs P0101, P0102 or P0103. |
| • | No MAP sensor DTCs P0106, P0107 or P0108. |
| • | No TP sensor DTCs P0122 or P0123. |
| • | No TFP manual valve position switch DTC P1810. |
| • | No AT ISS DTCs P0716 or P0717. |
| • | The engine torque must be between 108 N·m (80 lb ft) and: |
| • | 4.3 L, 5.7 L: 542 N·m (400 lb ft) |
| • | 8.1 L: 881 N·m (650 lb ft) |
| • | No change in 4WD low for at least 2 seconds. |
| • | The AT ISS is greater than 1,400 RPM. |
| • | The gear range is not PARK or NEUTRAL. |
| • | The system voltage is 8-18 volts. |
| • | TP angle is greater than 10 percent. |
| • | The engine is running greater than 400 RPM for greater than 7 seconds. |
The AT OSS is less than 50 RPM for at least 4 seconds.
| • | For California emission equipped vehicles, the PCM illuminates the malfunction indicator lamp (MIL) during the second consecutive trip in which the Conditions for Setting the DTC are met. For Non-California emission equipped vehicles, the malfunction indicator lamp (MIL) is not illuminated. |
| • | The PCM commands maximum line pressure. |
| • | The PCM freezes the shift adapts. |
| • | The PCM defaults a calculated output speed value by using the AT ISS values. |
| • | The PCM records the operating conditions when the Conditions for Setting the DTC are met. The PCM stores this information as Freeze Frame (Calif. only) and Failure Records (Calif. and Federal). |
| • | The PCM stores the DTC P0502 in PCM history during the second consecutive trip (Calif.) or the first trip (Federal) in which the Conditions for Setting the DTC are met. |
| • | For California emissions, the PCM turns OFF the MIL during the third consecutive trip in which the diagnostic test runs and passes. |
| • | A scan tool can clear the MIL/DTC. |
| • | For California emissions, the PCM clears the DTC from PCM history if the vehicle completes 40 warm-up cycles without an emission related diagnostic fault occurring. |
| • | For Federal emissions, the PCM clears the DTC from PCM history if the vehicle completes 40 warm-up cycles without a non-emission related diagnostic fault occurring. |
| • | The PCM cancels the DTC default actions when the fault no longer exists and the ignition switch is OFF long enough in order to power down the PCM. |
DTC P0502 defaults to an elevated line pressure condition which may result in TCC partial apply. This may induce idle surge and engine stall.
The numbers below refer to the step numbers on the diagnostic table.
Step | Action | Value(s) | Yes | No |
|---|---|---|---|---|
1 | Did you perform the Powertrain Diagnostic System Check? | -- | Go to Diagnostic System Check - Engine Controls (4.3 L) or Diagnostic System Check - Engine Controls (5.0/5.7 L) or Diagnostic System Check - Engine Controls (8.1 L) in Engine Controls | |
2 |
Important: Before clearing the DTC, use the Scan Tool in order to record the Freeze Frame and Failure Records for reference. The Clear Info function will erase the data. With the drive wheels rotating, does the Scan Tool Transmission OSS increase with the drive wheel speed? | -- | Go to Intermittent Conditions (4.3 L) or Intermittent Conditions (5.0/5.7 L) or Intermittent Conditions (8.1 L) in Engine Controls | |
3 |
Does the resistance measure within the specified range? | 1,377-3,355 ohms | ||
Does the voltage measure greater than the specified value? | 0.5 V | |||
5 | Measure the resistance from terminal C2-21 to ground. Does the resistance measure greater than the specified value? | 50 K ohms | ||
6 |
Refer to Circuit Testing and Wiring Repairs in Wiring Systems. Did you find and correct the condition? | -- | ||
Does the resistance measure within the specified range? | 1,377-3,355 ohms | |||
8 | Was the resistance measured in Step 3 greater than the specified value? | 3,355 ohms | ||
9 | Test the high circuit (CKT 821) of the AT OSS assembly for a short to ground. Refer to Circuit Testing and Wiring Repairs in Wiring Systems. Did you find and correct the condition? | -- | -- | |
10 |
Refer to Circuit Testing and Wiring Repairs in Wiring Systems. Did you find and correct the condition? | -- | -- | |
11 | Test the high circuit (CKT 821) and the low circuit (CKT 822) of the AT OSS assembly for a short together. Refer to Circuit Testing and Wiring Repairs in Wiring Systems. Did you find and correct the condition? | -- | -- | |
12 |
Did you find and correct the condition? | -- | ||
13 |
Important: For vehicles equipped with an active transfer case, identify the AT OSS assembly before replacing. There are two transfer case speed sensors located near the AT OSS assembly. Refer to the wire colors on the schematic to identify the AT OSS assembly. Replace the AT OSS assembly. Refer to Vehicle Speed Sensor Replacement . Did you complete the replacement? | -- | -- | |
14 | Replace the PCM. Refer to Powertrain Control Module Replacement (4.3 L) or Powertrain Control Module Replacement (5.0/5.7 L) or Powertrain Control Module Replacement (8.1 L) in Engine Controls. Did you complete the replacement? | -- | -- | |
15 | Perform the following procedure in order to verify the repair:
Has the test run and passed? | -- | System OK |