GM Service Manual Online
For 1990-2009 cars only
Makes
🢒
Chevrolet
🢒
2002
🢒
Express
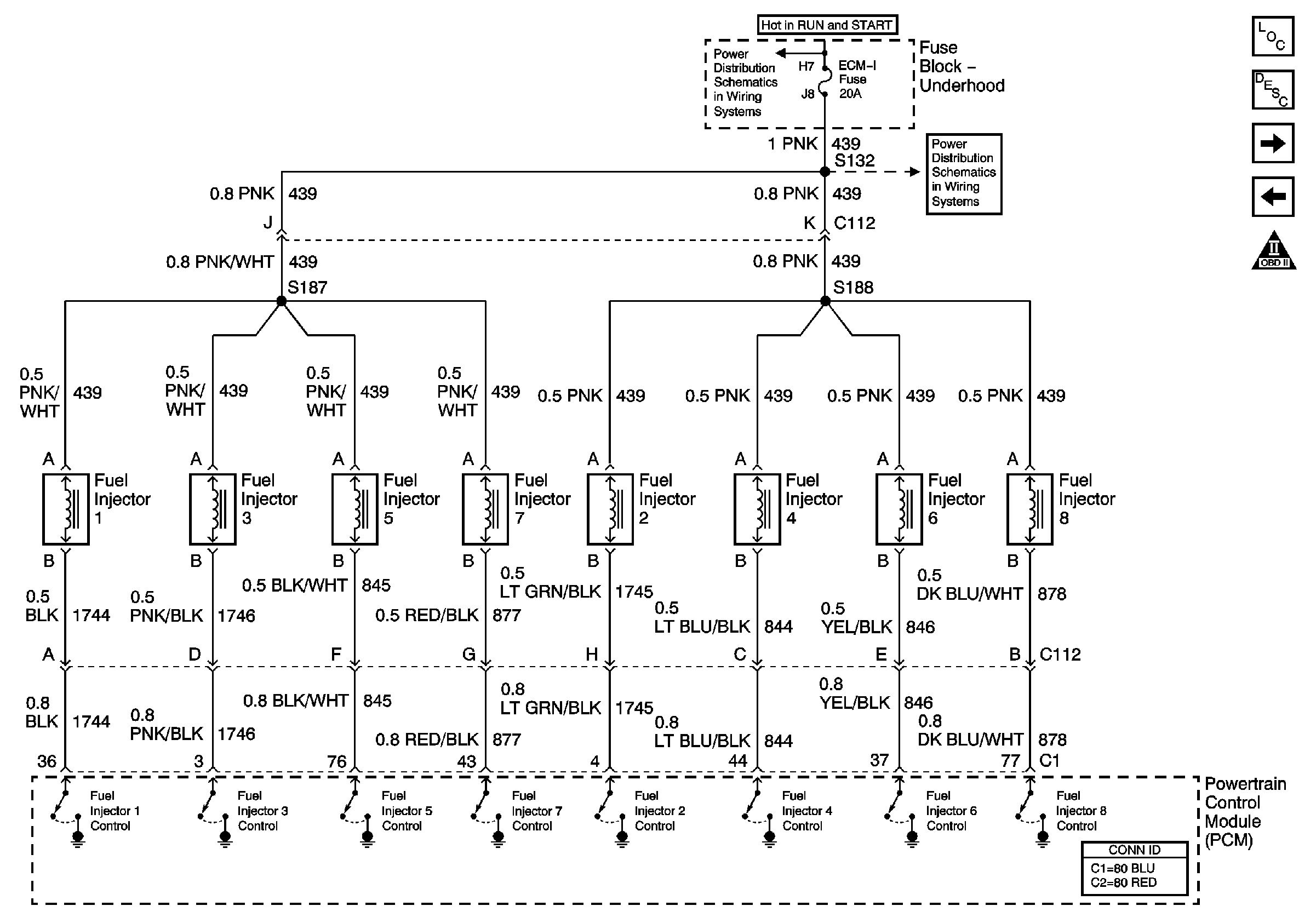
🢒 Fuel Controls: Fuel Injectors
Fuel Controls: Fuel Injectors
Fuel Controls: Fuel Injectors
Master Electrical Component List
Powertrain Control Module Description
Fuel Controls: EVAP Controls
Fuel Controls: Fuel Pump Controls
OBD II Symbol Description Notice
Ignition A, Ignition B Fuses, and Ignition Switch
ECM 1 and Ignition E Fuses - 8.1L