GM Service Manual Online
For 1990-2009 cars only
Makes
🢒
Chevrolet
🢒
2002
🢒
Express
🢒 Charging System: Diesel Engine
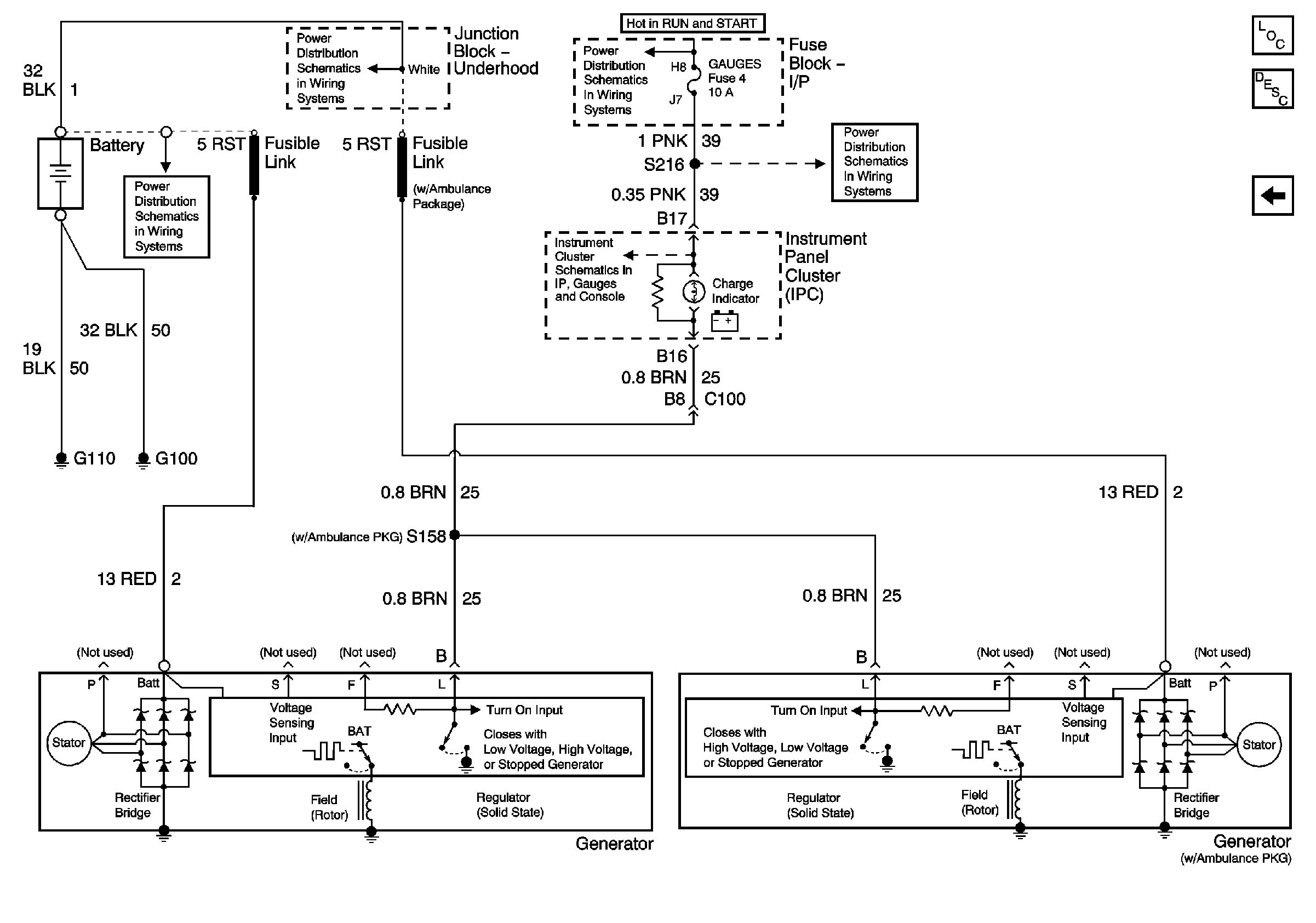
Charging System: Diesel Engine
Charging System: Diesel Engine
Master Electrical Component List
Charging System Description and Operation
Charging System: Gasoline Engines
Gages Fuse
Ignition A, Ignition B Fuses, and Ignition Switch
Battery, Auxiliary Battery, and Underhood Fuse/Relay Center
Battery, Auxiliary Battery, and Underhood Fuse/Relay Center
Indicators 1 of 2 - Diesel