GM Service Manual Online
For 1990-2009 cars only
Makes
🢒
Chevrolet
🢒
2004
🢒
Express
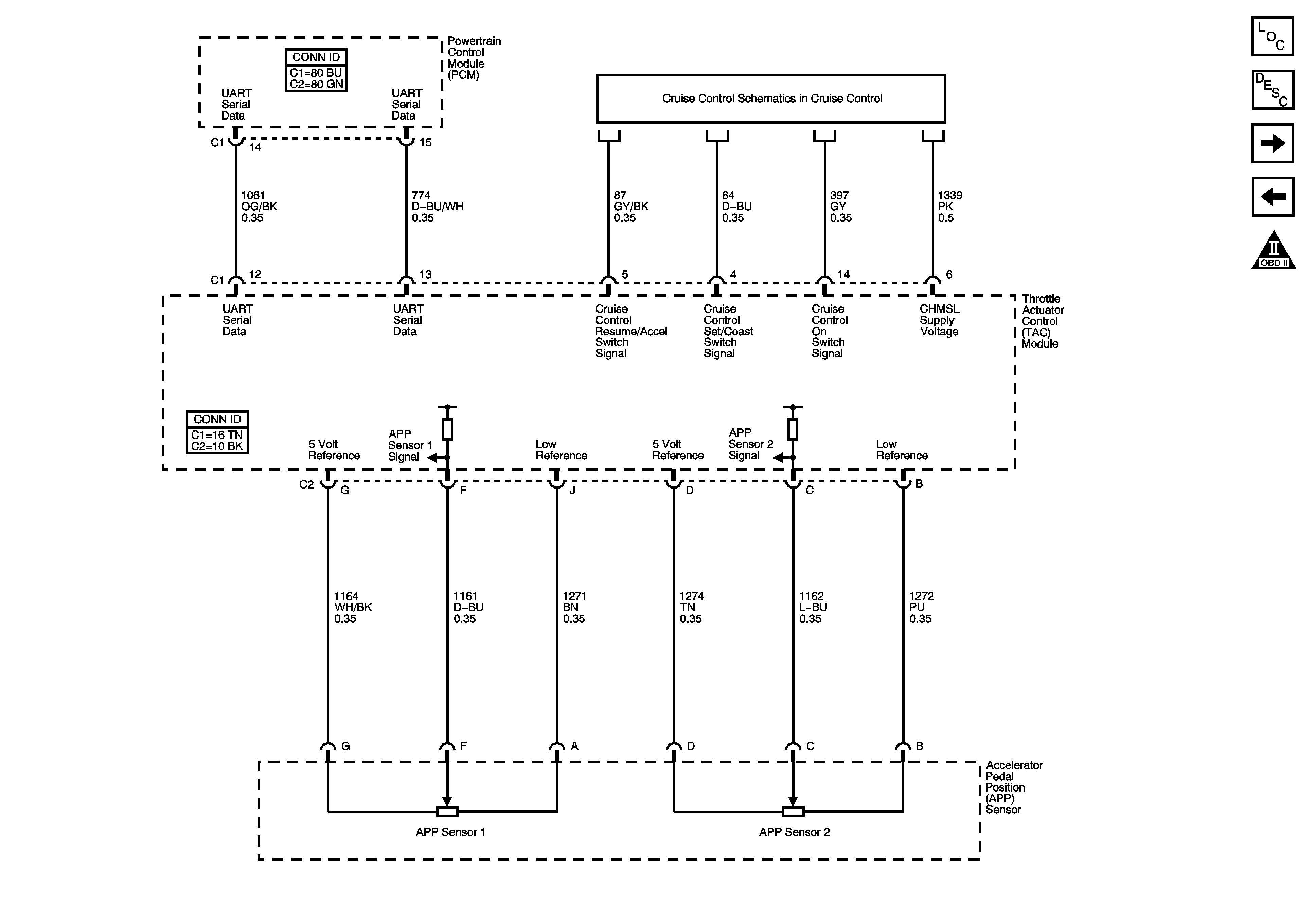
🢒 Engine Data Sensors - Electronic Throttle Controls 2 of 2 (JL4)
Engine Data Sensors - Electronic Throttle Controls 2 of 2 (JL4)
Engine Data Sensors - Throttle Actuator Controls - 2 of 2 (JL4)
Master Electrical Component List
Powertrain Control Module Description
Ignition Controls - Sensors
Engine Data Sensors - Electronic Throttle Controls 1 of 2 (JL4)
Engine Controls Schematic Icons
JL4