GM Service Manual Online
For 1990-2009 cars only
Makes
🢒
Chevrolet
🢒
2007
🢒
Express
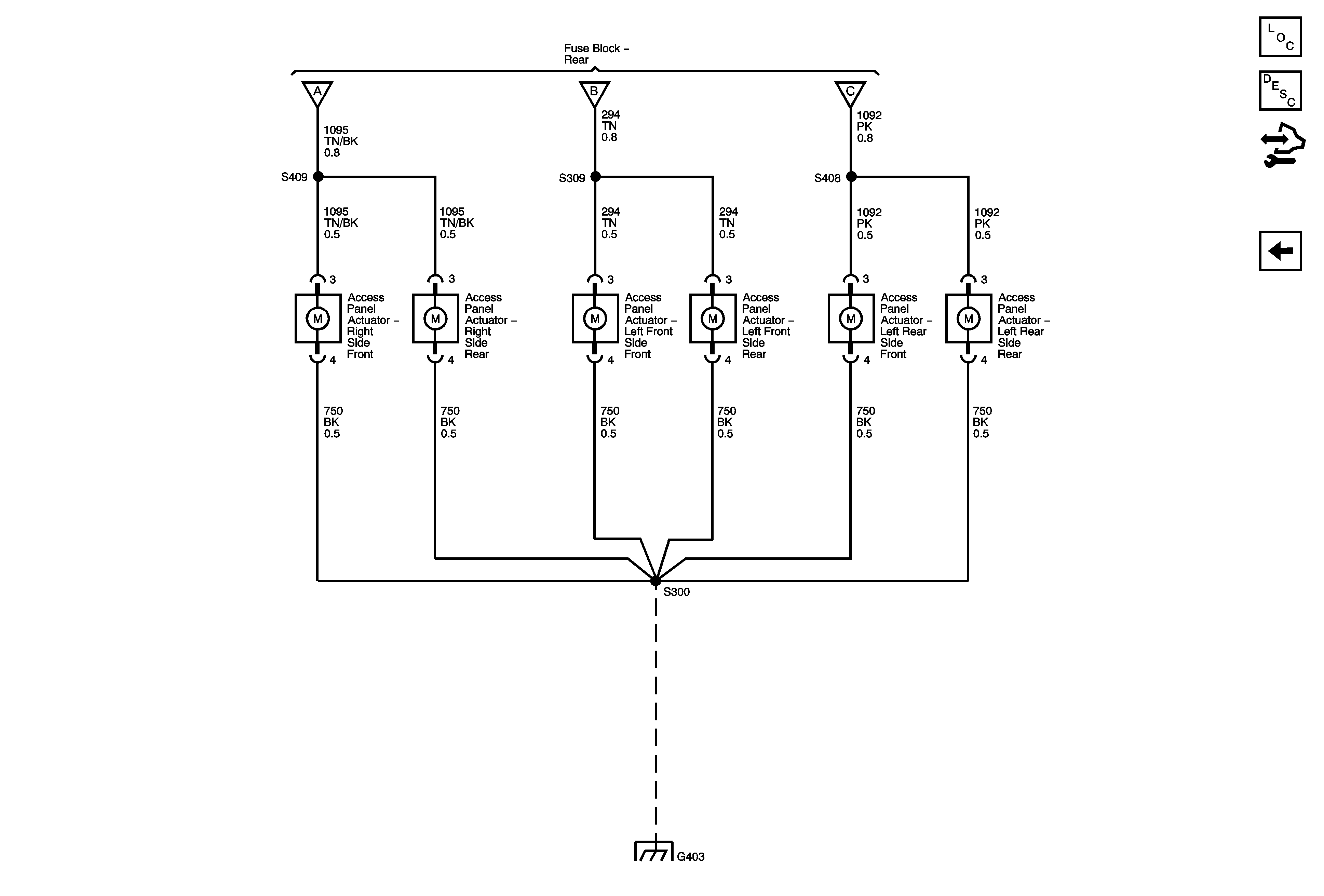
🢒 Access Panel Actuators
Access Panel Actuators
Access Panel Actuators
Master Electrical Component List
Access Panel Description and Operation
Control Module References
Access Panel Relay Control
Access Panel Relay Control
Access Panel Relay Control
Access Panel Relay Control
G401 - Passenger/Cargo and G403 - PRP