GM Service Manual Online
For 1990-2009 cars only
Makes
🢒
Chevrolet
🢒
2000
🢒
Impala
🢒 LED Displays
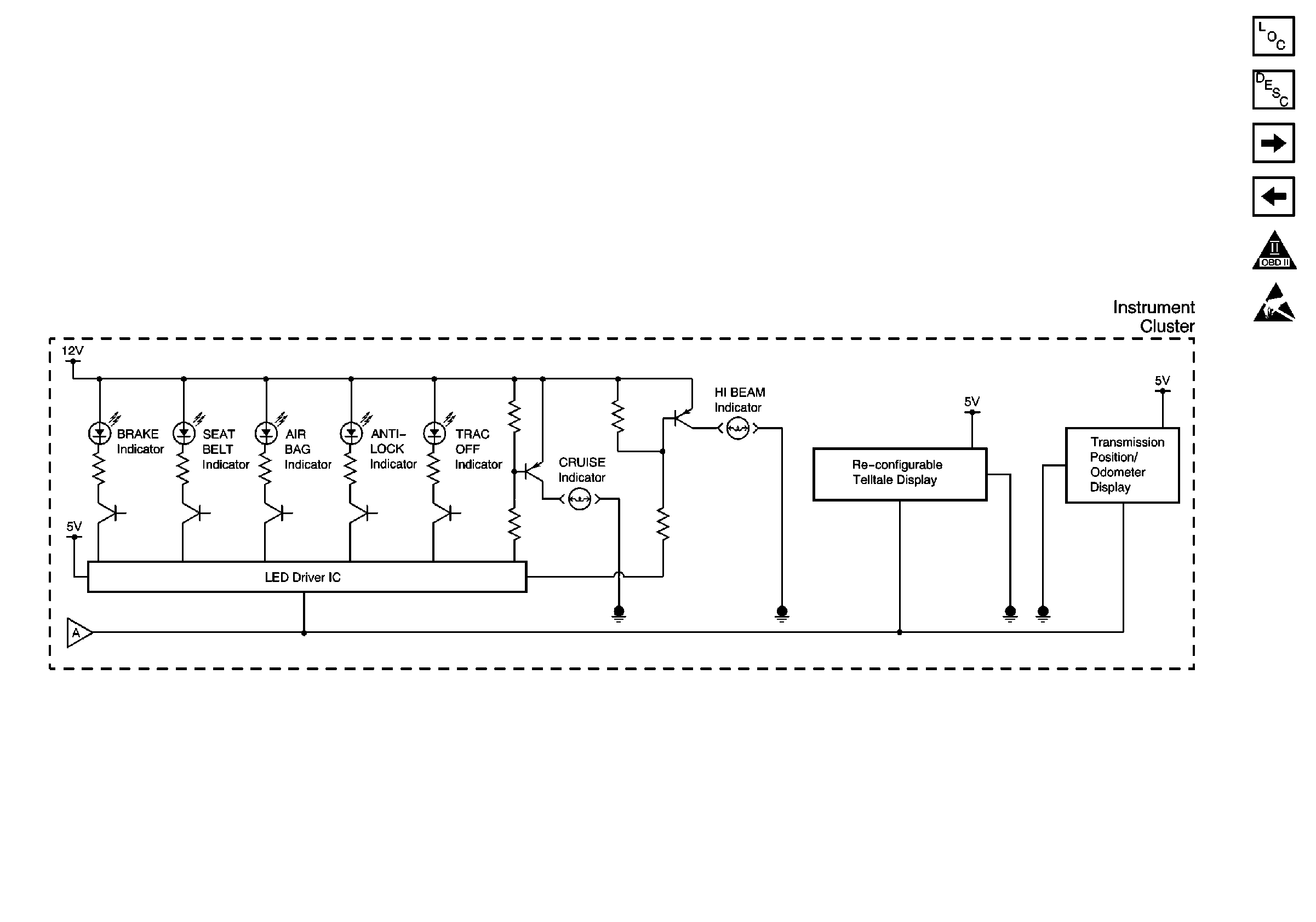
LED Displays
LED Displays
Instrument Cluster Components
Instrument Cluster Circuit Description
Direct Inputs 1 of 2
Power, DLC, BCM, PCM, SP205, G203
OBD II Symbol Description Notice
Handling ESD Sensitive Parts Notice