GM Service Manual Online
For 1990-2009 cars only
Makes
🢒
Chevrolet
🢒
2000
🢒
Impala
🢒 Driver Information Center
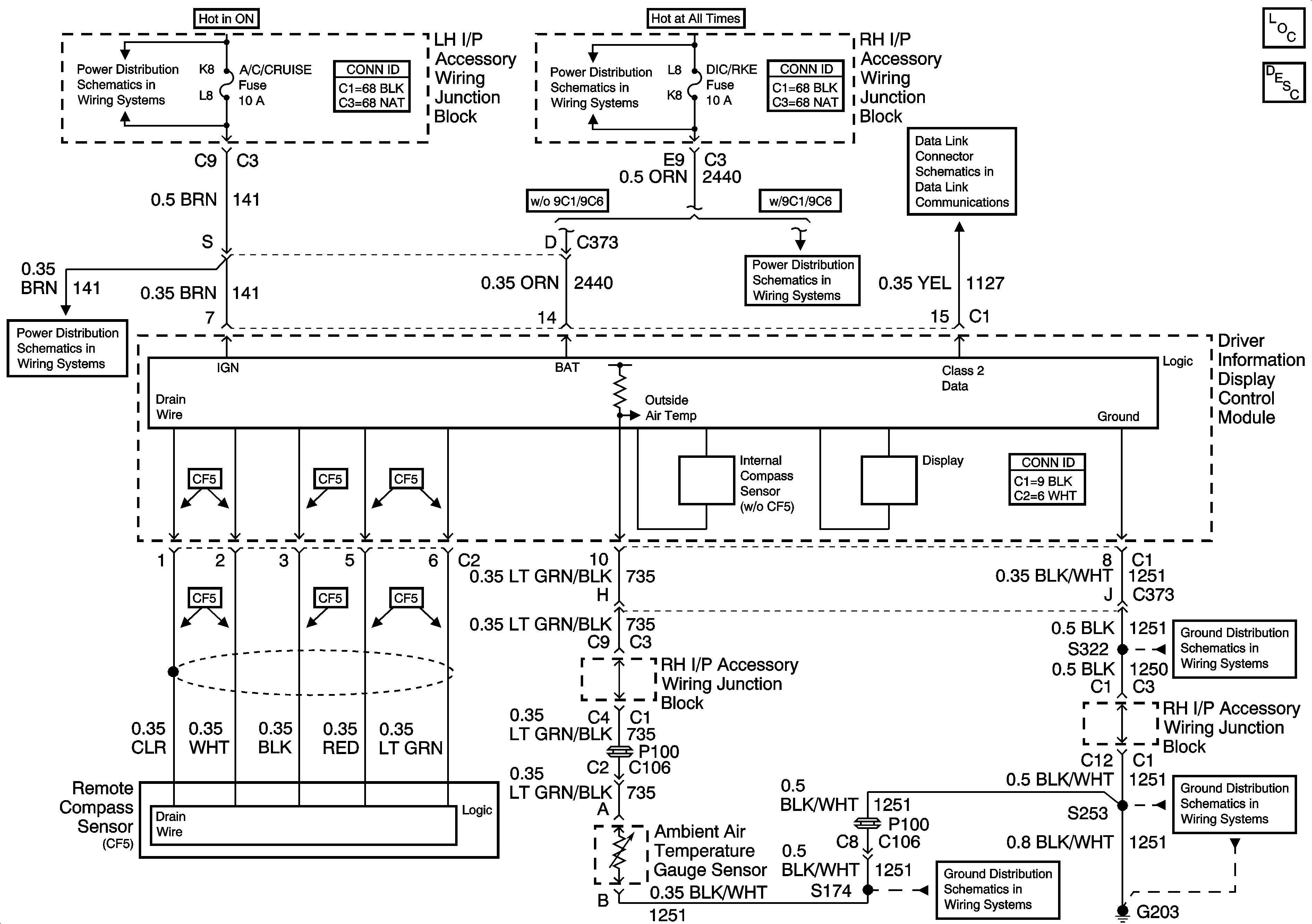
Driver Information Center
Driver Information Center
Instrument Cluster Components
Driver Information Center (DIC) or Message Center Description
A/C CRUISE, A/C FAN and CRUISE Fuses
A/C CRUISE, A/C FAN and CRUISE Fuses
B/U LP, DIC/RKE and FRT PARK LP Fuses, and BACKUP LP, BATT RUN DOWN PROTECTION and PARK LP Relays
B/U LP, DIC/RKE and FRT PARK LP Fuses, and BACKUP LP, BATT RUN DOWN PROTECTION and PARK LP Relays
Data Link Communications Schematic
G203 (1 of 3)
G203 (2 of 3)
G203 (3 of 3)