GM Service Manual Online
For 1990-2009 cars only
Makes
🢒
Chevrolet
🢒
2000
🢒
Impala
🢒 SEO: Wiring Harness Junction Block - RPO 9C1, 9C6
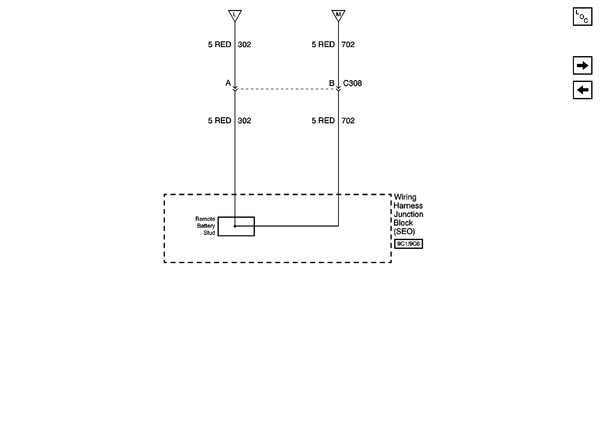
SEO: Wiring Harness Junction Block - RPO 9C1, 9C6
SEO: Wiring Harness Junction Block -- RPO 9C1, 9C6
Battery, EBCM, Engine Wiring Harness Junction Blocks (Bottom and Top),Fusible Links, Generator, Remote Battery Stud and Starter
Battery, EBCM, Engine Wiring Harness Junction Blocks (Bottom and Top),Fusible Links, Generator, Remote Battery Stud and Starter
Power and Grounding Components
PCM BCM/CLSTR, PWR MIR, CLSTR/BCM Fuses, RETAINED ACCSRY PWR CIRCUIT Breaker, HEADLAMP and RETAINED ACCSRY PWR Relays
Fuse Block (SEO): Circuit Breaker 1, Circuit Breaker 2 and Circuit Breaker 3