GM Service Manual Online
For 1990-2009 cars only

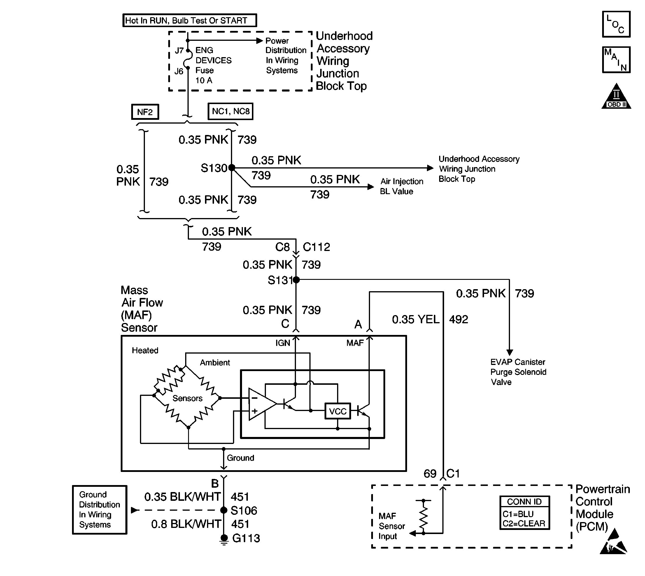
Object Number: 515401  Size: LF
Engine Controls Component Views
Engine Data Sensors-MAF, EVAP Vent, EVAP Purge, EGR
OBD II Symbol Description Notice
Handling ESD Sensitive Parts Notice

Circuit Description

The mass air flow (MAF) sensor measures the amount of air which passes through it into the engine during a given time. The PCM uses the mass air flow information to monitor engine operating conditions for fuel delivery calculations. A large quantity of air entering the engine indicates an acceleration or high load situation, while a small quantity of air indicates deceleration or idle. The MAF sensor produces a frequency signal which can be monitored using a scan tool. The frequency will vary within a range of around 2000 Hertz at idle to about 10,000 Hertz at maximum engine load. If the signal frequency from the MAF sensor is higher than the possible range of a normally operating MAF sensor. DTC P0103 will set.

Conditions for Running the DTC

    • The engine is running.
    • The TP angle is less than 50 percent.
    • The system voltage is more than 8 volts.

Conditions for Setting the DTC

    • MAF signal frequency is more than 11,500 Hertz.
    • The above conditions are present for more than 0.5 seconds + 400 3X reference periods (133 crankshaft revolutions).

Action Taken When the DTC Sets

    • The PCM will illuminate the malfunction indicator lamp (MIL) during the second consecutive trip in which the diagnostic test has been run and failed.
    • The PCM will store conditions which were present when the DTC set as Freeze Frame/Failure Records data.

Conditions for Clearing the MIL/DTC

    • The PCM will turn OFF the malfunction indicator lamp (MIL) during the third consecutive trip in which the diagnostic has run and passed.
    • The history DTC will clear after 40 consecutive warm-up cycles have occurred without a malfunction.
    • The DTC can be cleared by using a scan tool.

Diagnostic Aids

Check for the following conditions:

    • Poor connection at the PCM -- Inspect harness connectors for the following conditions:
       - Backed out terminals
       - Improper mating
       -  Broken locks
       -  Improperly formed or damaged terminals
       - Poor terminal to wire connection
    • Misrouted harness -- Inspect the MAF sensor harness to ensure that it is not routed too close to high voltage wires such as spark plug leads.
    • Damaged harness -- Inspect the wiring harness for damage.
    • If the harness appears to be OK, observe the scan tool while moving connectors and wiring harnesses related to the MAF sensor. A change in the display will indicate the location of the malfunction.

If the DTC cannot be duplicated and is determined to be intermittent, reviewing the Failure Records can be useful in determining when the DTC was last set. Also refer to Testing for Intermittent Conditions and Poor Connections in Wiring Systems.

Test Description

The numbers below refer to the step numbers on the diagnostic table:

  1. This step verifies that the problem is present at idle.

  2. A frequency reading with the MAF sensor connector disconnected indicates an electromagnetic interference (EMI) related malfunction or a poor connection.

  3. This vehicle is equipped with a PCM which utilizes an Electrically Erasable Programmable Read Only Memory (EEPROM). When the PCM is being replaced, the new PCM must be programmed.

DTC P0103 - MAF Sensor Circuit High Frequency

Step

Action

Values

Yes

No

1

Did you perform the Powertrain On-Board Diagnostic (OBD) System Check?

--

Go to Step 2

Go to Powertrain On Board Diagnostic (OBD) System Check

2

  1. Start the engine.
  2. With the engine idling, monitor MAF Frequency on the scan tool.

Is MAF Frequency greater than the specified value?

11,500 Hz

Go to Step 4

Go to Step 3

3

  1. Turn ON the ignition, with the engine OFF.
  2. Review and record scan tool Failure Records data.
  3. Operate the vehicle within Failure Records conditions.
  4. Using a scan tool, monitor Specific DTC info for DTC P0103.

Does the scan tool indicate DTC P0103 failed this ignition?

--

Go to Step 4

Go to Diagnostic Aids

4

  1. Turn OFF the ignition.
  2. Disconnect the MAF sensor connector.
  3. Start the engine.
  4. Monitor MAF Frequency on the scan tool.

Does the scan tool indicate MAF Frequency at the specified value?

0 Hz

Go to Step 5

Go to Step 7

5

  1. Test for a poor connection at the MAF sensor harness terminals.
  2. If a poor connection is found, repair as necessary. Refer to Wiring Repairs in Wiring Systems.

Did you find and correct the condition?

--

Go to Step 10

Go to Step 6

6

Replace the MAF sensor. Refer to Mass Airflow Sensor Replacement

Did you complete the replacement?

--

Go to Step 10

--

7

  1. Inspect the MAF sensor harness for incorrect routing:
  2. • Near secondary ignition wires or coils
    • Near other high voltage components, solenoids, relays, and motors.
  3. If a problem is found, repair as necessary.

Did you find and correct the condition?

--

Go to Step 10

Go to Step 8

8

  1. Inspect MAF signal circuit terminal connections at the PCM.
  2. If a poor connection is found, replace loose terminals. Refer to Wiring Repairs in Wiring Systems.

Did you find and correct the condition?

--

Go to Step 10

Go to Step 9

9

Important:: The replacement PCM must be programmed.

Replace the PCM. Refer to Powertrain Control Module Replacement/Programming .

Did you complete the replacement?

--

Go to Step 10

--

10

  1. Use a scan tool to Clear the DTCs.
  2. Operate the vehicle within the Conditions for Running the DTC as specified in the supporting text.

Does the DTC reset?

--

Go to Step 2

System OK