GM Service Manual Online
For 1990-2009 cars only

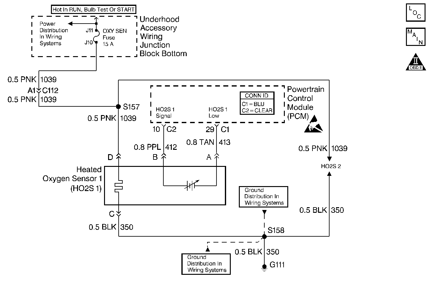
Object Number: 515314  Size: MF
Engine Controls Component Views
Engine Data Sensors-MAF, EVAP Vent, EVAP Purge, EGR
OBD II Symbol Description Notice
Handling ESD Sensitive Parts Notice

Circuit Description

The PCM supplies a bias voltage of about 450 mV between the HO2S signal and low circuits. When measured with a 10 megaohm DMM, this may display as low as 320 mV. The oxygen sensor varies the voltage within a range of about 1000 mV when the exhaust is rich, down through about 100 mV when exhaust is lean. The PCM constantly monitors the HO2S signal during Closed Loop operation and compensates for a rich or lean condition by decreasing or increasing injector pulse width as necessary. If the HO2S 1 voltage remains excessively low for an extended period of time, DTC P0131 will set.

Conditions for Running the DTC

    • No active TP sensor, EVAP system, misfire, IAT sensor, MAP sensor, fuel trim, fuel injector circuit, EGR Pintle Position, ECT sensor, CKP sensor, or MAF sensor DTCs present.
    • System voltage is more than 9 volts.
    • Closed loop commanded air/fuel ratio is between 14.5 and 14.8.
    • Throttle angle is between 3 percent and 40 percent.

Conditions for Setting the DTC

    • HO2S 1 signal voltage remains below 175 mV during normal Closed Loop operation for longer than 45 seconds.
        OR
    • HO2S 1 signal voltage remains below 600 mV during power enrichment mode fuel control operation for longer than 55 seconds.

Action Taken When the DTC Sets

    • The PCM will illuminate the malfunction indicator lamp (MIL) during the second consecutive trip in which the diagnostic test has been run and failed.
    • The PCM will store conditions which were present when the DTC set as Freeze Frame/Failure Records data.

Conditions for Clearing the MIL/DTC

    • The PCM will turn OFF the malfunction indicator lamp (MIL) during the third consecutive trip in which the diagnostic has run and passed.
    • The history DTC will clear after 40 consecutive warm-up cycles have occurred without a malfunction.
    • The DTC can be cleared by using a scan tool.

Diagnostic Aids

Check for the following conditions:

    • Heated oxygen sensor wiring -- The sensor pigtail may be routed incorrectly and contacting the exhaust system.
    • Poor PCM to engine block grounds, refer to Ground Distribution Schematics in Wiring Systems.
    • Fuel pressure -- The system will go lean if pressure is too low. The PCM can compensate for some decrease. However, if fuel pressure is too low, a DTC P0131 may be set. Refer to Fuel System Pressure Test (VIN K) .
    • Fuel injectors -- Refer to Fuel Injector Solenoid Coil Test - Engine Coolant Temperature Between 10-35 Degrees C (50-95 Degrees F) or Fuel Injector Solenoid Coil Test - Engine Coolant Temperature Outside 10-35 Degrees C (50-95 Degrees F) .
    • Vacuum leaks -- Check for the following conditions:
       - Disconnected or damaged vacuum hoses, refer to Emission Hose Routing Diagram
       - Incorrectly installed or malfunctioning crankcase ventilation valve, refer to Crankcase Ventilation System Inspection .
       - Vacuum leaks at the throttle body, EGR valve, and intake manifold mounting surfaces.
    • Exhaust leaks -- An exhaust leak may cause outside air to be pulled into the exhaust gas stream past the HO2S, causing the system to appear lean. Check for exhaust leaks that may cause a false lean condition to be indicated. Refer to Exhaust Leakage in Engine Exhaust.
    • MAF sensor -- Disconnect the MAF sensor and see if the lean condition is corrected. If so, replace MAF sensor.
    •  Fuel contamination -- Water, even in small amounts, can be delivered to the fuel injectors. The water can cause a lean exhaust to be indicated. Excessive alcohol in the fuel can also cause this condition. Refer to Alcohol/Contaminants-in-Fuel Diagnosis .
    • If none of the above conditions are present, replace the affected HO2S. Refer to Heated Oxygen Sensor Replacement .

If the DTC cannot be duplicated and is determined to be intermittent, reviewing the Failure Records can be useful in determining when the DTC was last set. Also refer to Testing for Intermittent Conditions and Poor Connections in Wiring Systems.

Test Description

The numbers below refer to step numbers on the diagnostic table:

  1. This DTC failing during power enrichment operation, TP angle above 60 percent, may indicate a condition described in Diagnostic Aids. If this DTC test passes while the Failure Records conditions are being duplicated, an intermittent condition is indicated. Review the Fail Records vehicle mileage since the diagnostic test last failed. This may help determine how often the condition that caused the DTC to be set occurs.

  2. This vehicle is equipped with a PCM which utilizes an Electrically Erasable Programmable Read Only Memory (EEPROM). When the PCM is replaced, the new PCM must be programmed.

P0131

Step

Action

Values

Yes

No

1

Did you perform the Powertrain On-Board Diagnostic (OBD) System Check?

--

Go to Step 2

Go to Powertrain On Board Diagnostic (OBD) System Check

2

Important: During this step, observe all H02S voltage parameters. If all parameters remain below the specified value refer to Diagnostic Aids.

  1. Operate vehicle within the Conditions for Setting parameters.
  2. With a scan tool, observe HO2S voltage parameter.

Does the HO2S voltage remain below the specified value?

400 mV

Go to Step 4

Go to Step 3

3

Operate vehicle within Failure Records conditions.

Does the scan tool indicate this DTC failed this ignition?

--

Go to Step 4

Go to Diagnostic Aids

4

  1. Disconnect the HO2S.
  2. Turn ON the ignition.

Does scan tool indicate HO2S voltage less than the specified value?

400 mV

Go to Step 5

Go to Step 7

5

Test the HO2S signal circuit for a short to ground or a short to the sensor ground circuit. Refer to Circuit Testing and Wiring Repairs in Wiring Systems.

Did you find and correct the condition?

--

Go to Step 8

Go to Step 6

6

Important: The replacement PCM must be programmed.

Replace the PCM. Refer to Powertrain Control Module Replacement/Programming

Did you complete the repair?

--

Go to Step 8

--

7

Replace the HO2S. Refer to Heated Oxygen Sensor Replacement .

Did you complete the repair?

--

Go to Step 8

--

8

  1. Use the scan tool in order to clear the DTCs.
  2. Operate the vehicle within the Failure Record conditions.

Does the DTC reset?

--

Go to Step 2

System OK