GM Service Manual Online
For 1990-2009 cars only

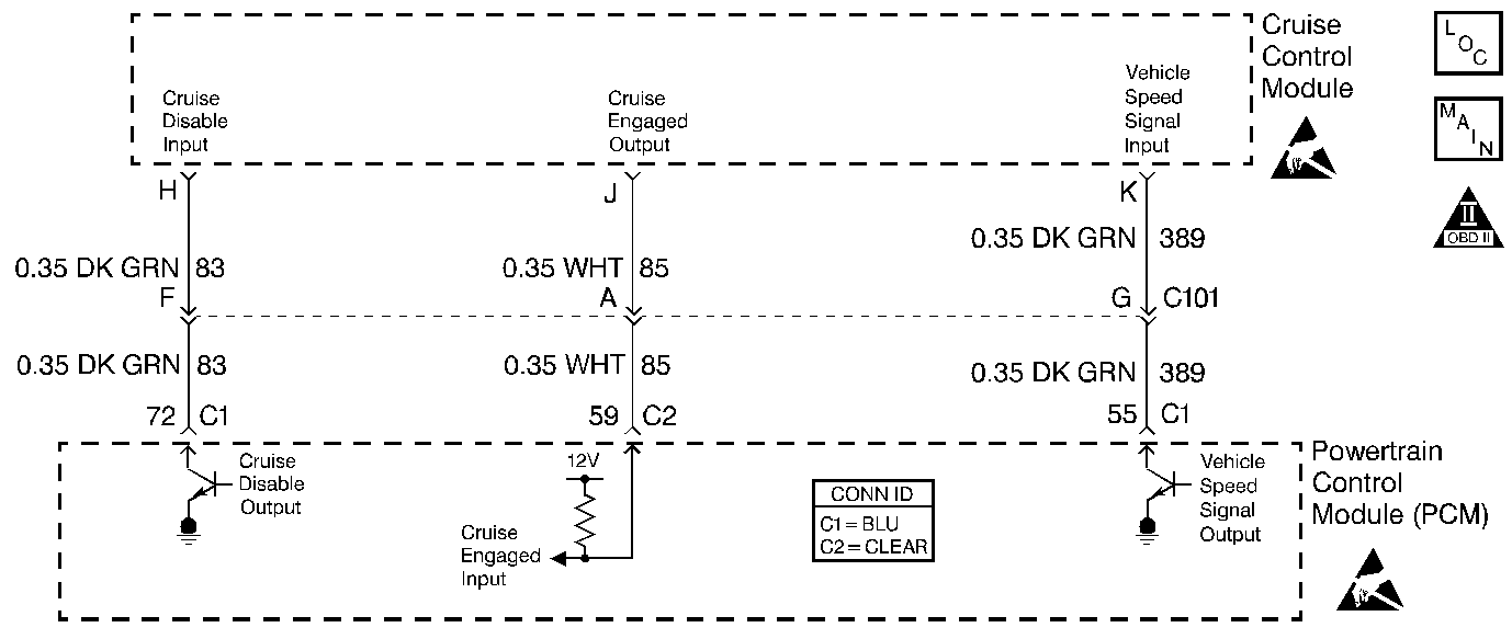
Object Number: 515405  Size: SF
Engine Controls Component Views
Engine Data Sensors-MAF, EVAP Vent, EVAP Purge, EGR
Handling ESD Sensitive Parts Notice
OBD II Symbol Description Notice
Handling ESD Sensitive Parts Notice

Circuit Description

The PCM has the ability to disable cruise control if conditions are detected which would make cruise control operation undesirable. The following conditions may cause cruise control to be inhibited by the PCM:

    • Engine not running long enough for cruise control operation.
    • Transaxle range switch indicates park, neutral, low, or reverse gear selected.
    • Engine speed is too high or too low.
    • Vehicle speed is too high or too low.
    • ABS system is active for longer than 2 seconds.
    • Vehicle acceleration or deceleration rate is too high.

If any of these conditions are present, the PCM will interrupt the ground on the cruise disable circuit to request that cruise control be disengaged. If the cruise engaged signal indicates that cruise control is still engaged while the PCM is inhibiting cruise control operation, DTC P1554 will set.

Action Taken When the DTC Sets

The PCM stores conditions which were present when the DTC set as Failure Records only. This information will not be stored as Freeze Frame Records.

Conditions for Clearing the MIL/DTC

    • The DTC becomes history when the conditions for setting the DTC are no longer present.
    • The history DTC clears after 40 malfunction free warm-up cycles.
    • The PCM receives a clear code command from the scan tool.

Diagnostic Aids

Check for the following conditions:

    • Poor connection at the PCM -- Inspect harness connectors for the following conditions:
       - Backed out terminals
       - Improper mating
       - Broken locks
       - Improperly formed or damaged terminals
       - Poor terminal to wire connection
    • Damaged harness -- Inspect the wiring harness for damage. If the harness appears to be OK, observe the Cruise Status display on the scan tool while moving connectors and wiring harnesses related to the Stepper Motor Cruise Control module. A change in the display will indicate the location of the malfunction.

If the DTC cannot be duplicated and is determined to be intermittent, reviewing the Failure Records can be useful in determining when the DTC was last set. Also refer to Testing for Intermittent Conditions and Poor Connections in Wiring Systems.

Test Description

The numbers below refer to the step numbers on the diagnostic table.

  1. This vehicle is equipped with a PCM which utilizes an Electrically Erasable Programmable Read Only Memory (EEPROM). When the PCM is being replaced, the new PCM must be programmed.

DTC P1554 - Cruise Control Status Circuit

Step

Action

Values

Yes

No

1

Did you perform the Powertrain On-Board Diagnostic (OBD) System Check?

--

Go to Step 2

Go to Powertrain On Board Diagnostic (OBD) System Check

2

Is DTC P1585 also set?

--

Go to DTC P1585 Cruise Control Inhibit Output Circuit

Go to Step 3

3

  1. Turn OFF the ignition.
  2. Disconnect the cruise control module.
  3. Turn ON the ignition, with the engine OFF.
  4. Using a DMM measure voltage between the cruise engaged circuit at the cruise control module harness connector and ground.

Does the voltage measure more than the specified value?

7 V

Go to Step 4

Go to Step 5

4

  1. Turn OFF the ignition.
  2. Reconnect the cruise control module.
  3. Disconnect the PCM.
  4. Turn ON the ignition, with the engine OFF.
  5. Probe the cruise engaged status circuit at the PCM harness connector with a test lamp connected to B+.

Does the test lamp illuminate?

--

Go to Step 7

Go to Step 8

5

  1. Test the cruise engaged circuit for an open or short to ground.
  2. If a problem is found, repair as necessary. Refer to Wiring Repairs in Wiring Systems.

Did you find and correct the condition?

--

Go to Step 6

Go to Step 8

6

Locate and repair short to ground in the cruise engaged circuit. Refer to Wiring Repairs in Wiring Systems.

Did you find and correct the condition?

--

Go to Step 9

--

7

Replace the cruise control module. Refer to Cruise Control Module Replacement in Cruise Control.

Did you complete the replacement?

--

Go to Step 9

--

8

Important:: The replacement PCM must be programmed.

Replace the PCM. Refer to Powertrain Control Module Replacement/Programming .

Did you complete the replacement?

--

Go to Step 9

--

9

  1. Use a scan tool to Clear the DTCs.
  2. Operate the vehicle within the Conditions for Running the DTC as specified in the supporting text.

Does the DTC reset?

--

Go to Step 2

System OK