GM Service Manual Online
For 1990-2009 cars only

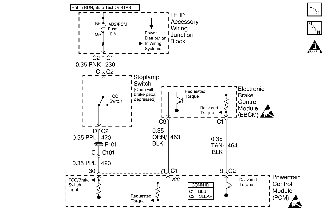
Object Number: 515394  Size: MF
Engine Controls Component Views
Engine Data Sensors-MAF, EVAP Vent, EVAP Purge, EGR
OBD II Symbol Description Notice
Handling ESD Sensitive Parts Notice
Handling ESD Sensitive Parts Notice

Circuit Description

The electronic brake and traction control module (EBTCM) controls the PWM signal on the Desired Torque circuit while monitoring the wheel speed sensors to detect slippage. The PCM monitors the PWM signal and reduces engine torque as needed by retarding ignition timing, decreasing boost duty cycle (Vin 1), increasing air/fuel ratio, or, in severe cases, shutting OFF up to three fuel injectors. The PCM sends a PWM signal to the EBTCM on the delivered torque circuit informing the EBTCM of response made to the desired torque signal. If the PCM detects a problem with the delivered torque circuit, DTC P1689 will set and traction control will be disabled. An ABS/TCS DTC may also be set. For further ABS/TCS DTC information, refer to ABS Description in Antilock Brake Systems.

Conditions for Running the DTC

The ignition is ON.

Conditions for Setting the DTC

    • An improper voltage level has been detected on output circuit for the traction control delivered torque output circuit.
    • The above conditions are present for at least 30 seconds.

Action Taken When the DTC Sets

The PCM stores conditions which were present when the DTC set as Failure Records only. This information will not be stored as Freeze Frame Records.

Conditions for Clearing the MIL/DTC

    • The DTC becomes history when the conditions for setting the DTC are no longer present.
    • The history DTC clears after 40 malfunction free warm-up cycles.
    • The PCM receives a clear code command from the scan tool.

Diagnostic Aids

Check for the following conditions:

    • Poor connection at the PCM -- Inspect harness connectors for the following conditions:
       - Backed out terminals
       - Improper mating
       - Broken locks
       - Improperly formed or damaged terminals
       - Poor terminal to wire connection
    • Damaged harness -- Inspect the wiring harness for damage.
    • If the harness appears to be OK, disconnect the PCM, turn ON the ignition and observe a Digital Multimeter connected between the Traction Control Delivered Torque control circuit and ground at the PCM harness connector while moving connectors and wiring harnesses related to the EBTCM. A change in voltage will indicate the location of the malfunction.

If the DTC cannot be duplicated and is determined to be intermittent, reviewing the Failure Records can be useful in determining when the DTC was last set. Also refer to Testing for Intermittent Conditions and Poor Connections in Wiring Systems.

Test Description

The numbers below refer to the step numbers on the diagnostic table.

  1. Normally, ignition feed voltage should be present on the control circuit with the PCM disconnected and the ignition turned ON.

  2. Checks for a shorted component or a short to B+ on the control circuit. Either condition would result in a measured current of over 500 milliamps. Also checks for a component that is going open while being operated, resulting in a measured current of 0 milliamps.

  3. Checks for a short to voltage on the control circuit.

  4. This vehicle is equipped with a PCM which utilizes an Electrically Erasable Programmable Read Only Memory (EEPROM). When the PCM is being replaced, the new PCM must be programmed.

DTC P1689 -- TCS Delivered Torque Control Circuit

Step

Action

Values

Yes

No

1

Did you perform the Powertrain On-Board Diagnostic (OBD) System Check?

--

Go to Step 2

Go to Powertrain On Board Diagnostic (OBD) System Check

2

  1. Turn OFF the ignition.
  2. Disconnect the PCM.
  3. Turn ON the ignition, with the engine OFF.
  4. Using a DMM, measure voltage between the delivered torque control circuit at the PCM harness connector and ground.

Does the voltage measure near the specified value?

B+

Go to Step 3

Go to Step 6

3

  1. Connect the DMM, to measure current between the delivered torque control circuit at the PCM harness connector and ground.
  2. Monitor the current reading for at least 2 minutes.

Does the current reading remain between the specified values?

0.001-0.5 Amp

(1-500 mA)

Go to Step 11

Go to Step 4

4

  1. Turn OFF the ignition.
  2. Disconnect the EBTCM, with the PCM disconnected.
  3. Turn ON the ignition, with the engine OFF.
  4. Using the DMM, measure voltage between the delivered torque control circuit and ground.

Does the voltage measure at the specified value?

0 V

Go to Step 10

Go to Step 5

5

Locate and repair short to voltage in the delivered torque control circuit. Refer to Wiring Repairs in Wiring Systems.

Did you find and correct the condition?

--

Go to Step 16

--

6

  1. Turn OFF the ignition.
  2. Inspect the ignition feed fuse for the EBTCM.

Is the fuse blown?

--

Go to Step 7

Go to Step 8

7

  1. Locate and repair short to ground in ignition feed circuit for the EBTCM. Refer to Wiring Repairs in Wiring Systems.
  2. Replace the fuse.

Did you find and correct the condition?

--

Go to Step 16

--

8

  1. Disconnect the EBTCM.
  2. Turn ON the ignition, with the engine OFF.
  3. Measure voltage between the ignition feed circuit for the EBTCM and ground.

Does the voltage measure near the specified value?

B+

Go to Step 9

Go to Step 13

9

  1. Test the delivered torque control circuit for an open or a short to ground.
  2. If a problem is found, repair the delivered torque control circuit. Refer to Wiring Repairs in Wiring Systems.

Did you find and correct the condition?

--

Go to Step 16

Go to Step 10

10

  1. Inspect for the following conditions:
  2. • The delivered torque control circuit for a poor connection at the PCM.
    • The delivered torque control circuit for a poor connection at the EBTCM.
    • The EBTCM ignition feed circuit for a poor connection at the EBTCM.
  3. If a problem is found, repair as necessary. Refer to Testing for Intermittent Conditions and Poor Connections and Connector Repairs in Wiring Systems.

Did you find and correct any conditions?

--

Go to Step 16

Go to Step 14

11

  1. Turn OFF the ignition.
  2. Reconnect the PCM.
  3. Disconnect the EBTCM.
  4. Turn ON the ignition, with the engine OFF.
  5. Connect a test lamp between the delivered torque control circuit and the ignition feed circuit at the EBTCM harness connector.
  6. Using the scan tool outputs test function, cycle the delivered torque output ON and OFF.

Does the test lamp flash ON and OFF?

--

Go to Diagnostic Aids

Go to Step 12

12

  1. Inspect the delivered torque control circuit for a poor connection at the PCM.
  2. If a problem is found, repair as necessary. Refer to Testing for Intermittent Conditions and Poor Connections and Connector Repairs in Wiring Systems.

Did you find and correct the condition?

--

Go to Step 16

Go to Step 15

13

Locate and repair open in ignition feed circuit to the EBTCM. Refer to Wiring Repairs in Wiring Systems.

Did you find and correct the condition?

--

Go to Step 16

--

14

Replace the EBTCM. Refer to Electronic Brake Control Module Replacement in Antilock Brake Systems.

Did you complete the replacement?

--

Go to Step 16

--

15

Important:: The replacement PCM must be programmed.

Replace the PCM. Refer to Powertrain Control Module Replacement/Programming .

Did you complete the replacement?

--

Go to Step 16

--

16

  1. Use a scan tool to Clear the DTCs.
  2. Operate the vehicle within the Conditions for Running the DTC as specified in the supporting text.

Does the DTC reset?

--

Go to Step 2

System OK