GM Service Manual Online
For 1990-2009 cars only
Makes
🢒
Chevrolet
🢒
2001
🢒
Impala
🢒
Body and Accessories
🢒
Wiring Systems
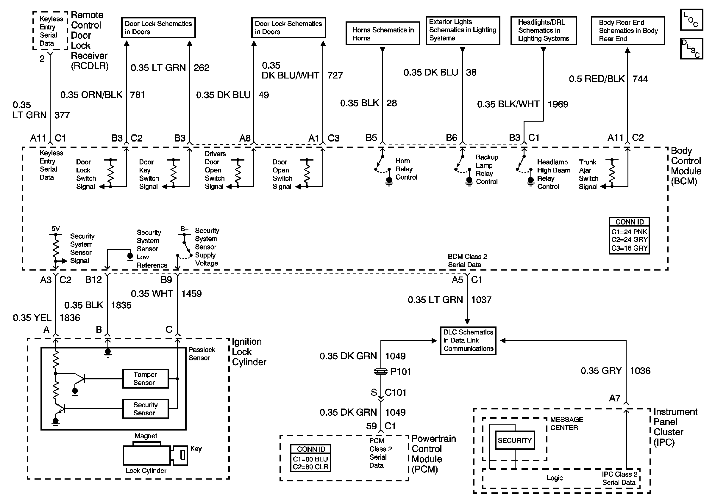
🢒 Theft Deterrent System Schematics
Master Electrical Component List
Theft Systems Description and Operation
Lock Switches
Door Open Switches (Left)
1/1
Backup Lamps
Indicator, and Lamp Control
Decklid Release (W/Entrapment Protection)
DLC Schematics