GM Service Manual Online
For 1990-2009 cars only
Makes
🢒
Chevrolet
🢒
2002
🢒
Impala
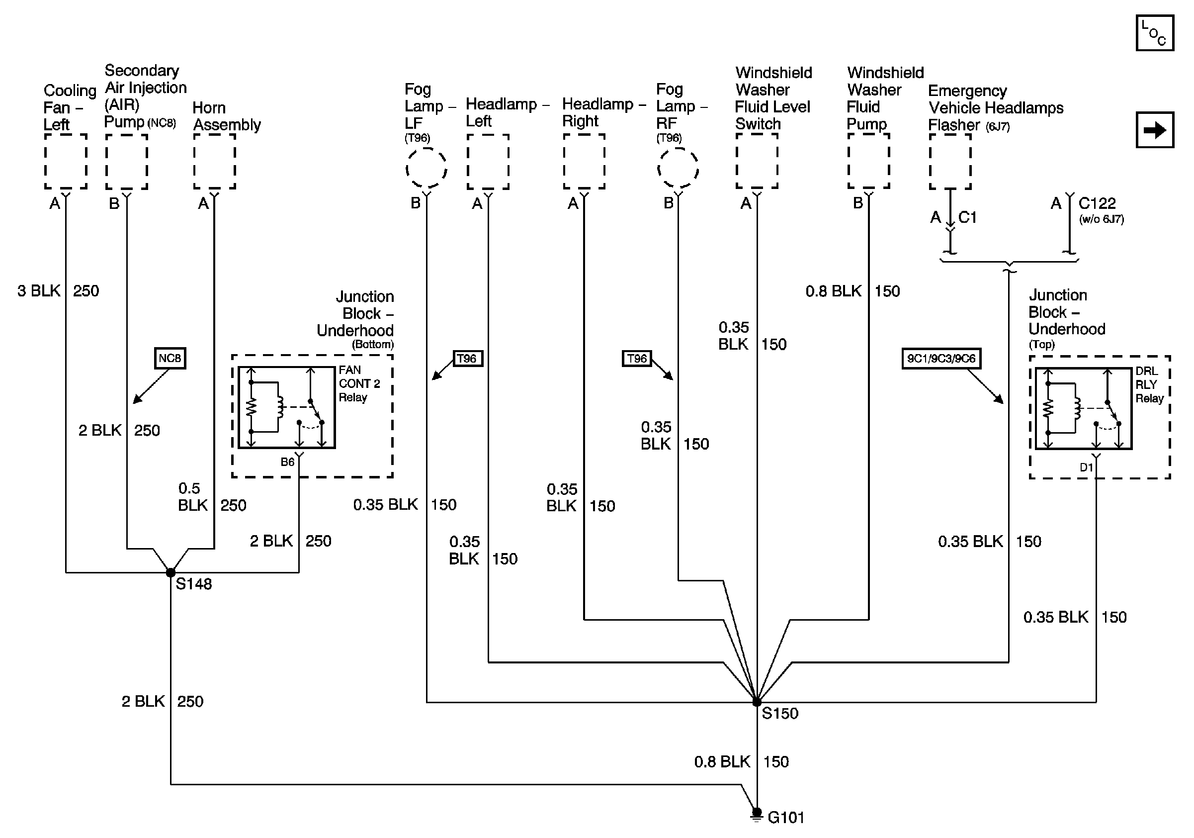
🢒 G101
G101
G101
Master Electrical Component List
G100, G111, G113 (1 of 2), G117, and G151