GM Service Manual Online
For 1990-2009 cars only
Makes
🢒
Chevrolet
🢒
2002
🢒
Impala
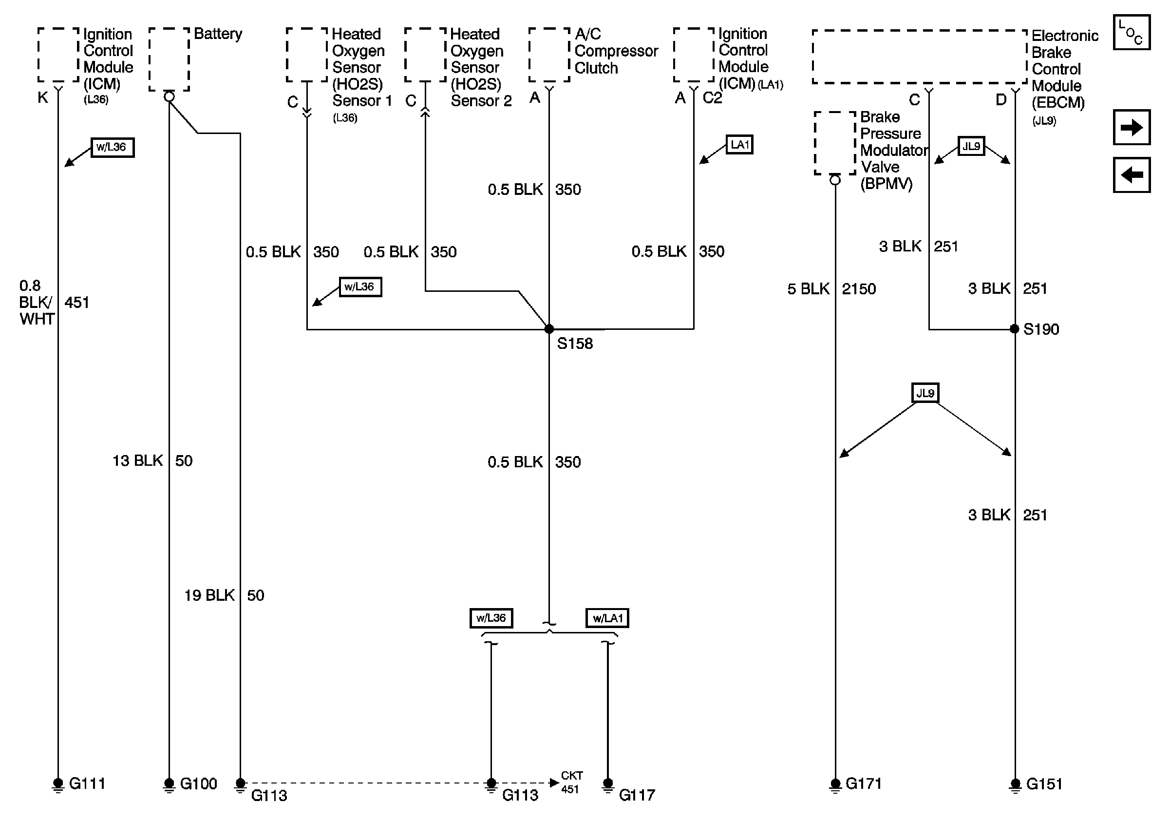
🢒 G100, G111, G113 (1 of 2), G117, and G151
G100, G111, G113 (1 of 2), G117, and G151
G100, G111, G113 (1 of 2), G117,G151, and G171
Master Electrical Component List
G113 (2 of 2)
G101
G113 (2 of 2)