GM Service Manual Online
For 1990-2009 cars only
Makes
🢒
Chevrolet
🢒
2002
🢒
Impala
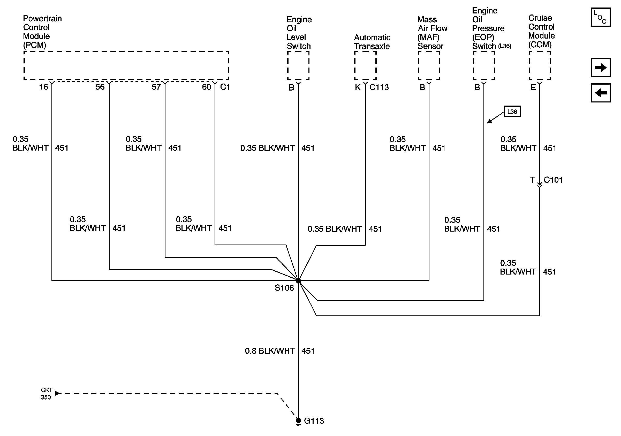
🢒 G113 (2 of 2)
G113 (2 of 2)
G113 (2 of 2)
Master Electrical Component List
G201 (1 of 2)
G100, G111, G113 (1 of 2), G117, and G151
G100, G111, G113 (1 of 2), G117, and G151