GM Service Manual Online
For 1990-2009 cars only
Makes
🢒
Chevrolet
🢒
2002
🢒
Impala
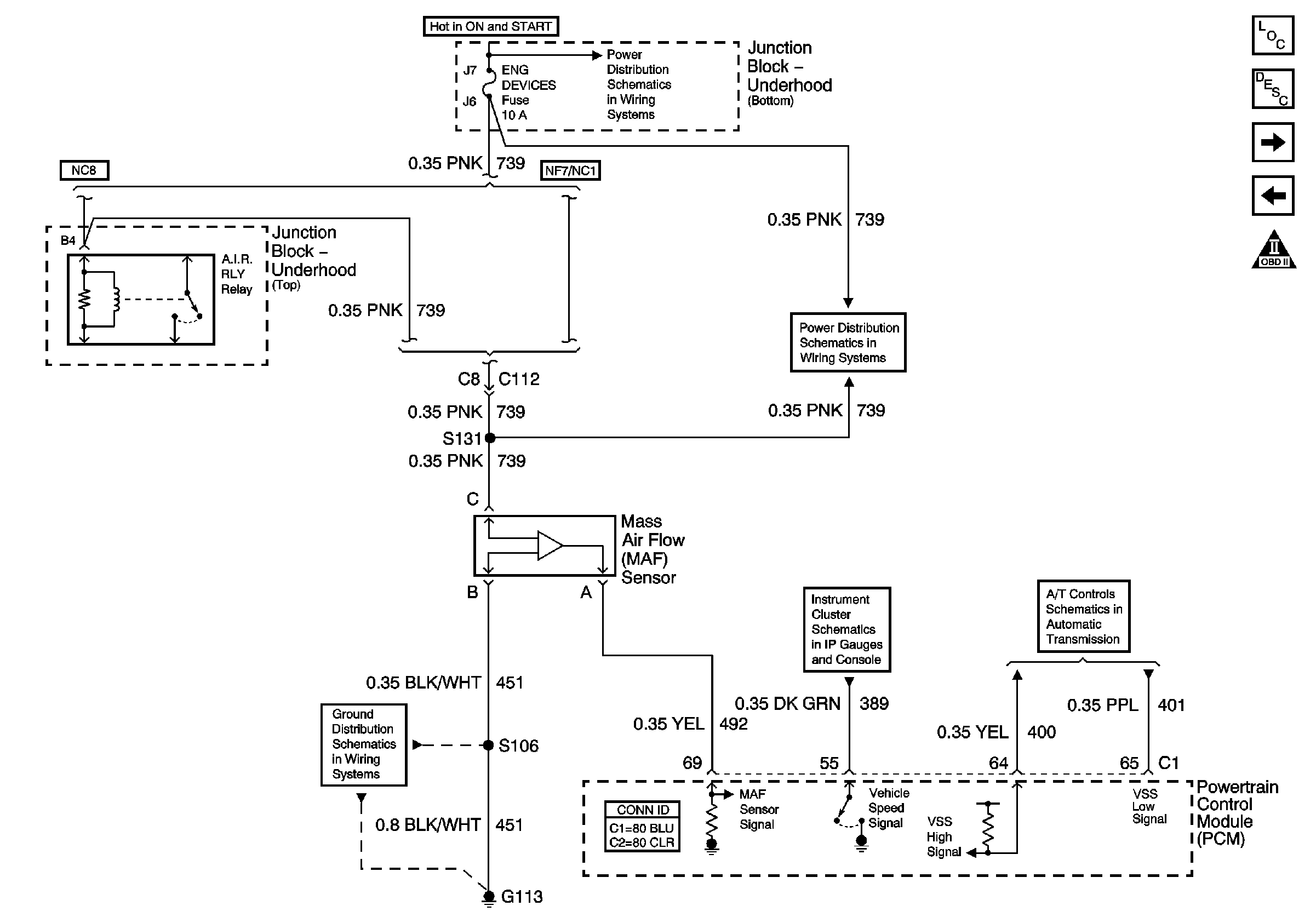
🢒 MAF and VSS
MAF and VSS
MAF and VSS
Master Electrical Component List
Electronic Ignition (EI) System Description
HO2S
ECT, IAT, MAP, and TP Sensors
Engine Controls Schematic Icons
Junction Block - Underhood (Bottom) Bussing
DFI MDL, ENG DEVICES, and OXY SEN Fuses
Ground, Odometer/PRNDL, Power, and VSS
G113 (2 of 2)
ISS, Pressure Control, Switches, and VSS