GM Service Manual Online
For 1990-2009 cars only
Makes
🢒
Chevrolet
🢒
2005
🢒
Impala
🢒 A/T References
A/T References
A/T References
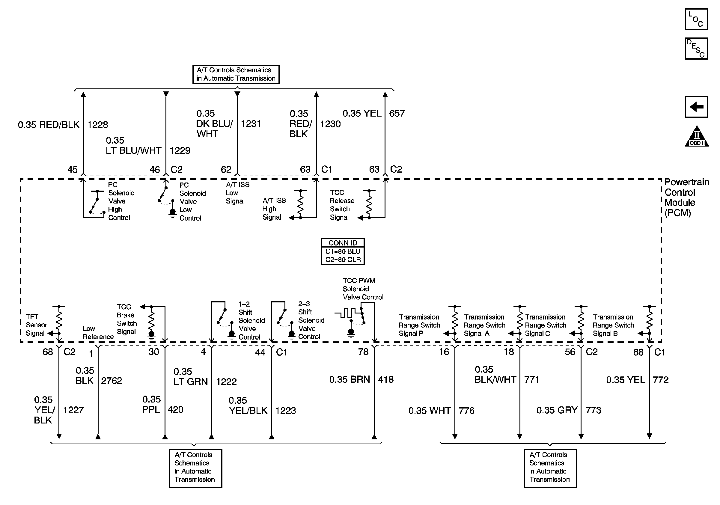
Master Electrical Component List
Powertrain Control Module Description
Subsystem References
OBD II Symbol Description Notice
ISS, Pressure Control Solenoid Valve, and VSS
Soleniods, TCC, and TFT
Internal Mode Switch (IMS)