GM Service Manual Online
For 1990-2009 cars only
Makes
🢒
Chevrolet
🢒
2005
🢒
Impala
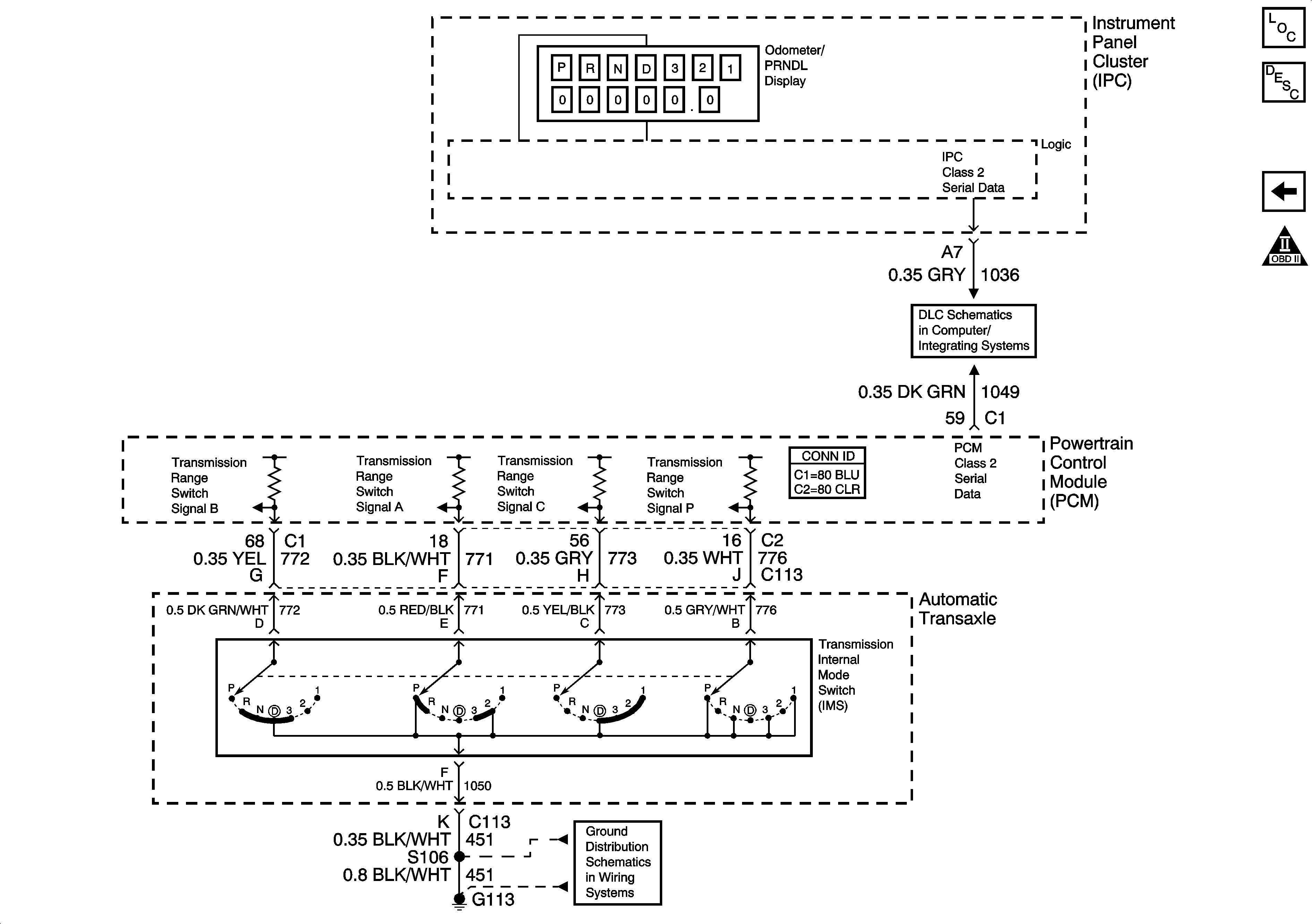
🢒 Internal Mode Switch (IMS)
Internal Mode Switch (IMS)
Internal Mode Switch (IMS)
Master Electrical Component List
Transmission Component and System Description
ISS, Pressure Control Solenoid Valve, and VSS
OBD II Symbol Description Notice
DLC
G113 - 2 of 2