GM Service Manual Online
For 1990-2009 cars only
Makes
🢒
Chevrolet
🢒
2000
🢒
Lumina
🢒
Brakes
🢒
Antilock Brake System
🢒 Antilock Brake System Schematics
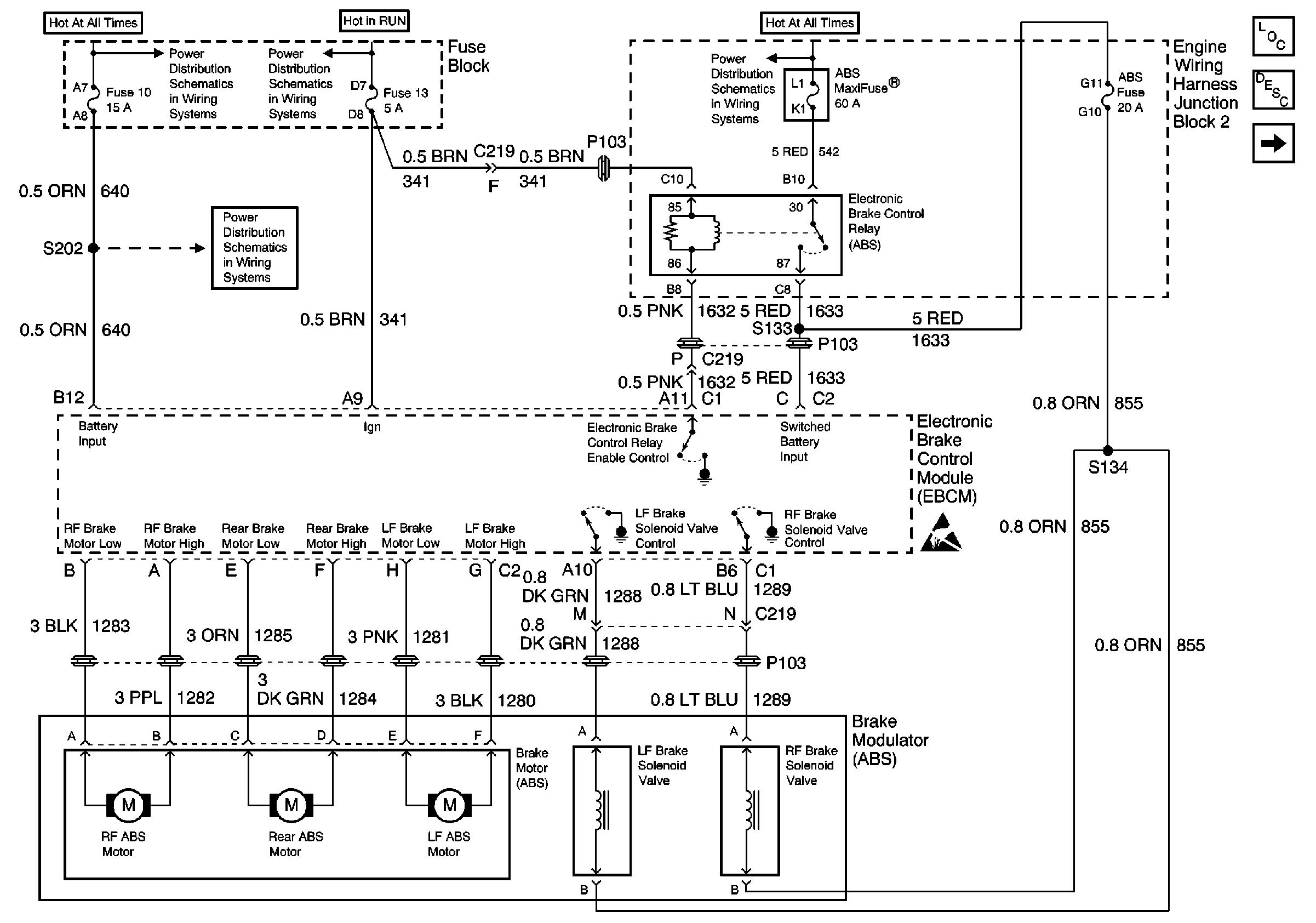
Figure
1:
Power, EBCM and Brake Modulator
Fuses 10 and 19
Fuses 4, 13, and 22
Fuses 10 and 19
Maxifuses 1, 2, 3 and 4, Fuses 1, 5, 10, 14, 19, 23, 28, 32, 37 and41, PCM BAT and R/CMPT Fuses, Circuit Breaker D, and FAN CONT #1 Relay
Handling ESD Sensitive Parts Notice
ABS Components
ABS Description
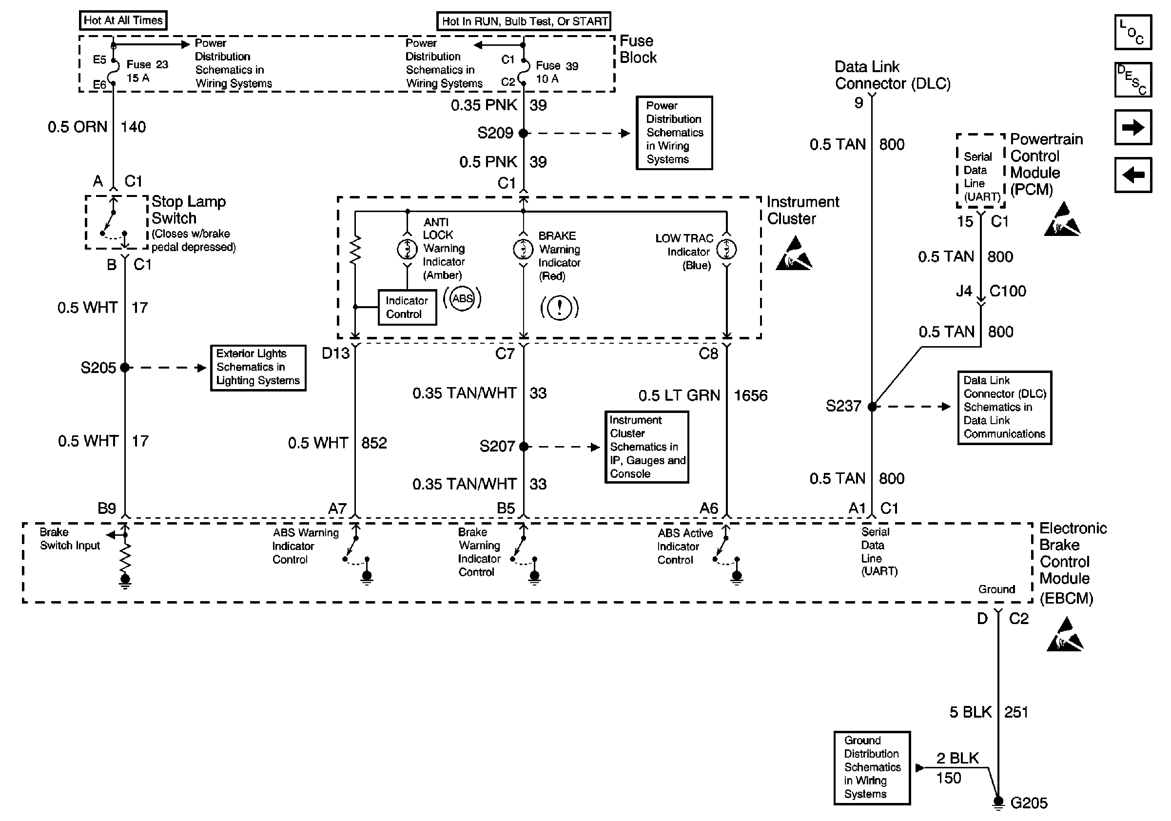
Power, EBCM, Instrument Cluster, DLC, PCM and Ground
Figure
2:
Power, EBCM, Instrument Cluster, DLC, PCM and Ground
Fuses 5, 14, 23, 32, 33 41, and 42
Fuses 12, 21, 30 and 39
Fuses 12, 21, 30 and 39
Handling ESD Sensitive Parts Notice
Handling ESD Sensitive Parts Notice
Fuse Distribution, Flasher and Turn Signal Switch
IPC ECM, Park Brake, SDM, Brake Fluid Level Switch and Engine Coolant LeVel Indicator Inputs
DLC Schematic
G205 (1 of 2)
Handling ESD Sensitive Parts Notice
ABS Components
ABS Description
Wheel Speed Sensors
Power, EBCM and Brake Modulator
Figure
3:
Wheel Speed Sensors
Handling ESD Sensitive Parts Notice
ABS Components
ABS Description
Power, EBCM, Instrument Cluster, DLC, PCM and Ground