GM Service Manual Online
For 1990-2009 cars only
Figure 1:

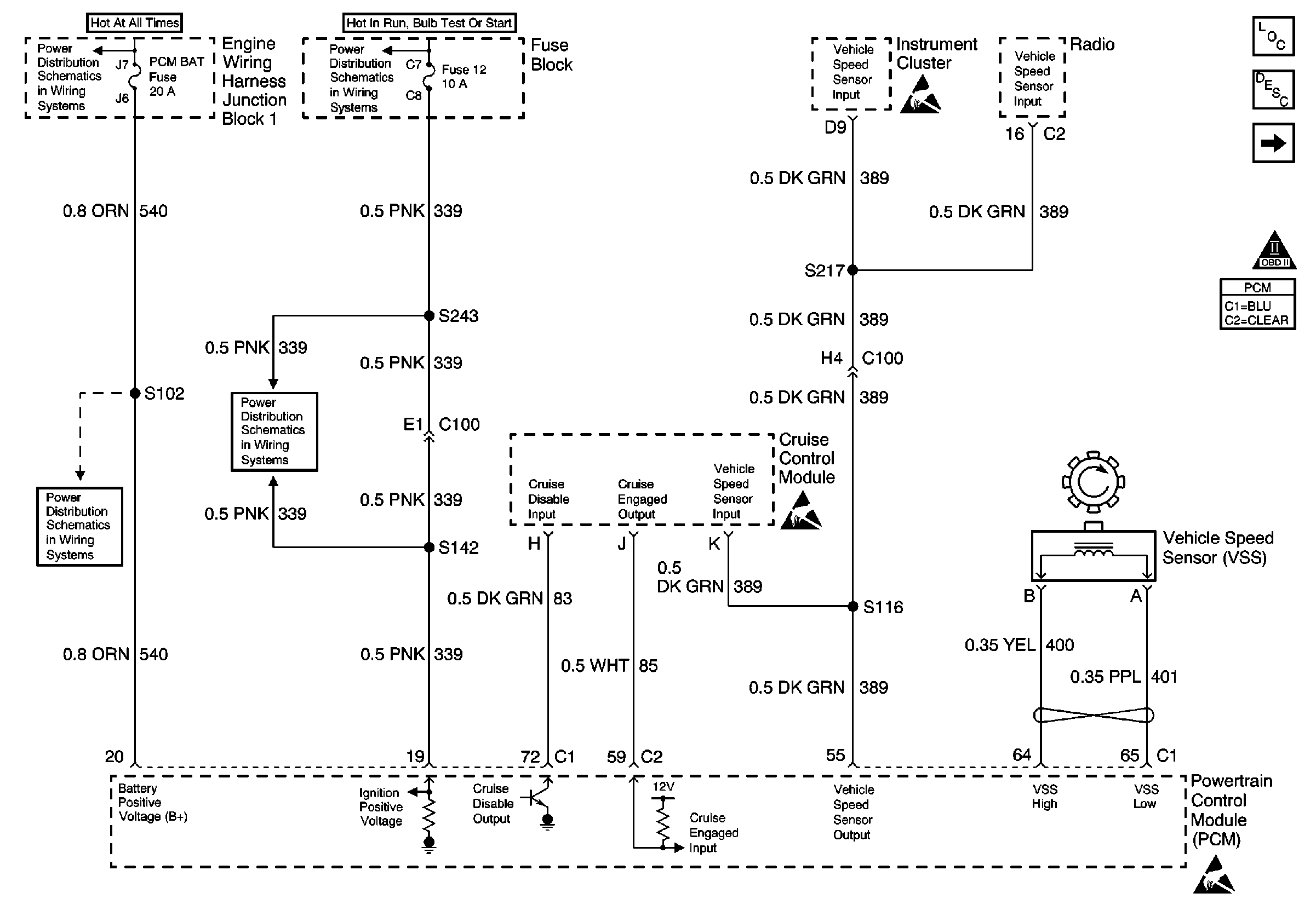
Power, VSS, CCM, Radio, I/P and PCM


Object Number: 588399  Size: FS
PCM BAT and R/CMPT REL Fuses
Fuses 12, 21, 30 and 39
Handling ESD Sensitive Parts Notice
PCM BAT and R/CMPT REL Fuses
Fuses 12, 21, 30 and 39
Handling ESD Sensitive Parts Notice
Handling ESD Sensitive Parts Notice
Automatic Transmission Components
Transmission Component and System Description
Sensor Inputs and Valve Controls
OBD II Symbol Description Notice
Figure 2:

Sensor Inputs and Valve Controls


Object Number: 588404  Size: FS
Fuses 12, 21, 30 and 39
Fuses 12, 21, 30 and 39
TRANS, A/C CONT, AIR PUMP Fuses
Handling ESD Sensitive Parts Notice
Automatic Transmission Components
Transmission Component and System Description
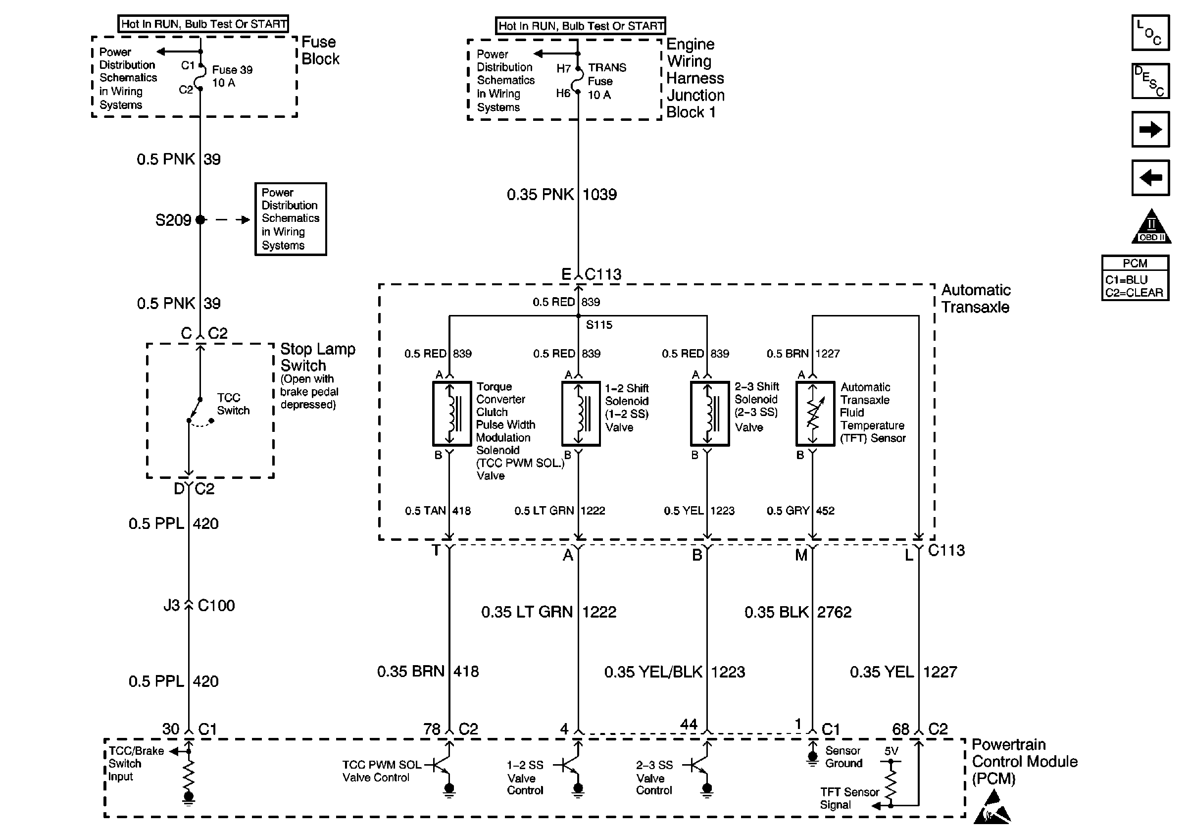
Automatic Transaxle and PCM
Automatic Transaxle and PCM
OBD II Symbol Description Notice
Figure 3:

Automatic Transaxle and PCM


Object Number: 588406  Size: FS
Handling ESD Sensitive Parts Notice
Handling ESD Sensitive Parts Notice
Automatic Transmission Components
Transmission Component and System Description
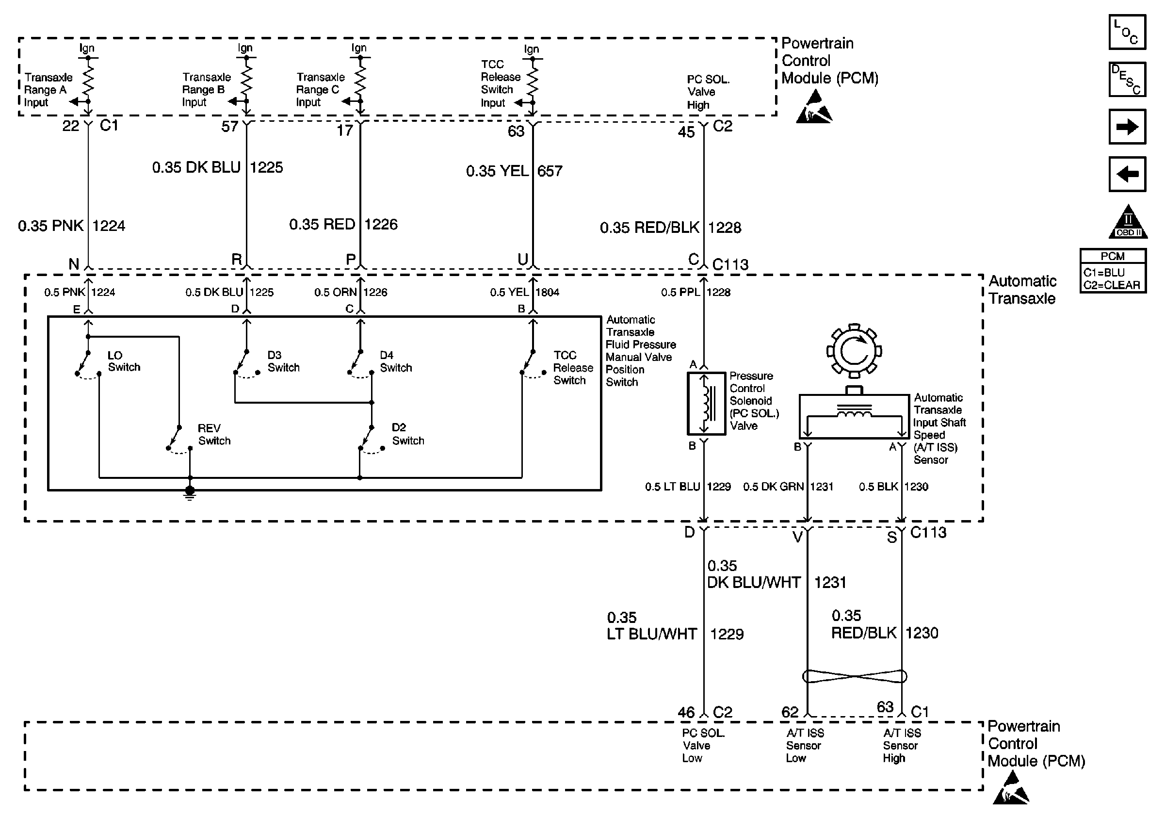
Park/Neutral Position Switch and PCM Inputs
Sensor Inputs and Valve Controls
OBD II Symbol Description Notice
Figure 4:

Park/Neutral Position Switch and PCM Inputs


Object Number: 588410  Size: FS
G113
Handling ESD Sensitive Parts Notice
Automatic Transmission Components
Transmission Component and System Description
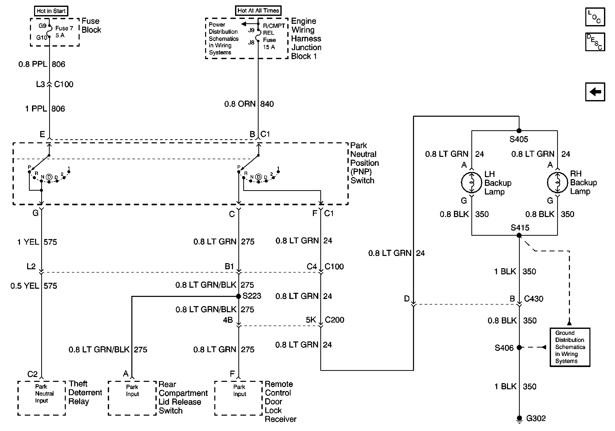
Park/Neutral Position Switch, Backup Lamps and Theft Deterrent
Automatic Transaxle and PCM
OBD II Symbol Description Notice
Figure 5:

Park/Neutral Position Switch, Backup Lamps and Theft Deterrent


Object Number: 588415  Size: FS
PCM BAT and R/CMPT REL Fuses
G302 (2 of 2)
Automatic Transmission Components
Transmission Component and System Description
Park/Neutral Position Switch and PCM Inputs