GM Service Manual Online
For 1990-2009 cars only
Makes
🢒
Chevrolet
🢒
2000
🢒
Lumina
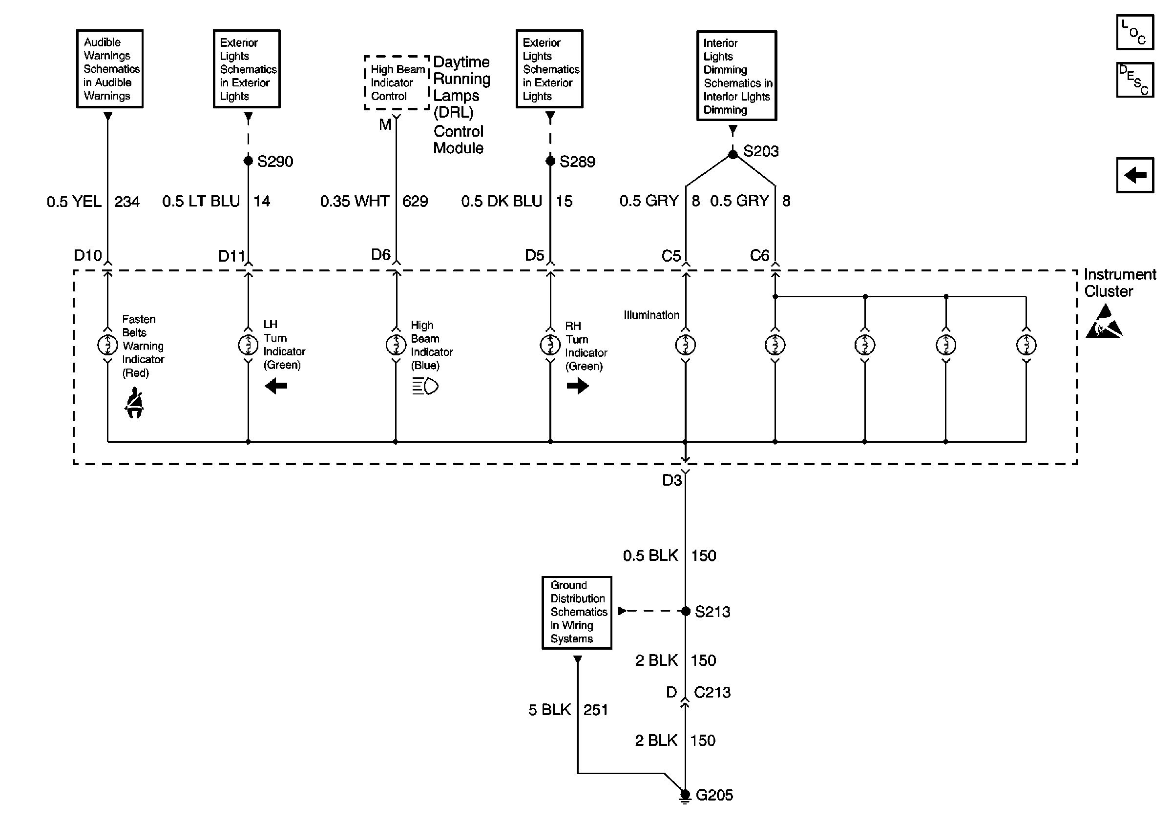
🢒 LH and RH Turn Indicator, High Beam Indicator and IPC Illumination
LH and RH Turn Indicator, High Beam Indicator and IPC Illumination
LH and RH Turn Indicator, High Beam Indicator and IPC Illumination
Instrument Panel, Gages, and Console Component Views
Instrument Cluster Circuit Description
IPC Engine Oil Pressure Indicator, Theft Inputs and PCM MIL Outputs
Audible Warnings Pwr, Headlamp Sw, Ign Key Warn Sw, LF Door Lock, Grnd
Fuse Distribution, Headlamp Switch, Instrument Cluster, Park/Turn Signal and Side Marker Lamps
Fuse Distribution, Headlamp Switch, Instrument Cluster, Park/Turn Signal and Side Marker Lamps
Fuse Distribution, Headlamp Switch, Instrument Cluster, Instrument Panel Flood Lamp and HVAC Control
Handling ESD Sensitive Parts Notice
G205 (1 of 2)