GM Service Manual Online
For 1990-2009 cars only
Makes
🢒
Chevrolet
🢒
2000
🢒
Lumina
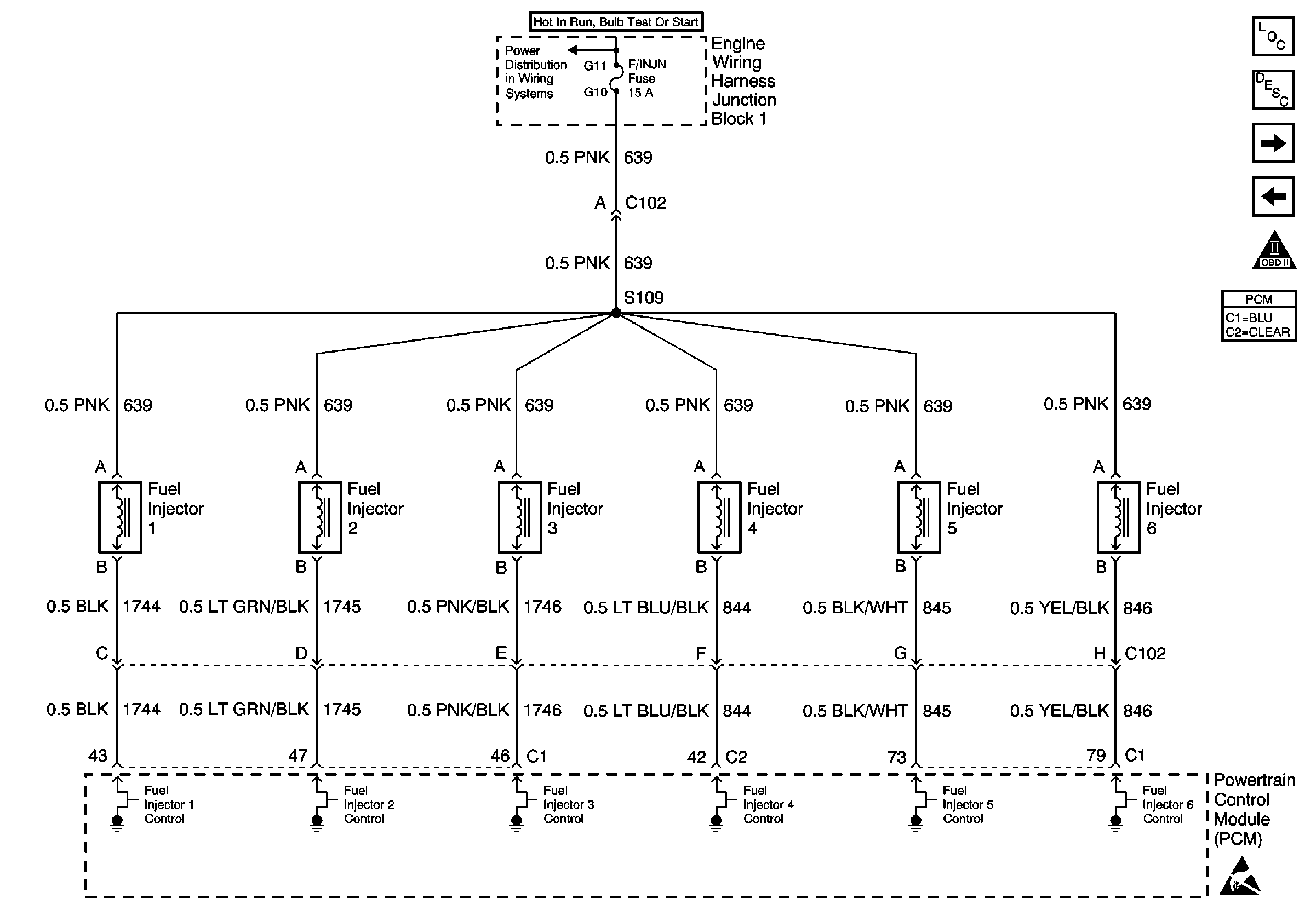
🢒 Fuel Injectors
Fuel Injectors
Fuel Injectors
F/INJN, PCM IGN, ELEK IGN Fuses
Handling ESD Sensitive Parts Notice
Engine Controls Components
Powertrain Control Module Description
A/C Refrigerant Pressure, TP, MAP, ECT, and IAT
Fuel Controls
OBD II Symbol Description Notice