GM Service Manual Online
For 1990-2009 cars only
Makes
🢒
Chevrolet
🢒
2000
🢒
Lumina
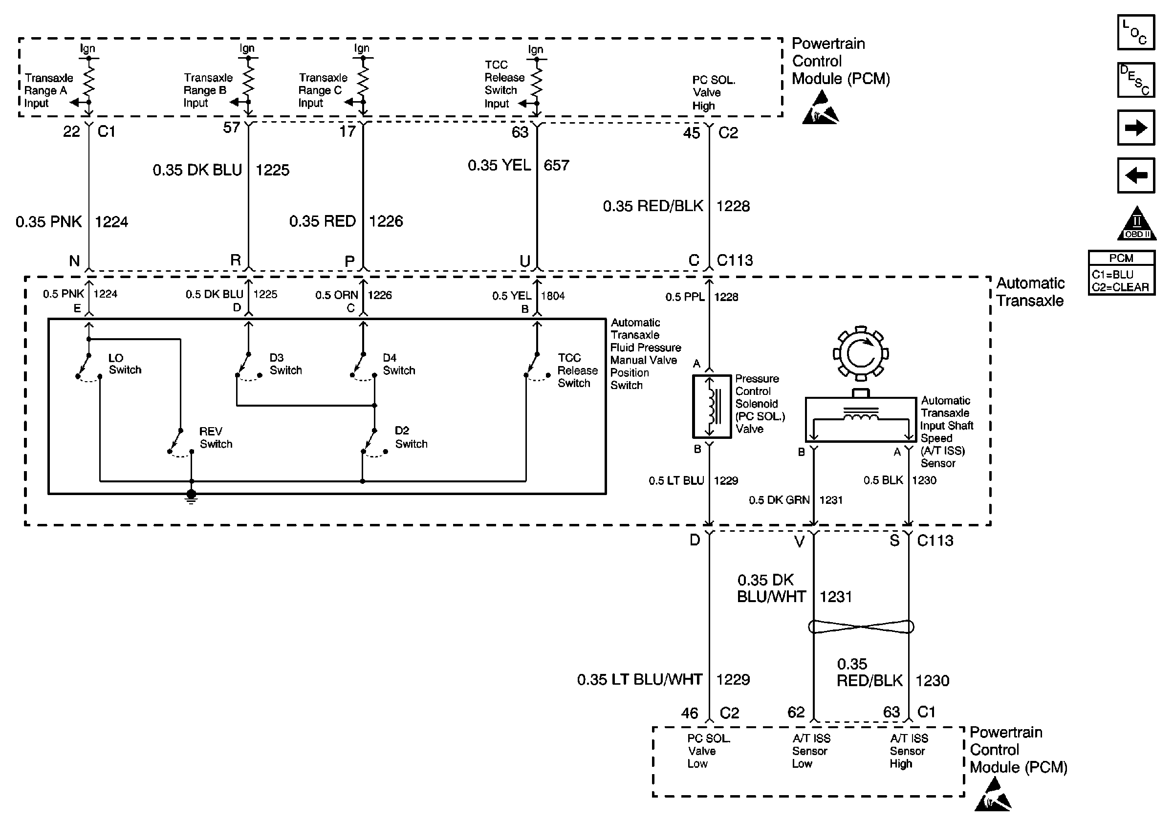
🢒 Automatic Transaxle Inputs
Automatic Transaxle Inputs
Automatic Transaxle Inputs
Handling ESD Sensitive Parts Notice
Handling ESD Sensitive Parts Notice
Engine Controls Components
Powertrain Control Module Description
Heater A/C Controls
Automatic Transaxle and Stop Lamp Switch
OBD II Symbol Description Notice